TURBOCHARGER (w/ DPF) SYSTEM DESCRIPTION

This section should be used as a guide for troubleshooting when the turbocharger is suspected as the cause of a problem.


  1. OUTLINE OF TURBOCHARGER FAILURE


    1. State of Turbocharger Failure Repair

      It is well known that turbocharger malfunctions cause many symptoms, such as those shown below. However, the mechanisms resulting in these symptoms that indicate turbocharger malfunctions are not well understood. As a result, many unnecessary turbocharger replacements and other repairs are performed due to lack of knowledge about the turbocharger and turbocharger failure. Therefore, knowing the facts regarding turbocharger malfunctions is useful for making effective repairs and saving time.

    2. Turbocharger Failure Classification

      Symptom Symptom Description See page
      Noise Whistling noise Continuous high pitch noise proportional to engine speed
      • "NOISE" listed below

      • Flowchart "Turbocharger Noise" Click here

      Whining noise Relatively low pitch noise compared to whistling noise
      Oil leak External oil leak Oil leak on surface of turbocharger visible from outside of turbocharger
      • "OIL LEAK AND WHITE SMOKE" listed below

      • Flowchart "Turbocharger Oil Leak and White Smoke" Click here

      Internal oil leak Oil leak from inside of bearing housing to inside of either compressor housing or turbine housing through seal ring
      White smoke Oil smoke Oil smoke is emitted from exhaust pipe
      Unburned fuel smoke Unburned fuel smoke is emitted from exhaust pipe
      Lack of power or hesitation Vehicle does not reach target speed
      • "LACK OF POWER AND HESITATION" listed below

      • Flowchart "Lack of Power or Hesitation" Click here

      Poor acceleration
      Shock during acceleration
      MIL turns on P0046 Control Solenoid Circuit Range / Performance

      Diagnostic Trouble Code Chart Click here

      P0047 Boost Control "A" Circuit Low
      P0048 Boost Control "A" Circuit High
      P0299 Turbocharger / Supercharger Underboost
      P1251 Overboost Condition (Too High)
      P2564 Position Sensor "A" Circuit Low
      P2565 Position Sensor "A" Circuit high

      Tech Tips

      This table shows only typical problems related to the turbocharger.

  2. NOISE

    Description
    Probable Cause Probable Failed Component
    Turbine shaft imbalance Turbocharger
    Leakage from intake line Intake line

    Gear noise

    (Mistaken for turbocharger noise)


    • Balance shaft gear

    • Transmission gear

    • Vacuum pump gear

    Tech Tips

    It is easy to confirm whether the turbocharger is the cause of the noise or not, and confirming this before inspecting the turbocharger or removing it from the engine is an effective way to reduce troubleshooting time.


    1. Connect the intelligent tester to the DLC3.

    2. Start the engine and warm it up.

    3. Turn the tester on.

    4. Enter the following menus: Powertrain / Engine / Active Test / Activate the VN Turbo Open.

      Result Cause of Noise
      The noise is reduced (or disappears) Turbocharger
      The noise does not change Not turbocharger (other parts)

      Tech Tips

      For details regarding the troubleshooting of noise, refer to the following Click here.

  3. OIL LEAK AND WHITE SMOKE

    Description
    Oil Leak Type Description Main Trouble Area

    Internal oil leak

    (White smoke)


    • Oil leak from bearing housing to either compressor housing (intake side) or turbine housing (exhaust side) through seal rings

    • This type of oil leak is not visible from outside of turbocharger

    • If oil leak occurs from turbine side seal, large amount of white smoke is emitted from exhaust side


    • Compressor side seal ring

    • Turbine side seal ring

    • Clogging of oil drain

    • Shaft breakage

    • Shaft or bearing seizure

    • Compressor impeller damage

    External oil leak
    • Oil leak from inside of turbocharger to outside of turbocharger

    • Includes oil leaks visible from outside of turbocharger


    • Seal packing

    • Oil pipe flange

    • Oil pipe union

    • Hose connection of intake pipe

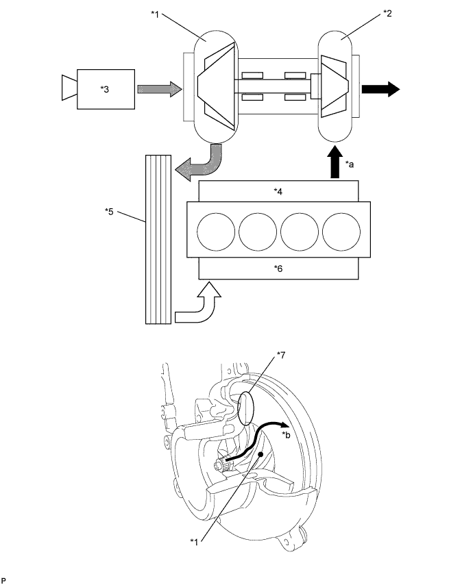
    A01KF6FE01
    Text in Illustration
    *1 Compressor Housing *2 Seal Ring
    *3 Compressor Inlet *4 Compressor Impeller
    *5 Bearing Housing *6 Shaft
    *7 Oil Drain (Outlet) *8 Seal packing
    *9 Turbine Housing *10 Turbine Wheel
    *a Internal oil leak to turbine housing *b Internal oil leak to compressor housing

    Tech Tips


    • When there is an internal oil leak, white smoke is emitted from the exhaust pipe and oil is consumed excessively. However, the cause of white smoke or excessive oil consumption can vary. Therefore, do not assume that the turbocharger is the cause of the failure when there is white smoke emission or excessive oil consumption.

    • When there is an external oil leak, the sources of the oil leak are limited to the points listed in the table above. If oil leaks from seal packing, replace the turbocharger. If oil leaks from an oil pipe flange or a hose connection, do not replace the turbocharger, but confirm and repair the flange or hose.

    • For details regarding the troubleshooting of oil leaks and white smoke, refer to the following Click here.

  4. LACK OF POWER AND HESITATION


    1. Malfunctions are classified into 2 types as shown below.

      Description
      Malfunction Main Fault
      Intake air volume shortage Insufficient mass air flow due to, for example, excessively low boost pressure, which results in fuel injection volume being restricted
      Abnormal injection volume Abnormal injection volume or timing due to fuel system trouble
    2. Main Components Related to Lack of Power and Hesitation

      Possible Faulty Component Main Fault
      Turbocharger
      • Abnormal boost pressure

      • VN does not move smoothly

      Intake system
      • Leakage between turbocharger and intake manifold

      • Clogging or blockage of intake line

      Fuel system
      • Abnormal injection volume

      • Incorrect fuel injection timing

      EGR valve Stuck or does not move smoothly
      Diesel throttle Stuck or does not move smoothly
      Exhaust system Clogging of exhaust line

      Tech Tips

      The components listed above are only the main components. Not all the components potentially related to lack of power and hesitation are listed. For details regarding the troubleshooting of lack of power and hesitation, refer to the following Click here.

    3. Relation between Turbocharger and Abnormal Boost Pressure

      If the boost pressure is below normal due to a turbocharger failure, lack of power could occur due to an intake air volume shortage. However, abnormal boost pressure can be caused by the failure of various components, such as intake lines, the EGR valve, etc. Therefore, do not assume that the turbocharger is the cause of abnormal boost pressure, but check all the components possibly related to abnormal boost pressure. Components related to abnormal boost pressure are shown in a chart Click here. For simple and effective troubleshooting, refer to the chart before starting troubleshooting.

  5. MIL TURNS ON

    If a DTC related to a turbocharger malfunction is output, refer to the troubleshooting section for each DTC Click here.

  6. BRIEF OUTLINE OF TURBOCHARGER OPERATION AND CONSTRUCTION


    1. A turbocharger is a component used to supply a larger air volume to the cylinders by recovering exhaust gas energy using a turbine coaxially connected to a compressor.

    2. Principle of Turbocharging

      Boost pressure is proportional to turbocharger speed, because the intake air is accelerated by centrifugal force generated by the rotation of the compressor and the increased kinetic energy, i.e. the velocity of the intake air, is converted to pressure energy by the diffuser located around the outlet of the compressor impeller. The compressor is driven by the turbine connected coaxially to the turbine shaft. The turbine is driven by exhaust gas energy. Therefore, when the turbocharger begins boosting the intake air, a larger air volume is supplied to the cylinders and more fuel can be injected. As a result, more exhaust energy is available and the turbocharger boost increases.

      A01KHALE05
      Text in Illustration
      *1 Compressor *2 Turbine
      *3 Air Cleaner *4 Exhaust Manifold
      *5 Intercooler *6 Intake Manifold
      *7 Diffuser - -
      *a See HINT below *b Intake air flow

      Tech Tips


      • *a: If sufficient exhaust gas energy is not available, the turbocharger cannot generate the required boost pressure even when the turbocharger does not have a malfunction.

      • Considering the fact that the turbocharger is driven by exhaust gas energy, if sufficient exhaust gas is not available due to abnormal injection volume, etc., the required boost pressure will not be available even when the turbocharger does not have a malfunction. Therefore, when boost pressure is abnormally low, checking all the related components using the correct troubleshooting procedure is necessary for simple and effective repair.

    3. Boost Pressure Control

      The amount of energy the turbine can obtain from the exhaust gas is proportional to the expansion ratio, which is defined as the ratio of the turbine inlet exhaust gas pressure to the pressure at the turbine outlet. To control boost pressure, a Variable Nozzle (VN) is used just upstream of the turbine wheel inlet, and controls the expansion ratio. If the VN is closed, the gap between neighboring vanes is narrowed and the turbine inlet exhaust gas pressure, and correspondingly the expansion ratio, increases. Therefore, when the VN is closed, the turbine receives more energy, and the turbine speed and boost pressure increase. If the VN is opened, the turbine inlet exhaust gas pressure decreases and the turbine speed and boost pressure decrease.

      A01KI79E04
      Text in Illustration
      *1 VN (Variable Nozzle) *2 Turbine Wheel
      *3 Narrow Gap *4 Wide Gap
      *a VN Closed *b VN Open
      *c Exhaust Gas Flow - -

      Tech Tips

      If the VN is stuck open, the necessary boost pressure is not available. If the VN is stuck closed, overboost occurs.

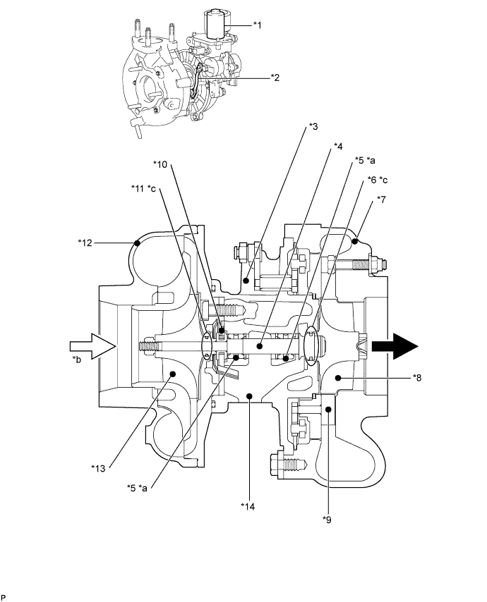
    4. Mechanical Construction of Turbocharger

      A01KIE3E06
      Text in Illustration
      *1 DC Motor *2 VN Actuating Rod
      *3 Bearing Housing *4 Turbine Shaft
      *5 Radial Bearing *6 Turbine Side Seal Ring
      *7 Turbine Housing *8 Turbine Wheel
      *9 VN (Variable Nozzle) *10 Thrust Bearing
      *11 Compressor Side Seal Ring *12 Compressor Housing
      *13 Compressor Impeller *14 Oil Drain
      *a See HINT below *b See HINT below
      *c See HINT below - -
      A01KFFI Exhaust Gas Flow A01KGZT Intake Air Flow

      Tech Tips


      • *a: The clearances of the radial bearing and thrust bearing are on the order of 100 μm, and for the accurate measurement of these clearances, an accurate process and accurate tools are essential.

      • *b: A certain amount of oil mist from PCV gas is contained in the intake air. Therefore, a certain amount of oil at the inlet of the compressor is normal, and is not an oil leak.

      • *c: The seal rings are C-shaped rings, like piston rings, and have a gap. Therefore, complete sealing is impossible by the seal rings alone. Oil is sealed in with the aid of the boost pressure in the compressor housing and the exhaust gas pressure in the turbine housing. These pressures prevent oil from exiting the bearing housing through the gap of the seal rings. Therefore, if the turbine shaft is inclined from the horizontal, oil may flow out through the gap of a seal ring. This should not be interpreted as an oil leak due to seal ring failure.