FUEL INJECTION PUMP ADJUSTMENT


  1. PRE-TEST CHECK AND PREPARATION


    1. The specifications for test nozzle and nozzle holders are as follows.

      Test nozzle
      DN12SD12 (DENSO)
      Test nozzle opening pressure
      14220 to 15200 kPa (145 to 155 kgf*cm2, 2062 to 2205 psi)
    2. Check the accuracy of the tachometer.

      Allowable error
      610 to 790 rpm
    3. A01KESU

      Install the angle gauge stand.

    4. Mount the injection pump body on the pump tester.

      Tech Tips

      Place a mark on the key groove portion of the coupling.

    5. A01KI19

      Install an injection pipe with these specifications.

      Outer diameter 6.0 mm (0.236 in.)
      Inner diameter 2.0 mm (0.079 in.)
      Length 840 mm (33.07 in.)
      Minimum bending radius 25 mm (0.98 in.) or more
    6. Remove the fuel inlet hollow screw.

    7. A01KHOWE01
      Text in Illustration
      *1 Fuel Inlet Hollow Screw
      *2 Fuel Inlet Pipe

      Connect the fuel inlet pipe with an adapter.

      Torque:
      26.55 N*m  { 260 kgf*cm, 19 ft.*lbf }
    8. A01KFYVE01
      Text in Illustration
      *A w/ HAC
      *B w/o HAC

      Install an overflow hose with the 2 gaskets and an overflow screw.

      Torque:
      26.55 N*m  { 260 kgf*cm, 19 ft.*lbf }

      Tech Tips

      Always use the overflow screw installed on the pump for adjustment.

    9. A01KGA9E01
      Text in Illustration
      *1 5 mm Hexagon Wrench
      *2 Timer Measuring Device
      *3 Air Bleed Screw

      Using a 5 mm hexagon wrench, remove the 2 bolts and RH timer cover.

    10. Install the inner pressure gauge with the timer measuring device.

      Part No. 95095-10231, 95095-10480 (DENSO)

      Torque:
      8.35 N*m  { 85 kgf*cm, 74 in.*lbf }

      Tech Tips

      Bleed the air by the air bleed screw.

    11. Connect SST (turbocharger pressure gauge) to the boost compensator.

      A01KGQTE01
      Text in Illustration
      *A w/ HAC - -
      *1 Vacuum Gauge *2 Inner Pressure Gauge
      *3 Fuel Pressure Gauge *4 Nozzle
      *5 Adjusting Valve *6 Fuel Filter
      *7 Fuel Feed Pump *8 Measuring Cylinder
      *9 Timer Measuring Device *10 Fuel Tank
      A01KH5EE02
      Text in Illustration
      *A w/o HAC - -
      *1 Inner Pressure Gauge *2 Fuel Pressure Gauge
      *3 Nozzle *4 Adjusting Valve
      *5 Fuel Filter *6 Fuel Feed Pump
      *7 Measuring Cylinder *8 Timer Measuring Device
      *9 Fuel Tank - -
      SST
      09992-00242
    12. Apply about 6 bolts of DC power to the fuel cut solenoid.

      Tech Tips


      • When applying voltage to the solenoid, position the battery as far away from the solenoid as possible so that spark does not occur.

      • When connecting the battery cable, connect the solenoid side first.

      Tech Tips

      Connect the battery through a 10 W bulb.

    13. The pressure for feeding fuel to the injection pump should be 20 kPa (0.2 kgf*cm2, 2.8 psi). The fuel temperature for pump testing should be 40 to 45°C (104 to 113°F).

    14. A01KFXXE01
      Text in Illustration
      *a Maximum Speed Side

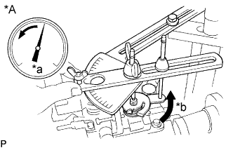
      Install an angle gauge to the stand, and set it to the adjusting lever.

      Part No. 95095-10360 (Stand w/ angle gauge)

    15. Secure the adjusting lever fully on the maximum speed side.

    16. Check the installation direction of the camplate as follows:


      1. A01KI3HE01

        Disconnect the injection pipe from the position by marked "C" on the distributive head.

      2. Using SST, remove the delivery valve holder.

        SST
        09260-54012   ( 09269-54020 )
      3. A01KH0U

        Check that fuel is flowing out when the mark is in the position shown in the illustration.

        If not, it is improperly assembled.

      4. Disassemble and change the camplate position by 180° in the opposite direction.

        Tech Tips

        At this time, disconnect the fuel cut solenoid wire harness.

      5. A01KI3HE01

        Using SST, install the delivery valve holder.

        SST
        09260-54012   ( 09269-54020 )
        Torque:
        58.85 N*m  { 600 kgf*cm, 43 ft.*lbf }
      6. Connect the injection pipe.

    17. A01KH84

      Bleed the air from the injection pipes.

    18. Race the injection pump for 5 minutes at 1,200 rpm.

      Tech Tips

      Replace the overflow screw to a hollow screw in this operation.

      Note

      Check that there is no fuel leakage or abnormal noise.

      Tech Tips


      • A01KI90E01

        Measure the volume of each injection cylinder with a measuring cylinder.

        Text in Illustration
        *a 30 Seconds
      • Before measuring the injection volume, have the cylinder tilted for at least 30 seconds to discard all the fuel.

  2. CHECK HIGH ALTITUDE COMPENSATOR FOR AIR TIGHTNESS


    1. A01KG96E01
      Text in Illustration
      *A w/ HAC
      *a Vacuum

      Apply 73 kPa (548 mmHg, 21.56 in.Hg) of vacuum to the high altitude compensator.

    2. Measure how much time it takes for vacuum to drop to 72 kPa (540 mmHg, 21.26 in.Hg).

      Vacuum drop
      5 seconds or more
  3. PRE-SET FULL LOAD INJECTION VOLUME


    1. Set the adjusting lever to the maximum position.

    2. w/ HAC:

      Apply 101 kPa (760 mmHg, 29.83 in.Hg) of vacuum to the high altitude compensator.

    3. Measure the injection volume.

      Injection volume
      w/ ACSD (Part No. 22100-5D320)
      Pump rpm No. of measuring strokes Injection volume of each cylinder cc (cu in.)
      1200 200 11.94 to 12.26 (0.73 to 0.75)
      w/o ACSD (Part No. 22100-5D110, 22100-5D230, 22100-5D250)
      Pump rpm No. of measuring strokes Injection volume of each cylinder cc (cu in.)
      1600 200 12.42 to 12.74 (0.76 to 0.78)
    4. w/ Cap Seal Type:


      1. A01KGKPE01
        Text in Illustration
        *A w/ Cap Seal Type
        *a Pry

        Disconnect the dust cover from the fuel cut solenoid.

      2. Using a small screwdriver, pry the 4 claws.

      3. Remove the cap seal.

    5. w/ Wire Seal Type:

      Cut off the wire seal.

    6. A01KGJ4E01
      Text in Illustration
      *1 Full Load Set Screw

      Adjust the injection volume by turning the full load set screw.

      Tech Tips

      The injection volume will increase about 3 cc (0.18 cu in.) with each 1/2 turns of the screw.

  4. PRE-SET LOAD SENSING TIMER (w/o HAC)


    1. A01KEW4E01
      Text in Illustration
      *A w/o HAC
      *1 5 mm Hexagon Wrench
      *2 Governor Shaft
      *a 0.5 to 2.0mm

      Using a 5 mm hexagon wrench, adjust the protrusion of the governor shaft.

      Protrusion
      (Part No. 22100-5D230, 22100-5D250) 0.5 to 2.0 mm (0.020 to 0.079 in.)
  5. PRE-SET MAXIMUM SPEED


    1. Set the adjusting lever to the maximum position.

    2. w/ HAC:

      Apply 101 kPa (760 mmHg, 29.83 in.Hg) of vacuum to the high altitude compensator.

    3. Measure the injection volume.

      Injection volume
      w/ ACSD (Part No. 22100-5D320)
      Pump rpm No. of measuring strokes Injection volume of each cylinder cc (cu in.)
      2400 200 4.6 to 6.2 (0.28 to 0.38)
      w/o ACSD (Part No. 22100-5D110, 22100-5D230, 22100-5D250)
      Pump rpm No. of measuring strokes Injection volume of each cylinder cc (cu in.)
      2300 200 7.46 to 9.46 (0.46 to 0.58)
    4. A01KGG1E01
      Text in Illustration
      *1 Maximum Speed Adjusting Screw

      Cut off the seal wire.

    5. Adjust the injection volume with the maximum speed adjusting screw.

  6. ADJUST PUMP INNER PRESSURE


    1. Set the adjusting lever to the maximum position.

    2. w/ HAC:

      Apply 101 kPa (760 mmHg, 29.83 in.Hg) of vacuum to the high altitude compensator.

    3. A01KFX1

      Measure the pump inner pressure at the rpm listed below.

      Pump inner pressure
      Pump rpm

      Inner kPa (kgf*cm2, psi)

      500 314 to 372 (3.2 to 3.8, 46 to 54)
      2100 618 to 676 (6.3 to 6.9, 90 to 98)

      If the pressure is low, adjust the pressure by lightly tapping the regulator valve piston while watching the pressure gauge.

      Text in Illustration
      A01KFFI Tap

      Tech Tips

      If the pressure is too high or if the regulator valve was tapped in too far, the regulator valve must be replaced.

  7. CHECK OVERFLOW VOLUME


    1. A01KFNP

      Set the adjusting lever to the maximum position.

    2. w/ HAC:

      Apply 101 kPa (760 mmHg, 29.83 in.Hg) of vacuum to the high altitude compensator.

    3. Measure the overflow volume at the rpm listed below.

      Overflow volume
      Pump rpm Overflow volume cc/min. (cu in./min.)
      2200 9.58 to 9.98 (0.59 to 0.61)

      Tech Tips

      Always use the overflow screw installed on the pump for adjustment.

  8. RELEASE COLD STARTING SYSTEM (w/ ACSD)


    1. A01KH89E01
      Text in Illustration
      *A w/ ACSD
      *1 Metal Plate
      *a Turn

      Using a screwdriver, turn the cold starting lever by approximately 20°counterclockwise.

    2. Put a metal plate (thickness of 8.5 to 10.0 mm (0.335 to 0.394 in.)) between the cold starting lever and thermo wax plunger.

      Tech Tips

      Keep the cold starting system released until all measurements and adjustments are finished.

  9. ADJUST TIMER


    1. A01KF9K

      Set the timer measuring device at zero.

    2. w/ HAC:

      Apply 101 kPa (760 mmHg, 29.83 in.Hg) of vacuum to the high altitude compensator.

    3. Measure the timer piston stroke at the rpm listed below.

      Timer piston stroke
      w/ ACSD (w/ TCV) (Part No. 22100-5D320)
      Pump rpm Piston stroke mm (in.)
      800 Full TCV ON 1.65 to 2.45 (0.0650 to 0.0965)
      1200 Full TCV ON 3.41 to 4.21 (0.1343 to 0.1657)
      Full TCV OFF 1.48 to 2.46 (0.0583 to 0.0969)
      1900 Full TCV ON 6.49 to 7.29 (0.2555 to 0.2870)
      2200 Full TCV ON 7.06 to 7.54 (0.2780 to 0.2968)
      w/o ACSD (w/o TCV) (Part No. 22100-5D110, 22100-5D230, 22100-5D250)
      Pump rpm Piston stroke mm (in.)
      850 0.23 to 1.03 (0.0091 to 0.0406)
      1200 1.77 to 2.57 (0.0697 to 0.1012)
      2000 5.30 to 6.10 (0.2087 to 0.2402)
      2300 6.36 to 6.84 (0.2504 to 0.2693)

      Tech Tips

      Check that the hysteresis is within 0.3 mm (0.012 in.).

    4. A01KFE1E01
      Text in Illustration
      *1 5 mm Hexagon Wrench
      *2 Timer Adjusting Screw

      Using a 5 mm hexagon wrench, adjust it by turning the timer adjusting screw.

      Tech Tips

      Turn clockwise to reduce the stroke but turn counterclockwise to increase the stroke.

    5. A01KFVRE01
      Text in Illustration
      *a Piston Stroke
      *b Pump rpm
      *c Long Spring
      *d Short Spring
      A01KIGYE01
      Text in Illustration
      *1 Timer Inner Spring
      *a Free Length

      Check the timer stroke for characteristic tendency.

      If the tendency is not as specified, select and replace the timer (inner) spring.

      Timer inner spring free length:
      27.9 mm (1.098 in.) 33.5 mm (1.319 in.) 34.2 mm (1.346 in.)
      32.5 mm (1.280 in.) 33.8 mm (1.331 in.) 34.7 mm (1.366 in.)

      Tech Tips

      The timer stroke will increase with a long spring but decrease with a short spring.

  10. ADJUST FULL LOAD INJECTION VOLUME


    1. A01KGV1E01
      Text in Illustration
      *a Idle Speed Side
      *b Minus
      *c
      *d Plus
      *e Maximum Speed Side

      The adjusting lever angle for the adjustment below should be as shown in the illustration.

      Adjusting lever angle:
      A (Maximum speed side) B (Idle speed side)
      Plus 23 5 33 5° w/ ACSD Minus 12.5 to 22.5°
      w/o ACSD Minus 11.5 to 21.5°
    2. w/ HAC:

      Apply 101 kPa (760 mmHg, 29.83 in.Hg) of vacuum to the high altitude compensator.

    3. Measure the full load injection volume.

      Injection volume
      w/ ACSD (Part No. 22100-5D320)
      Pump rpm No. of measuring strokes Injection volume of each cylinder cc (cu in.)
      1200 200 11.94 to 12.46 (0.73 to 0.75)
      w/o ACSD (Part No. 22100-5D110, 22100-5D230, 22100-5D250)
      Pump rpm No. of measuring strokes Injection volume of each cylinder cc (cu in.)
      1600 200 12.42 to 12.74 (0.76 to 0.78)
    4. A01KGJ4E01
      Text in Illustration
      *1 Full Load Set Screw

      Adjust it by turning the full load set screw.

      Tech Tips

      The injection volume will increase about 3 cc (0.18 cu in.) with each 1/2 turns of the screw.

  11. ADJUST MAXIMUM SPEED


    1. w/ HAC:

      Apply 101 kPa (760 mmHg, 29.83 in.Hg) of vacuum to the high altitude compensator.

    2. Measure the injection volume at each pump rpm.

      Injection volume
      w/ ACSD (Part No. 22100-5D320)
      Adjusting lever angle Pump rpm No. of measuring strokes Injection volume of each cylinder cc (cu in.) Remark
      23.5 to 33.5° 2000 200 9.52 to 11.52 (0.58 to 0.70) -
      2400 200 4.6 to 6.2 (0.28 to 0.38) Adjust
      2800 200 1.3 (0.08) or less -
      w/o ACSD (Part No. 22100-5D110, 22100-5D230, 22100-5D250)
      Adjusting lever angle Pump rpm No. of measuring strokes Injection volume of each cylinder cc (cu in.) Remark
      23.5 to 33.5° 2300 200 7.46 to 9.46 (0.46 to 0.58) -
      2450 200 4.6 to 6.2 (0.28 to 0.38) Adjust
      2700 200 1.3 (0.08) or less -
    3. A01KGG1E01
      Text in Illustration
      *1 Maximum Speed Adjusting Screw

      Adjust it by turning the maximum speed adjusting screw.

  12. CHECK INJECTION VOLUME


    1. A01KIDTE01

      Measure the injection volume at each pump rpm and HAC vacuum (w/ HAC).

      Injection volume
      w/ ACSD (Part No. 22100-5D320)
      Adjusting lever angle Pump rpm No. of measuring strokes Injection volume of each cylinder cc (cu in.) Variation limit cc (cu in.) Remark
      Plus 23.5 to 33.5° 100 200 13.6 to 18.4 (0.83 to 1.12) 1.4 (0.09) Volume during starting
      500 200 10.3 to 11.3 (0.63 to 0.69) 0.5 (0.03) -
      1200 200 11.94 to 12.36 (0.73 to 0.75) 0.4 (0.02) Basic full load injection volume
      1800 200 11.38 to 12.28 (0.69 to 0.75) 0.5 (0.03) -
      w/o ACSD (w/o HAC) (Part No. 22100-5D230)
      Adjusting lever angle Pump rpm No. of measuring strokes Injection volume of each cylinder cc (cu in.) Variation limit cc (cu in.) Remark
      Plus 23.5 to 33.5° 100 200 13.6 to 18.4 (0.83 to 1.12) 1.4 (0.09) Volume during starting
      500 200 10.3 to 11.3 (0.63 to 0.69) 0.5 (0.03) -
      1200 200 11.94 to 12.36 (0.73 to 0.75) 0.4 (0.02) Basic full load injection volume
      1900 200 11.38 to 12.28 (0.69 to 0.75) 0.5 (0.03) -
      w/o ACSD (w/ HAC) (Part No. 22100-5D110, 22100-5D250)
      Adjusting lever angle Pump rpm HAC vacuum kPa (mmHg, in.Hg) No. of measuring strokes Injection volume of each cylinder cc (cu in.) Variation limit cc (cu in.) Remark
      Plus 23.5 to 33.5° 100 101 (760, 29.83) 200

      13.6 to 18.4

      (0.83 to 1.12)

      (0.62 to 0.70)

      1.4 (0.09) Volume during starting
      500 101 (760, 29.83) 200

      10.14 to 11.54

      (0.62 to 0.70)

      0.5 (0.03) -
      1600 101 (760, 29.83) 200

      12.42 to 12.74

      (0.76 to 0.78)

      0.4 (0.02) Basic full load injection volume
      85.3 (640, 25.19) 200

      10.6 to 11.2

      (0.65 to 0.68)

      - -
      70.7 (530, 20.88) 200

      8.78 to 9.54

      (0.54 to 0.58)

      - -
      1900 101 (760, 29.83) 200

      11.92 to 12.60

      (0.73 to 0.77)

      0.5 (0.03) -

      If the injection volume at 100 rpm is not as specified, replace the governor sleeve plus as follows:


      1. Using SST and a press, press out the sleeve plug assembly from the governor sleeve.

        SST
        09236-00101   ( 09237-00070 )
      2. A01KFU8E01
        Text in Illustration
        *1 Sleeve Plug
        *2 Bearing Retainer
        *3 Bearing
        *4 Bearing Retainer
        *5 Stop Ring
        *6 E-Ring

        Remove the E-ring, stop ring, bearing and 2 bearing retainers from the sleeve plug.

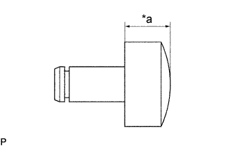
      3. A01KGD0E01
        Text in Illustration
        *a Head Thickness

        Measure the head thickness of the sleeve plug, and select a new sleeve plug.

        Governor sleeve plug head thickness:
        3.0 mm (0.118 in.) 3.5 mm (0.138 in.) 4.0 mm (0.157 in.)
        3.1 mm (0.122 in.) 3.6 mm (0.142 in.) 4.1 mm (0.161 in.)
        3.2 mm (0.126 in.) 3.7 mm (0.146 in.) 4.2 mm (0.165 in.)
        3.3 mm (0.130 in.) 3.8 mm (0.150 in.) -
        3.4 mm (0.134 in.) 3.9 mm (0.154 in.) -

        Tech Tips

        Lengthening the plug by 0.1 mm (0.004 in.) will decrease injection volume by 0.6 cc (0.04 cu in.). If the variation limit is greater than specified, replace the delivery valve.

      4. A01KFU8E01
        Text in Illustration
        *1 New Sleeve Plug
        *2 Bearing Retainer
        *3 Bearing
        *4 Bearing Retainer
        *5 Stop Ring
        *6 New E-Ring

        Install the bearing, 2 retainers and stop ring to the new sleeve plug with a new E-ring.

      5. A01KGQS

        Using a press, press in the sleeve plug assembly to the governor sleeve.

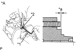
  13. ADJUST LOAD SENSING TIMER (w/o ACSD)


    1. A01KHT2E01
      Text in Illustration
      *A w/o HAC
      *1 5 mm Hexagon Wrench
      *2 Governor Shaft
      *a Injection Pump Inner Pressure
      *b Idle Speed Side
      *c Maximum Speed Side
      *d End Point of Load Sensing Timer
      *e Starting Point of Load Sensing Timer
      *f Adjusting Lever Position

      Using a 5 mm hexagon wrench, adjust the starting and end points of the load sensing timer by turning the governor shaft.

    2. Set the adjusting lever to the maximum position.

    3. Measure the injection volume.

      Injection volume
      (Part No. 22100-5D230, 22100-5D250)
      Adjusting lever position Pump rpm No. of measuring strokes
      Maximum speed side 1200 200
    4. A01KHY3E01
      Text in Illustration
      *A w/o HAC
      *a

      kg/cm2

      *b Slowly Move

      Slowly move the adjusting lever from the maximum speed side to the idle speed side, and secure it at the point where the pump inner pressure begins to drop.

    5. Measure the injection volume at the drop point (starting point).

      Injection volume
      (Part No. 22100-5D230, 22100-5D250)
      Pump rpm No. of measuring strokes Injection volume of each cylinder cc (cu in.)
      1200 200 Measured value at step (d) minus 1.2 (0.07) to 2.0 (0.12)
    6. A01KIPUE01
      Text in Illustration
      *1 5 mm Hexagon Wrench
      *2 Governor Shaft

      Using a 5 mm hexagon wrench, adjust the load sensing timer by turning the governor shaft, and perform the measurement again as specified.

      Tech Tips

      The injection volume will increase approximately 3 cc (0.2 cu in.) with each 1/2 turns of the governor shaft.

    7. A01KEXBE01
      Text in Illustration
      *A w/o HAC
      *a

      kg/cm2

      *b Stop
      *c Slowly Move

      Check the end point injection volume by slowly moving the adjusting lever from the maximum speed side to the idle speed side, and secure it at the point where the pump inner pressure stops dropping.

      Injection volume
      (Part No. 22100-5D230, 22100-5D250)
      Pump rpm No. of measuring strokes Injection volume of each cylinder cc (cu in.)
      1200 200 9.58 to 9.98 (0.59 to 0.61)
    8. A01KH4JE01
      Text in Illustration
      *A w/o HAC
      *a Move
      A01KFWUE01
      Text in Illustration
      *A w/o HAC
      *1 Governor Sleeve
      *a Hole Diameter

      Check the timer piston fluctuation when the adjusting lever is moved from the maximum speed side to the idle speed side.

      Timer piston fluctuation
      (Part No. 22100-5D230, 22100-5D250)
      Pump rpm Timer piston fluctuation mm (in.)
      1200 0.82 to 1.22 (0.0323 to 0.0480)

      If the timer stroke is not as specified when the load sensing is at maximum retard angle, select a new governor sleeve.

      Governor sleeve hole diameter:
      0.90 mm (0.0354 in.) 0.95 mm (0.0374 in.) 1.00 mm (0.0394 in.)

      Tech Tips

      A large hole diameter decreases the timer stroke but a smaller hole diameter increases the timer stroke.

    9. A01KEFWE01
      Text in Illustration
      *A w/o HAC
      *1 Governor Shaft
      *a 0.5 to 2.0 mm

      Check the protrusion of the governor shaft.

      Protrusion
      (Part No. 22100-5D230, 22100-5D250) 0.5 to 2.0 mm (0.020 to 0.079 in.)
  14. ADJUST IDLE SPEED


    1. Measure the injection volume for each pump rpm.

      Injection volume
      w/ ACSD (Part No. 22100-5D320)
      Adjusting lever angle Pump rpm No. of measuring strokes Injection volume of each cylinder cc (cu in.) Variation limit cc (cu in.) Remark
      Minus 12.5 to 22.5° 350 200 2.86 to 3.86 (0.17 to 0.24) 0.34 (0.02) Adjust
      575 200 2.6 (0.16) or less - -
      w/o ACSD (Part No. 22100-5D110, 22100-5D230, 22100-5D250)
      Adjusting lever angle Pump rpm No. of measuring strokes Injection volume of each cylinder cc (cu in.) Variation limit cc (cu in.) Remark
      Minus 11.5 to 21.5° 350 200 3.7 to 4.7 (0.23 to 0.29) 0.34 (0.02) Adjust
      575 200 2.4 (0.15) or less - -
    2. A01KHT1E01
      Text in Illustration
      *1 Idle Speed Adjusting Screw

      Adjust injection volume by turning the idle speed adjusting screw.

  15. ADJUST FAST IDLE SPEED (w/ ACSD)


    1. Release the cold starting system.


      1. Using a screwdriver, turn the cold starting lever by approximately 20° counterclockwise.

      2. A01KH89E01
        Text in Illustration
        *A w/ ACSD
        *1 Metal Plate
        *a Turn

        Put a metal plate (thickness of 8.5 to 10.0mm(0.335 to 0.394 in.)) between the cold starting lever and thermo wax plunger.

    2. Set the adjusting lever to the idle position.

    3. Measure the injection volume.

      Injection volume
      (Part No. 22100-5D320)
      Pump rpm No. of measuring strokes Injection volume of each cylinder cc (cu in.)
      350 200 q = 2.86 to 3.86 (0.17 to 0.24)
    4. Remove the metal plate between the cold starting lever and thermo wax plunger.

    5. A01KI4JE01
      Text in Illustration
      *A w/ ACSD
      *a 4.9 N*m

      Torque the cold starting lever clockwise to approximately 4.9 N*m (50 kgf*cm, 43 in.*lbf) and keep the lever tightened for about 10 seconds. Then release the torque.

    6. Measure the injection volume.

      Injection volume
      (Part No. 22100-5D320)
      Pump rpm No. of measuring strokes Injection volume of each cylinder cc (cu in.)
      350 200 q plus 0.52 to 0.72 (0.03 to 0.04)
    7. A01KF8VE01
      Text in Illustration
      *A w/ ACSD
      *1 First Idle Adjusting Screw

      Adjust the injection volume by turning the fast idle adjusting screw.

  16. POST ADJUSTMENT CHECK


    1. A01KH89E01
      Text in Illustration
      *A w/ ACSD
      *1 Metal Plate
      *a Turn

      Check the injection stops when the fuel cut solenoid harness is removed.

      Pump revolution
      100 rpm
    2. w/ ACSD:

      Release the cold starting system.


      1. Using a screwdriver, turn the cold starting lever by approximately 20° counterclockwise.

      2. Put a metal plate (thickness of 8.5 to 10.0mm(0.335 to 0.394 in.)) between the cold starting lever and thermo wax plunger.

    3. A01KIOAE01
      Text in Illustration
      *a Move

      Check the adjusting lever movement.

      w/ ACSD 41 to 51°
      w/o ACSD 42 to 48°
    4. w/ ACSD:

      Remove the metal plate between the cold starting lever and thermo wax plunger.

  17. INSTALL THROTTLE POSITION SENSOR (w/ EGR)


    1. A01KHZEE01
      Text in Illustration
      *1 5 mm Hexagon Wrench

      Attach the portions of the throttle position sensor and adjusting lever.

    2. Using a 5mm hexagon wrench, install the throttle position sensor with the 3 bolts.

      Torque:
      8.35 N*m  { 85 kgf*cm, 74 in.*lbf }
  18. ADJUST THROTTLE POSITION SENSOR


    1. Set the adjusting lever to the angle for the injection volume shown below.

      Pump rpm No. of measuring strokes Injection volume of each cylinder cc (cu in.)
      1500 200 5.92 to 6.08 (0.36 to 0.37)
    2. A01KGZIE01
      Text in Illustration
      *A w/ EGR

      Loosen the 2 screws holding the throttle position sensor to the bracket.

    3. A01KIKFE01
      Text in Illustration
      *A w/ EGR
      *1 Voltmeter

      Apply 4.995 to 5.005 V across terminals VC and E2.

    4. Connect the tester probes of a voltmeter to terminals VTA and E2 of the throttle position sensor.

    5. A01KFHAE01
      Text in Illustration
      *A w/ EGR
      *a Turn

      Gradually turn the throttle position sensor so that its output will be 2.376 to 2.424 V.

    6. Tighten the 2 screws holding the throttle position sensor to the bracket.

  19. REMOVE INJECTION PUMP FROM TESTER

  20. SEAL PARTS


    1. A01KGS7E01
      Text in Illustration
      *1 Maximum Speed Adjusting Screw
      *2 Full Load Set Screw

      Seal the full load set screw and maximum speed adjusting screw with new lead seals.