FRONT LEAF SPRING REASSEMBLY


  1. INSTALL FRONT SPRING BIMETAL FORMED BUSH


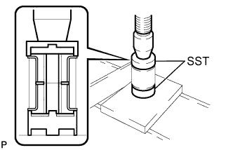
    1. A01CGZ2E01

      for front side:


      1. Using SST and a press, install a new front spring bimetal formed bush to the front No. 1 leaf spring.

        SST
        09726-27012   ( 09726-02041 )
    2. A01CHX5E01

      for rear side:


      1. Using SST and a press, install 2 new front spring bimetal formed bushes to the front No. 1 leaf spring.

        SST
        09710-28012   ( 09710-07062 )
        09710-30041   ( 09710-03211 )
  2. REASSEMBLE FRONT SPRING ASSEMBLY LH


    1. A01CGYA

      Secure the front spring spacer, 2 front No. 1 spring silencers, front No. 1 leaf spring, front No. 2 leaf spring, 3 front No. 1 leaf spring spacers, No. 2 stabilizer bracket and 2 front No. 3 spring spacers with C-clamps.

    2. Insert the front spring center bolt and install the front spring center bolt nut.

      Torque:
      44 N*m  { 449 kgf*cm, 32 ft.*lbf }
    3. A01CIX9

      Using a C-clamp, attach the 2 clips.

    4. Check that there is no gap between the spring clips and spring.

      Note

      Check that the clips are securely attached.