FRONT LEAF SPRING DISASSEMBLY


  1. DISASSEMBLE FRONT SPRING ASSEMBLY LH


    1. A01CHG8

      Secure the front spring assembly in a vise between aluminum plates.

    2. Using a brass bar and hammer, pry open the 2 spring clips.

      Note

      Do not damage the leaf spring.

    3. A01CGYA

      Secure the spring with C-clamps as shown in the illustration.

    4. Remove the front spring center bolt nut and front spring center bolt.

    5. Remove the 2 front No. 3 spring spacers, No. 2 stabilizer bracket, 3 front No. 1 leaf spring spacers, front No. 2 leaf spring, front No. 1 leaf spring, 2 front No. 1 spring silencers and front spring spacer.

  2. REMOVE FRONT SPRING BIMETAL FORMED BUSH


    1. for front side:


      1. Secure the front No. 1 leaf spring in a vise between aluminum plates.

        Note

        Do not overtighten the vise.

      2. A01CJ07

        Using a chisel and hammer, bend 2 places on the rib of the front spring bimetal formed bushing.

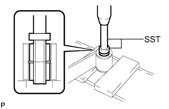
      3. A01CHZ5E02

        Using SST, remove the front spring bimetal formed bushing from the front No. 1 leaf spring.

        SST
        09950-40011   ( 09951-04010, 09953-04020, 09952-04010, 09954-04010, 09955-04031, 09958-04011 )
        09950-60010   ( 09951-00350 )
    2. for rear side:


      1. A01CGXP

        Using a metal saw, cut both rubber ends of the 2 front spring bimetal formed bushings.

      2. A01CIPSE02

        Using SST and a press, press out the 2 rubber parts of the bushings.

        SST
        09950-60010   ( 09951-00350 )
        09950-70010   ( 09951-07150 )
      3. A01CJEU

        Using a chisel and hammer, remove the 2 front spring bimetal formed bushings from the front No. 1 leaf spring.