AIRBAG SYSTEM, Diagnostic DTC:B1900, B1901, B1902, B1903

DTC Code DTC Name
B1900 Short in Driver Side Pretensioner Squib Circuit
B1901 Open in Driver Side Pretensioner Squib Circuit
B1902 Short to GND in Driver Side Pretensioner Squib Circuit
B1903 Short to B+ in Driver Side Pretensioner Squib Circuit

DESCRIPTION

The front pretensioner squib LH circuit consists of the airbag ECU assembly and front seat outer belt assembly LH.

This circuit signals the SRS to deploy when deployment conditions are met.

These DTCs are recorded when a malfunction is detected in the front pretensioner squib LH circuit.

DTC Code Detection Condition Trouble Area
B1900

One of the following conditions is met:


  • The airbag ECU assembly detects line short circuit signal in front pretensioner squib LH circuit 5 times during primary check.

  • A front seat outer belt assembly LH malfunction

  • An airbag ECU assembly malfunction


  • Instrument panel wire

  • Floor wire

  • Front seat outer belt assembly LH (front pretensioner squib LH)

  • Airbag ECU assembly

B1901

One of the following conditions is met:


  • The airbag ECU assembly detects open circuit signal in front pretensioner squib LH circuit for 2 seconds.

  • A front seat outer belt assembly LH malfunction

  • An airbag ECU assembly malfunction

B1902

One of the following conditions is met:


  • The airbag ECU assembly detects short circuit to ground signal in front pretensioner squib LH circuit for 0.5 seconds.

  • A front seat outer belt assembly LH malfunction

  • An airbag ECU assembly malfunction

B1903

One of the following conditions is met:


  • The airbag ECU assembly detects short circuit to B+ signal in front pretensioner squib LH circuit for 0.5 seconds.

  • A front seat outer belt assembly LH malfunction

  • An airbag ECU assembly malfunction

WIRING DIAGRAM

A01CHVYE01

INSPECTION PROCEDURE

Note


  • After turning the ignition switch off, waiting time may be required before disconnecting the cable from the battery terminal. Therefore, make sure to read the disconnecting the cable from the battery terminal notices before proceeding with work Click here.

  • When disconnecting the cable from the negative (-) battery terminal while performing repairs, some systems need to be initialized after the cable is reconnected Click here.

Tech Tips

To perform the simulation method, enter check mode (signal check) with the intelligent tester Click here, and then wiggle each connector of the airbag system or drive the vehicle on various types of roads Click here.

PROCEDURE


  1. CHECK FRONT SEAT OUTER BELT ASSEMBLY LH (FRONT PRETENSIONER SQUIB LH)


    1. A01CJ87E01
      Text in Illustration
      *1 Front Seat Outer Belt Assembly LH
      *2 Airbag ECU Assembly
      *3 Connector E
      *4 SST
      *a

      Front view of wire harness connector

      (to Front Seat Outer Belt Assembly LH)

      Turn the ignition switch off.

    2. Disconnect the cable from the negative (-) battery terminal, and wait at least 90 seconds.

    3. Disconnect the connector from the front seat outer belt assembly LH.

    4. Connect the white wire of SST (resistance: 2.1 Ω) to connector E (orange connector).

      CAUTION:

      Never connect the tester to the front seat outer belt assembly LH for measurement, as this may lead to a serious injury due to airbag deployment.

      Note


      • Do not forcibly insert SST into the terminals of the connector when connecting SST.

      • Insert SST straight into the terminals of the connector.

      SST
      09843-18061
    5. Connect the cable to the negative (-) battery terminal, and wait at least 2 seconds.

    6. Turn the ignition switch to ON, and wait at least 60 seconds.

    7. Clear the DTCs stored in memory Click here.

    8. Turn the ignition switch off.

    9. Turn the ignition switch to ON, and wait at least 60 seconds.

    10. Check for DTCs Click here.

      OK
      DTC B1900, B1901, B1902 or B1903 is not output.

      Tech Tips

      Codes other than DTC B1900, B1901, B1902 and B1903 may be output at this time, but they are not related to this check.

    11. Turn the ignition switch off.

    12. Disconnect the cable from the negative (-) battery terminal, and wait at least 90 seconds.

    13. Disconnect SST from connector E.


    NG
    OK
  2. CHECK CONNECTORS


    1. A01CJ5WE01
      Text in Illustration
      *1 Front Seat Outer Belt Assembly LH
      *2 Airbag ECU Assembly

      Disconnect the connector from the airbag ECU assembly.

    2. Check that the connectors (on the front seat outer belt assembly LH side and airbag ECU assembly side) are not damaged.

      OK
      The lock button is not disengaged, and the claw of the lock is not deformed or damaged.

    NG
    OK
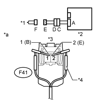
  3. CHECK FRONT PRETENSIONER SQUIB LH CIRCUIT


    1. A01CGMZE01
      Text in Illustration
      *1 Front Seat Outer Belt Assembly LH
      *2 Airbag ECU Assembly
      *3 Connector E
      *a

      Front view of wire harness connector

      (to Front Seat Outer Belt Assembly LH)

      Connect the cable to the negative (-) battery terminal, and wait at least 2 seconds.

    2. Turn the ignition switch to ON.

    3. Measure the voltage according to the value(s) in the table below.

      Standard Voltage
      Tester Connection Switch Condition Specified Condition
      F41-1 (B) - Body ground Ignition switch ON Below 1 V
      F41-2 (E) - Body ground Ignition switch ON Below 1 V
    4. Turn the ignition switch off.

    5. Disconnect the cable from the negative (-) battery terminal, and wait at least 90 seconds.

    6. Measure the resistance according to the value(s) in the table below.

      Standard Resistance
      Tester Connection Condition Specified Condition
      F41-1 (B) - F41-2 (E) Always Below 1 Ω
    7. Release the activation prevention mechanism built into connector B Click here

    8. Measure the resistance according to the value(s) in the table below.

      Standard Resistance
      Tester Connection Condition Specified Condition
      F41-1 (B) - F41-2 (E) Always 1 MΩ or higher
      F41-1 (B) - Body ground Always 1 MΩ or higher
      F41-2 (E) - Body ground Always 1 MΩ or higher
    9. Restore the released activation prevention mechanism of connector B to its original condition.


    NG
    OK
  4. CHECK AIRBAG ECU ASSEMBLY


    1. A01CI5PE02
      Text in Illustration
      *1 Front Seat Outer Belt Assembly LH
      *2 Airbag ECU Assembly

      Connect the connectors to the front seat outer belt assembly LH and airbag ECU assembly.

    2. Connect the cable to the negative (-) battery terminal, and wait at least 2 seconds.

    3. Turn the ignition switch to ON, and wait at least 60 seconds.

    4. Clear the DTCs Click here.

    5. Turn the ignition switch off.

    6. Turn the ignition switch to ON, and wait at least 60 seconds.

    7. Check for DTCs Click here.

      OK
      DTC B1900, B1901, B1902 or B1903 is not output.

      Tech Tips

      Codes other than DTCs B1900, B1901, B1902 and B1903 may be output at this time, but they are not related to this check.


    NG
    OK
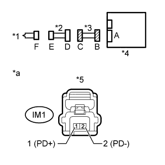
  5. CHECK INSTRUMENT PANEL WIRE


    1. A01CI66E01
      Text in Illustration
      *1 Front Seat Outer Belt Assembly LH
      *2 Floor Wire
      *3 Instrument Panel Wire
      *4 Airbag ECU Assembly
      *5 Connector C
      *a

      Front view of wire harness connector

      (to Floor Wire)

      Disconnect the instrument panel wire connector from the floor wire.

    2. Connect the cable to the negative (-) battery terminal, and wait at least 2 seconds.

    3. Turn the ignition switch to ON.

    4. Measure the voltage according to the value(s) in the table below.

      Standard Voltage
      Tester Connection Switch Condition Specified Condition
      IM1-1 (PD+) - Body ground Ignition switch ON Below 1 V
      IM1-2 (PD-) - Body ground Ignition switch ON Below 1 V
    5. Turn the ignition switch off.

    6. Disconnect the cable from the negative (-) battery terminal, and wait at least 90 seconds.

    7. Measure the resistance according to the value(s) in the table below.

      Standard Resistance
      Tester Connection Condition Specified Condition
      IM1-1 (PD+) - IM1-2 (PD-) Always Below 1 Ω
    8. Release the activation prevention mechanism built into connector B Click here.

    9. Measure the resistance according to the value(s) in the table below.

      Standard Resistance
      Tester Connection Condition Specified Condition
      IM1-1 (PD+) - IM1-2 (PD-) Always 1 MΩ or higher
      IM1-1 (PD+) - Body ground Always 1 MΩ or higher
      IM1-2 (PD-) - Body ground Always 1 MΩ or higher
    10. Restore the released activation prevention mechanism of connector B to its original condition.


    NG
    OK