EXHAUST BRAKE RETARDER INSPECTION


  1. INSPECT EXHAUST RETARDER ASSEMBLY


    1. A01CHJV

      Using a vacuum pump, confirm that the valve fully closes smoothly when applying a vacuum of 53.3 to 80.0 kPa (400 to 600 mmHg).

    2. Confirm that the valve fully opens smoothly after exposing the exhaust retarder assembly to atmospheric pressure.

  2. INSPECT AND ADJUST EXHAUST BRAKE VALVE ASSEMBLY


    1. Using a vacuum pump, fully close the valve by applying a vacuum of 86.7 to 93.3 kPa (650 to 700 mmHg).

    2. A01CHJYE01

      Using SST, inspect the gap between the valve and body.

      SST
      09240-00020
      Standard clearance
      0.2 to 0.3 mm (0.00787 to 0.0118 in.)
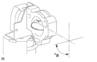
    3. A01CJ9TE01
      Text in Illustration
      *a 90°

      With the valve fully opened after exposing the exhaust retarder assembly to atmospheric pressure, inspect the angle between the valve and body.

    4. Loosen the 2 nuts.

    5. A01CHGKE02

      With the exhaust brake valve assembly against the exhaust brake valve stopper bolt as shown in the illustration (with the valve fully closed), adjust the exhaust brake valve stopper bolt so that the gap between the valve and body is within the standard clearance using SST.

      SST
      09240-00020
      Standard clearance
      0.2 to 0.3 mm (0.00787 to 0.0118 in.)
    6. Tighten the nut.

      Torque:
      5.9 N*m  { 60 kgf*cm, 52 in.*lbf }
    7. A01CIK2E01
      Text in Illustration
      *a 90°

      With the exhaust valve lever against the exhaust brake valve stopper bolt as shown in the illustration (with the valve fully opened), adjust the brake valve stopper bolt so that the valve and body are at the standard angle.

      Standard
      90°
    8. Tighten the nut.

      Torque:
      5.9 N*m  { 60 kgf*cm, 52 in.*lbf }