REAR LEAF SPRING DISASSEMBLY


  1. DISASSEMBLE REAR SPRING ASSEMBLY


    1. A01CHG8

      Using a hammer and brass bar, tap out the 2 rear No. 1 spring clips.

    2. A01CGYA

      Secure the rear spring assembly with C-clamps as shown in the illustration.

    3. Remove the nut and bolt, and then release the C-clamps to disassemble the rear spring assembly.

  2. INSPECT LEAF SPRING


    1. A01CGM0

      Using vernier calipers, measure the inter leaf thickness.

      Thickness
      Standard 1.0 mm (0.04 in.)
      Minimum 0.5 mm (0.02 in.)

      If the thickness is less than the minimum, replace the inter leaf.

    2. A01CIMZ

      Using a micrometer, measure the diameter of the rear spring bracket pins.

      Diameter
      Standard 25.0 mm (0.984 in.)
      Minimum 24.7 mm (0.972 in.)

      If the diameter is less than the minimum, replace the rear spring bracket pin.

    3. A01CIP5

      Check the gap between the rear leaf spring bushing and rear spring bracket pin.


      1. Using a cylinder gauge, measure the inner diameter of the rear leaf spring bushing.

      2. Subtract the rear spring bracket pin diameter from the rear leaf spring bushing diameter to obtain the gap.

        Gap
        Standard 0.02 to 0.125 mm (0.001 to 0.005 in.)
        Maximum 0.50 mm (0.020 in.)

        If the gap is greater than the maximum, replace the rear leaf spring bushing and rear spring bracket pin.

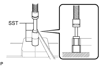
  3. REMOVE REAR LEAF SPRING BUSHING


    1. A01CHGOE01

      Using SST and a press, press out the rear leaf spring bushing.

      SST
      09309-60010
      09950-60010   ( 09951-00300 )
      09950-70010   ( 09951-07100 )