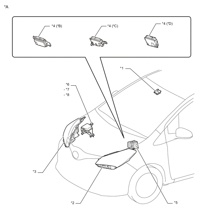
ILLUSTRATION
| *A | for LHD | *B | for 1KR-FE |
| *C | for 1ND-TV with DPF | *D | for 1ND-TV without DPF |
| *E | for 2NR-FKE | - | - |
| *1 | PRE-CRASH SAFETY CITY SENSOR | *2 | HEADLIGHT ASSEMBLY LH |
| *3 | HEADLIGHT ASSEMBLY RH | *4 | ECM |
| *5 | BRAKE ACTUATOR ASSEMBLY (SKID CONTROL ECU) | *6 | NO. 2 ENGINE ROOM RELAY BLOCK |
| *7 | DIM RELAY | *8 | H-LP MAIN RELAY |
ILLUSTRATION
| *A | for RHD | *B | for 1KR-FE |
| *C | for 1ND-TV | *D | for 2NR-FKE |
| *1 | PRE-CRASH SAFETY CITY SENSOR | *2 | HEADLIGHT ASSEMBLY LH |
| *3 | HEADLIGHT ASSEMBLY RH | *4 | ECM |
| *5 | BRAKE ACTUATOR ASSEMBLY (SKID CONTROL ECU) | *6 | NO. 2 ENGINE ROOM RELAY BLOCK |
| *7 | DIM RELAY | *8 | H-LP MAIN RELAY |
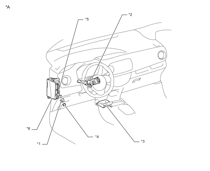
ILLUSTRATION
| *A | for LHD | - | - |
| *1 | AUTOMATIC HIGH BEAM SWITCH | *2 | HEADLIGHT DIMMER SWITCH ASSEMBLY |
| *3 | AIRBAG ECU ASSEMBLY (Yaw Rate Sensor) | *4 | DLC3 |
| *5 | MAIN BODY ECU (MULTIPLEX NETWORK BODY ECU) | *6 | INSTRUMENT PANEL JUNCTION BLOCK ASSEMBLY - GAUGE FUSE |
ILLUSTRATION
| *A | for RHD | - | - |
| *1 | AUTOMATIC HIGH BEAM SWITCH | *2 | HEADLIGHT DIMMER SWITCH ASSEMBLY |
| *3 | AIRBAG ECU ASSEMBLY (Yaw Rate Sensor) | *4 | DLC3 |
| *5 | MAIN BODY ECU (MULTIPLEX NETWORK BODY ECU) | *6 | INSTRUMENT PANEL JUNCTION BLOCK ASSEMBLY - GAUGE FUSE |