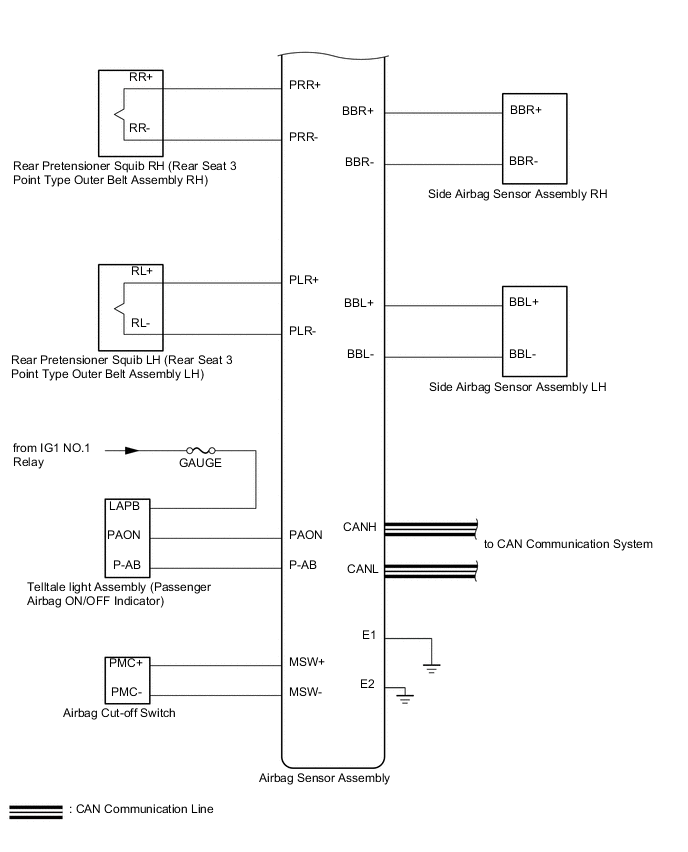
AIRBAG SYSTEM(w/o Curtain Shield Airbag) SYSTEM DIAGRAM

A004AYSE03
A0048I9E02

Transmitting ECU

(Transmitter)

Receiving ECU Signal Communication Method
Airbag Sensor Assembly ECM Crash detection signal CAN
Airbag Sensor Assembly Combination Meter Assembly
  • Airbag warning light control request

  • Diagnosis signal (DTC)

Combination Meter Assembly Airbag Sensor Assembly Diagnoses transmitting system No
ECM Airbag Sensor Assembly
  • Engine speed signal

  • Accelerator opening angle information

  • Accelerator position information

  • Pedal angle rate

  • Shift position signal

  • Test mode signal

Skid control ECU Airbag Sensor Assembly
  • Vehicle speed


  • Stop switch signal