STARTER(for TMC Made Cold Area Specification Vehicles) REASSEMBLY

PROCEDURE


  1. INSTALL STARTER CLUTCH SUB-ASSEMBLY


    1. Apply grease to the bushing and spline of the starter clutch and stop collar.

    2. A01VG9U

      Place the starter clutch and stop collar on the planetary shaft.

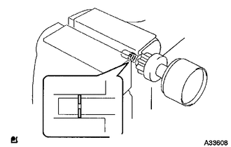
    3. Apply grease to a new snap ring, and install it onto the planetary shaft groove.

    4. A01VFO1

      Using a vise, compress the snap ring.

    5. A01VH7H

      Hold the starter clutch, tap the planetary shaft and install the stop collar onto the snap ring with a plastic-faced hammer.

    6. A01VKDO

      Apply grease to the drive lever that is in contact with the starter pivot part of the drive lever.

      Text in Illustration
      A01VL3H High-temperature grease
    7. Install the drive lever onto the starter clutch.

    8. A01VLAME03
      Text in Illustration
      *1 Matchmark

      Align the matchmarks on the shock absorber and starter housing.

    9. Install the shock absorber onto the starter housing.

  2. INSTALL STARTER ARMATURE ASSEMBLY

  3. INSTALL STARTER BRUSH HOLDER ASSEMBLY


    1. Install the brush holder.

    2. A01VJTJ

      Using a screwdriver, hold the brush spring back, and connect the 4 brushes to the brush holder.

    3. Apply turbine oil with additives to the bearing of the end frame.

    4. A01VM93

      Install the end frame with 2 new screws.

      Torque:
      1.5 N*m  { 15 kgf*cm, 13 in.*lbf }

      Note

      To avoid interference between the brush holder and the dust protector, push the commutator and frame away at an angle.

  4. INSTALL STARTER YOKE ASSEMBLY

    A01VIUEE03
    Text in Illustration
    *1 Protrusion
    *2 Cutout

    1. Align the cutout of the field frame with the protrusion of the shock absorber.

    2. A01VGRM

      Install the field frame and armature assembly with the 2 through bolts.

      Torque:
      5.9 N*m  { 60 kgf*cm, 52 in.*lbf }
  5. INSTALL MAGNET STARTER SWITCH ASSEMBLY

    A01VI5M

    1. Hang the plunger of the magnetic switch onto the driver lever from the upper side.

    2. A01VIPE

      Install the magnetic switch with the 2 nuts.

      Torque:
      8.3 N*m  { 85 kgf*cm, 73 in.*lbf }
    3. A01VHSF

      Connect the lead wire to the terminal with the nut.

      Torque:
      9.8 N*m  { 100 kgf*cm, 87 in.*lbf }