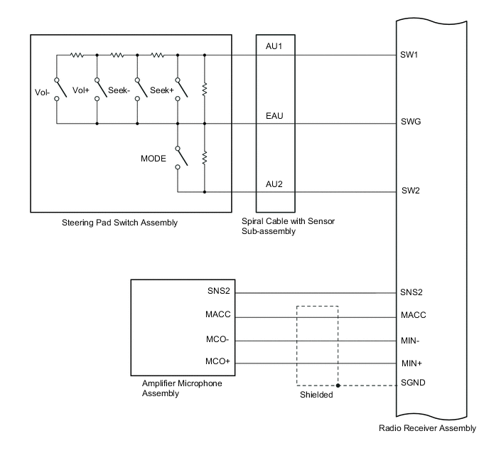
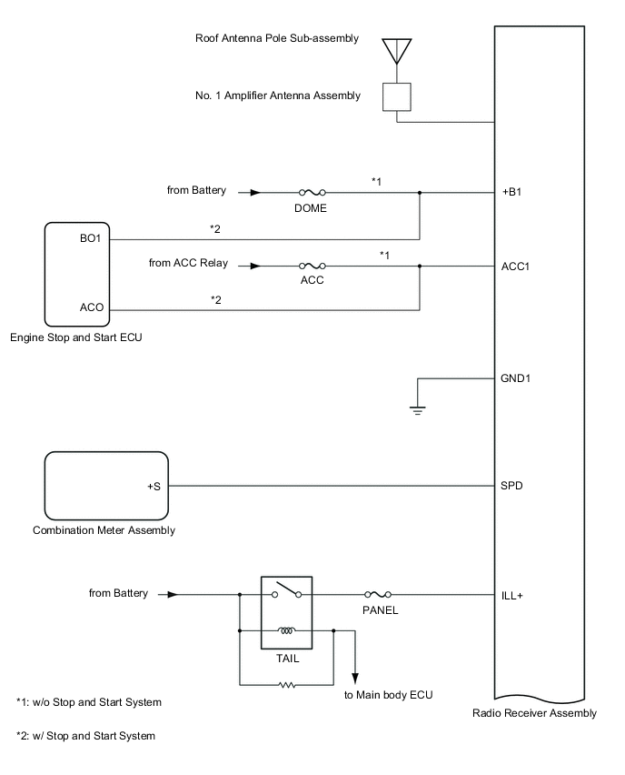
AUDIO AND VISUAL SYSTEM(for Radio Receiver Type) SYSTEM DIAGRAM

A0047NTE02
A004AVFE04
A00474QE01