ILLUSTRATION
| *1 | FRONT NO. 2 SPEAKER ASSEMBLY RH | *2 | FRONT NO. 2 SPEAKER ASSEMBLY LH |
| *3 | FRONT NO. 1 SPEAKER ASSEMBLY RH | *4 | FRONT NO. 1 SPEAKER ASSEMBLY LH |
| *5 | REAR SPEAKER ASSEMBLY RH | *6 | REAR SPEAKER ASSEMBLY LH |
| *7 | NO. 1 AMPLIFIER ANTENNA ASSEMBLY | *8 | NO. 2 ANTENNA CORD SUB-ASSEMBLY |
| *9 | ENGINE ROOM RELAY BLOCK - DOME FUSE |
- | - |
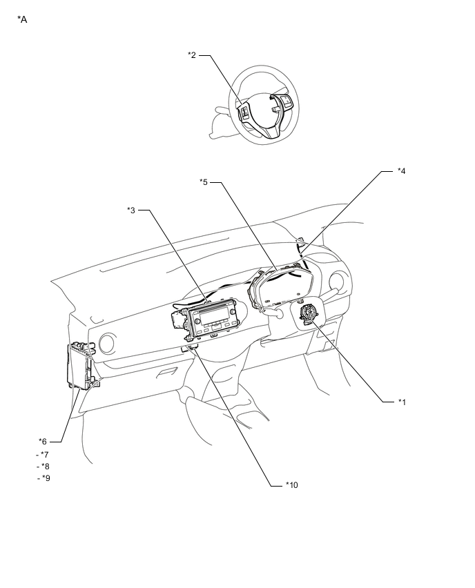
ILLUSTRATION
| *A | for LHD | *B | w/ Daytime Running Right System |
| *1 | SPIRAL CABLE SUB-ASSEMBLY | *2 | STEERING PAD SWITCH ASSEMBLY |
| *3 | RADIO RECEIVER ASSEMBLY | *4 | ANTENNA CORD SUB-ASSEMBLY |
| *5 | COMBINATION METER ASSEMBLY | *6 | INSTRUMENT PANEL JUNCTION BLOCK ASSEMBLY |
| *7 | ACC FUSE | *8 | TAIL RELAY |
| *9 | PANEL FUSE | *10 | AMPLIFIER MICROPHONE ASSEMBLY |
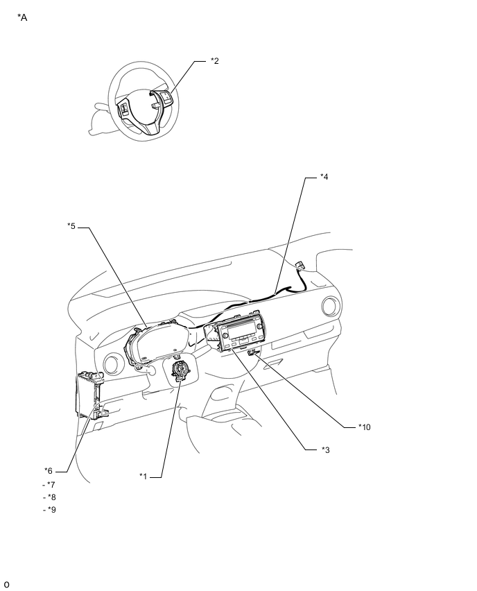
ILLUSTRATION
| *A | for RHD | *B | w/ Daytime Running Right System |
| *1 | SPIRAL CABLE SUB-ASSEMBLY | *2 | STEERING PAD SWITCH ASSEMBLY |
| *3 | RADIO RECEIVER ASSEMBLY | *4 | ANTENNA CORD SUB-ASSEMBLY |
| *5 | COMBINATION METER ASSEMBLY | *6 | INSTRUMENT PANEL JUNCTION BLOCK ASSEMBLY |
| *7 | ACC FUSE | *8 | TAIL RELAY |
| *9 | PANEL FUSE | *10 | AMPLIFIER MICROPHONE ASSEMBLY |