STEERING COLUMN ASSEMBLY(for RHD) INSTALLATION

PROCEDURE


  1. INSTALL STEERING COLUMN ASSEMBLY


    1. Install the steering column assembly onto the instrument panel reinforcement assembly with the 2 nuts and the bolt.

      Torque:
      Bolt
      36 N*m  { 367 kgf*cm, 27 ft.*lbf }
      Nut
      25 N*m  { 255 kgf*cm, 18 ft.*lbf }

      Note


      • Be sure there is no interference around the wire harness.

      • There are two different bolt sizes (12 mm (0.472 in.) or 14 mm (0.551 in.)) available.

    2. Connect all the connectors and clamp the wire harnesses onto the steering column assembly bracket.

    3. Connect the 2 steering column assembly connectors to the power steering ECU assembly.

    4. Install the wire harness clamp to the power steering ECU assembly.

  2. INSTALL STEERING SLIDING YOKE SUB-ASSEMBLY


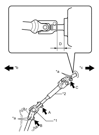
    1. B004690E02
      Text in Illustration
      *1 Steering Sliding Yoke Sub-assembly
      *2 No. 2 Steering Intermediate Shaft Assembly
      *a Matchmark
      *b Front of the Vehicle
      *c Rear of the Vehicle

      Tighten the bolt C while aligning the No. 2 steering intermediate shaft assembly with the position D as shown in the illustration.

      Standard D
      18.5 to 19.7 mm
      Torque:
      35 N*m  { 360 kgf*cm, 26 ft.*lbf }
    2. Align the matchmarks on steering sliding yoke sub-assembly and the steering gear assembly.

      Tech Tips

      When the steering sliding yoke sub-assembly is replaced with a new one, it has no matchmarks, so install it while the head of the bolt B faces the back of the vehicle as shown in the illustration.

    3. Install bolt B.

      Torque:
      35 N*m  { 360 kgf*cm, 26 ft.*lbf }
    4. Tighten bolt A.

      Torque:
      35 N*m  { 360 kgf*cm, 26 ft.*lbf }
  3. INSTALL COLUMN HOLE COVER SILENCER SHEET


    1. Install the column hole cover silencer sheet with the 2 clips.

    2. Install the floor carpet.

  4. INSTALL BRAKE PEDAL SUPPORT SUB-ASSEMBLY

    Click here

  5. INSTALL COMBINATION SWITCH ASSEMBLY


    1. B0048B1

      Install the combination switch assembly onto the steering column assembly with the clamp.

    2. Connect all the connectors to the combination switch assembly.

  6. INSTALL UPPER STEERING COLUMN COVER


    1. Engage the claw to install the upper steering column cover.

  7. INSTALL LOWER STEERING COLUMN COVER


    1. Engage the 4 claws to install the lower steering column cover.

    2. Install the 3 screws.

  8. INSTALL STEERING COLUMN COVER SUPPORT (w/ Entry and Start System)


    1. Engage the 4 claws and install the steering column cover support.

  9. INSTALL STEERING WHEEL ASSEMBLY

    Click here

  10. INSTALL STEERING PAD

    Click here

  11. POSITION FRONT WHEELS FACING STRAIGHT AHEAD

  12. CONNECT CABLE TO NEGATIVE BATTERY TERMINAL

    Torque:
    5.4 N*m  { 55 kgf*cm, 48 in.*lbf }
  13. INSPECT SRS WARNING LIGHT

    Click here

  14. PERFORM CALIBRATION OF TORQUE SENSOR ZERO POINT

    Click here