ILLUSTRATION
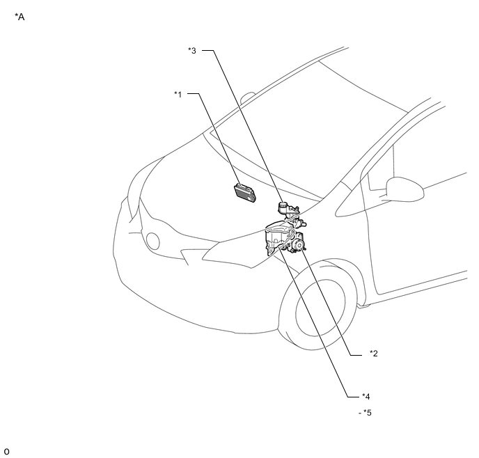
| *A | for LHD | - | - |
| *1 | ECM | *2 | BRAKE ACTUATOR ASSEMBLY - SKID CONTROL ECU |
| *3 | BRAKE MASTER CYLINDER RESERVOIR SUB-ASSEMBLY - BRAKE FLUID LEVEL WARNING SWITCH |
*4 | NO. 1 ENGINE ROOM RELAY BLOCK - ABS NO. 1 FUSE - ABS NO. 2 FUSE - ECU-B NO. 1 FUSE |
| *5 | NO. 1 INTEGRATION RELAY - IG2 FUSE |
- | - |
ILLUSTRATION
| *A | for RHD | - | - |
| *1 | ECM | *2 | BRAKE ACTUATOR ASSEMBLY - SKID CONTROL ECU |
| *3 | BRAKE MASTER CYLINDER RESERVOIR SUB-ASSEMBLY - BRAKE FLUID LEVEL WARNING SWITCH |
*4 | NO. 1 ENGINE ROOM RELAY BLOCK - ABS NO. 1 FUSE - ABS NO. 2 FUSE - ECU-B NO. 1 FUSE |
| *5 | NO. 1 INTEGRATION RELAY - IG2 FUSE |
- | - |
ILLUSTRATION
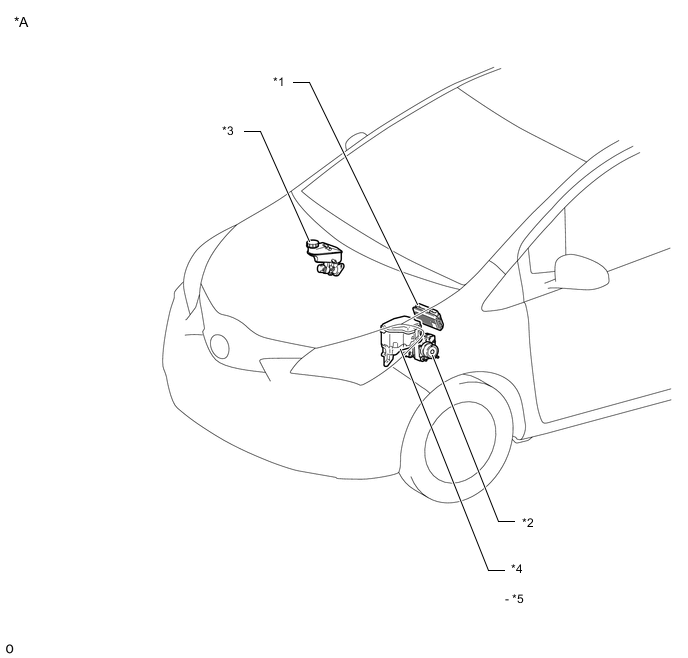
| *1 | FRONT SPEED SENSOR RH | *2 | FRONT SPEED SENSOR LH |
| *3 | FRONT AXLE HUB SUB-ASSEMBLY RH - FRONT SPEED SENSOR ROTOR |
*4 | FRONT AXLE HUB SUB-ASSEMBLY LH - FRONT SPEED SENSOR ROTOR |
| *5 | REAR AXLE HUB AND BEARING ASSEMBLY RH - REAR SPEED SENSOR - REAR SPEED SENSOR ROTOR |
*6 | REAR AXLE HUB AND BEARING ASSEMBLY LH - REAR SPEED SENSOR - REAR SPEED SENSOR ROTOR |
| *7 | SKID CONTROL SENSOR WIRE RH | *8 | SKID CONTROL SENSOR WIRE LH |
ILLUSTRATION
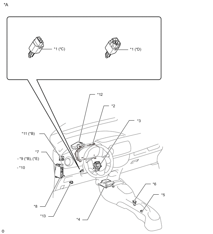
| *A | for LHD | *B | w/ Toyota Safety Sense |
| *C | for LED Type Stop Light | *D | for Bulb Type Stop Light |
| *E | w/o Stop and Start System | - | - |
| *1 | STOP LIGHT SWITCH ASSEMBLY | *2 | COMBINATION METER ASSEMBLY |
| *3 | SPIRAL CABLE SUB-ASSEMBLY - STEERING ANGLE SENSOR |
*4 | AIRBAG SENSOR ASSEMBLY - YAW RATE SENSOR |
| *5 | PARKING BRAKE SWITCH ASSEMBLY | *6 | VSC OFF SWITCH |
| *7 | INSTRUMENT PANEL JUNCTION BLOCK ASSEMBLY | *8 | MAIN BODY ECU (MULTIPLEX NETWORK BODY ECU) |
| *9 | ECU-IG NO. 1 FUSE | *10 | STOP FUSE |
| *11 | NO. 5 RELAY BLOCK - STP Relay |
*12 | POWER STEERING ECU ASSEMBLY |
| *13 | DLC3 | - | - |
ILLUSTRATION
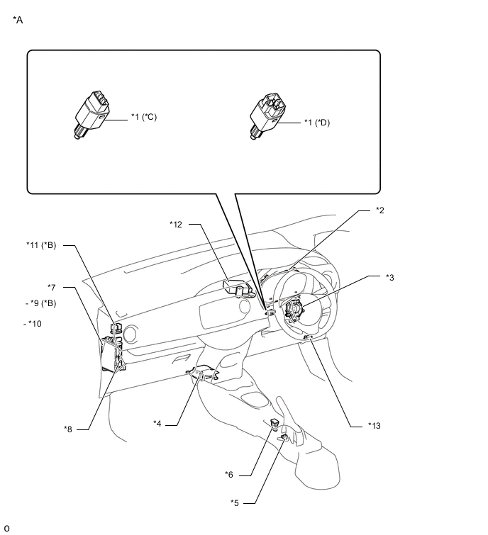
| *A | for RHD | *B | w/ Toyota Safety Sense |
| *C | for LED Type Stop Light | *D | for Bulb Type Stop Light |
| *1 | STOP LIGHT SWITCH ASSEMBLY | *2 | COMBINATION METER ASSEMBLY |
| *3 | SPIRAL CABLE SUB-ASSEMBLY - STEERING ANGLE SENSOR |
*4 | AIRBAG SENSOR ASSEMBLY - YAW RATE SENSOR |
| *5 | PARKING BRAKE SWITCH ASSEMBLY | *6 | VSC OFF SWITCH |
| *7 | INSTRUMENT PANEL JUNCTION BLOCK ASSEMBLY | *8 | MAIN BODY ECU (MULTIPLEX NETWORK BODY ECU) |
| *9 | ECU-IG NO. 1 FUSE | *10 | STOP FUSE |
| *11 | NO. 5 RELAY BLOCK - STP Relay |
*12 | POWER STEERING ECU ASSEMBLY |
| *13 | DLC3 | - | - |