ILLUSTRATION
| *A | for LHD | - | - |
| *1 | ECM | *2 | SKID CONTROL ECU (BRAKE ACTUATOR ASSEMBLY) |
| *3 | BRAKE MASTER CYLINDER RESERVOIR SUB-ASSEMBLY - BRAKE FLUID LEVEL WARNING SWITCH |
*4 | NO. 1 ENGINE ROOM RELAY BLOCK - ABS NO. 1 FUSE - ABS NO. 2 FUSE |
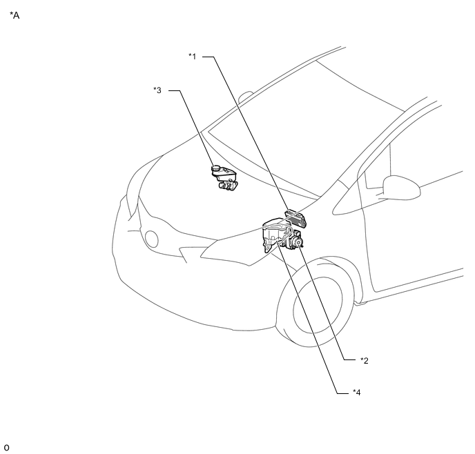
ILLUSTRATION
| *A | for RHD | - | - |
| *1 | ECM | *2 | SKID CONTROL ECU (BRAKE ACTUATOR ASSEMBLY) |
| *3 | BRAKE MASTER CYLINDER RESERVOIR SUB-ASSEMBLY - BRAKE FLUID LEVEL WARNING SWITCH |
*4 | NO. 1 ENGINE ROOM RELAY BLOCK - ABS NO. 1 FUSE - ABS NO. 2 FUSE |
ILLUSTRATION
| *1 | FRONT SPEED SENSOR RH | *2 | FRONT SPEED SENSOR LH |
| *3 | FRONT AXLE HUB SUB-ASSEMBLY RH - FRONT SPEED SENSOR ROTOR |
*4 | FRONT AXLE HUB SUB-ASSEMBLY LH - FRONT SPEED SENSOR ROTOR |
| *5 | REAR AXLE HUB AND BEARING ASSEMBLY RH - REAR SPEED SENSOR - REAR SPEED SENSOR ROTOR |
*6 | REAR AXLE HUB AND BEARING ASSEMBLY LH - REAR SPEED SENSOR - REAR SPEED SENSOR ROTOR |
| *7 | SKID CONTROL SENSOR WIRE RH | *8 | SKID CONTROL SENSOR WIRE LH |
ILLUSTRATION
| *A | for LHD | *B | for LED Type Stop Light |
| *C | for Bulb Type Stop Light | - | - |
| *1 | STOP LIGHT SWITCH ASSEMBLY | *2 | COMBINATION METER ASSEMBLY |
| *3 | MAIN BODY ECU (MULTIPLEX NETWORK BODY ECU) | *4 | INSTRUMENT PANEL JUNCTION BLOCK ASSEMBLY - ECU-IG NO. 1 FUSE - STOP FUSE |
| *5 | PARKING BRAKE SWITCH ASSEMBLY | *6 | POWER STEERING ECU ASSEMBLY |
| *7 | DLC3 | - | - |
ILLUSTRATION
| *A | for RHD | *B | for LED Type Stop Light |
| *C | for Bulb Type Stop Light | - | - |
| *1 | STOP LIGHT SWITCH ASSEMBLY | *2 | COMBINATION METER ASSEMBLY |
| *3 | MAIN BODY ECU (MULTIPLEX NETWORK BODY ECU) | *4 | INSTRUMENT PANEL JUNCTION BLOCK ASSEMBLY - ECU-IG NO. 1 FUSE - STOP FUSE |
| *5 | PARKING BRAKE SWITCH ASSEMBLY | *6 | POWER STEERING ECU ASSEMBLY |
| *7 | DLC3 | - | - |