NAVIGATION SYSTEM, Diagnostic DTC:B1543

DTC Code DTC Name
B1543 Extension Module Disconnected 2

DESCRIPTION

If the radio receiver assembly cannot detect the navigation ECU for a certain period of time (90 seconds) after the engine switch is turned on (ACC) and the radio receiver assembly confirms that the information is missing by checking past navigation ECU recognition information (registered information), this DTC will be stored.

Tech Tips

The Navigation system uses USB communication between devices. If an open, short, short to +B or short to ground occurs in the USB circuit, communication is interrupted and the Navigation system will not operate normally.

DTC No. Detection Item DTC Detection Condition Trouble Area
B1543 Extension Module Disconnected 2 Navigation ECU disconnected
  • Navigation ECU

  • Radio receiver assembly

  • No. 1 navigation wire

  • Harness or connector

Tech Tips

This DTC may be stored due to environmental reasons such as electrical noise or interference.

WIRING DIAGRAM

B000VUNE04

CAUTION / NOTICE / HINT

Note


  • Inspect the fuse for circuits related to this system before performing the following procedure.

  • The following malfunctions may occur if a radio receiver assembly or navigation ECU from another vehicle is installed to this vehicle. Therefore, when replacing the radio receiver assembly or navigation ECU, be sure to replace them with new ones.


    • Communication malfunction DTC is output

    • Does not operate normally

Tech Tips

Depending on the parts that are replaced during vehicle inspection or maintenance, performing initialization, registration or calibration may be needed. Refer to Precaution for Navigation System.

Click here

PROCEDURE


  1. CHECK MAP SCREEN


    1. Turn the engine switch on (ACC) and wait for 60 seconds.

    2. Press the "MAP" switch and check that the map screen is displayed normally.

      Result
      Result Proceed to
      Map screen is displayed normally A
      Map screen is not displayed normally B

      Tech Tips


      • This DTC may be stored due to environmental reasons such as electrical noise or interference.

      • Clear past DTCs when the map screen is displayed normally. (Codes stored due to past environmental factors)


    A
    B
  2. CHECK DTC


    1. Clear the DTCs.

      Click here


      Body Electrical > Navigation System > Clear DTCs
    2. Turn the engine switch off.

    3. Turn the engine switch on (IG) and wait for 90 seconds.

    4. Recheck for DTCs and check that no DTCs are output.

      Click here


      Body Electrical > Navigation System > Trouble Codes
      OK
      No DTCs are output.
      Result
      Proceed to
      OK
      NG

    OK
    NG
  3. CHECK HARNESS AND CONNECTOR (NAVIGATION ECU - BATTERY AND BODY GROUND)


    1. B000ZB9C02
      *a

      Front view of wire harness connector

      (to Navigation ECU)

      Disconnect the navigation ECU connector.

    2. Measure the resistance according to the value(s) in the table below.

      Standard Resistance
      Tester Connection Condition Specified Condition
      P47-23 (GND) - Body ground Always Below 1 Ω
    3. Measure the voltage according to the value(s) in the table below.

      Standard Voltage
      Tester Connection Condition Specified Condition
      P47-10 (+B) - Body ground Always 11 to 14 V
      Result
      Proceed to
      OK
      NG

    NG
    OK
  4. CHECK NO. 1 NAVIGATION WIRE (RADIO RECEIVER ASSEMBLY - NAVIGATION ECU)


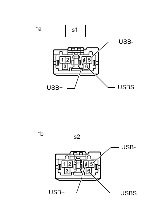
    1. B000Y8YC08
      *a

      Front view of wire harness connector

      (to Navigation ECU)

      *b

      Front view of wire harness connector

      (to Radio Receiver Assembly)

      Disconnect the s1 navigation ECU connector.

    2. Disconnect the s2 radio receiver assembly connector.

    3. Measure the resistance according to the value(s) in the table below.

      Standard Resistance
      Tester Connection Condition Specified Condition
      s1-4 (USB+) - s2-4 (USB+) Always Below 1 Ω
      s1-5 (USB-) - s2-5 (USB-) Always Below 1 Ω
      s1-6 (USBS) - s2-6 (USBS) Always Below 1 Ω
      Result
      Proceed to
      OK
      NG

    NG
    OK
  5. REPLACE NAVIGATION ECU


    1. Replace the navigation ECU with a new one.

      Click here

      Result
      Proceed to
      NEXT

    NEXT
  6. CHECK DTC


    1. Clear the DTCs.

      Click here


      Body Electrical > Navigation System > Clear DTCs
    2. Turn the engine switch off.

    3. Turn the engine switch on (IG) and wait for 90 seconds.

    4. Recheck for DTCs and check that no DTCs are output.

      Click here


      Body Electrical > Navigation System > Trouble Codes
      OK
      No DTCs are output.
      Result
      Proceed to
      OK
      NG

    OK
    NG