NAVIGATION SYSTEM, Diagnostic DTC:B153B

DTC Code DTC Name
B153B DAB (Digital Audio Broadcasting) Antenna 2 Disconnected

DESCRIPTION

This DTC is stored when a malfunction occurs in the digital audio broadcasting antenna (sub) which is connected to the radio receiver assembly.

DTC No. Detection Item DTC Detection Condition Trouble Area
B153B DAB (Digital Audio Broadcasting) Antenna 2 Disconnected The digital audio broadcasting antenna (sub) is not connected
  • Antenna cord sub-assembly

  • No. 2 antenna cord sub-assembly

  • No. 4 antenna cord sub-assembly

  • No. 5 antenna cord sub-assembly LH

  • Quarter window assembly LH (window glass antenna wire)

  • Radio receiver assembly

WIRING DIAGRAM

B000YZOE02

CAUTION / NOTICE / HINT

Note

The following malfunctions may occur if a radio receiver assembly from another vehicle is installed to this vehicle. Therefore, when replacing the radio receiver assembly, be sure to replace it with new one.


  • Communication malfunction DTC is output

  • Does not operate normally

Tech Tips

Depending on the parts that are replaced during vehicle inspection or maintenance, performing initialization, registration or calibration may be needed. Refer to Precaution for Navigation System.

Click here

PROCEDURE


  1. CHECK CONNECTION OF DIGITAL AUDIO BROADCASTING ANTENNA CABLE


    1. Check if the digital audio broadcasting antenna cable is securely connected to the radio receiver assembly.

      OK
      Digital audio broadcasting antenna cable is securely connected
      Result
      Proceed to
      OK
      NG

    NG
    OK
  2. CHECK QUARTER WINDOW ASSEMBLY LH (WINDOW GLASS ANTENNA WIRE)


    1. B000Y6QC29
      *a Tester Probe
      *b Antenna Wire
      *c Tin Foil

      Check for continuity in the window glass antenna wire.

      Tech Tips

      Check for continuity at the center of each antenna wire as shown in the illustration.

      Note

      When cleaning the glass, wipe it in the direction of the wire with a soft dry cloth. Take care not to damage the wire. Do not use detergents or glass cleaners with abrasive ingredients. When measuring resistance, wrap a piece of tin foil around the tip of each probe and press the foil against the wire with your finger as shown in the illustration.

      OK
      There is continuity in the window glass antenna wire.
      Result
      Proceed to
      OK
      NG

    NG
    OK
  3. CHECK ANTENNA CORD SUB-ASSEMBLY


    1. B000VAEC02
      *a

      Front view of wire harness connector

      (to Radio Receiver Assembly)

      *b

      Front view of wire harness connector

      (to No. 2 Antenna Cord Sub-assembly)

      Disconnect the antenna connector from the radio receiver assembly.

    2. Disconnect the antenna connector from the No. 2 antenna cord sub-assembly.

    3. Measure the resistance according to the value(s) in the table below.

      Standard Resistance
      Tester Connection Condition Specified Condition
      DB-2 (DAB-LH [SUB]) - D-1 Always Below 1 Ω
      DB-2a - D-1a Always Below 1 Ω
      DB-2 (DAB-LH [SUB]) - Body ground Always 10 kΩ or higher
      DB-2a - Body ground Always 10 kΩ or higher
      Result
      Proceed to
      OK
      NG

    NG
    OK
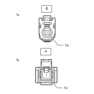
  4. CHECK NO. 2 ANTENNA CORD SUB-ASSEMBLY


    1. B000Z0CC01
      *a

      Front view of wire harness connector

      (to Antenna Cord Sub-assembly)

      *b

      Front view of wire harness connector

      (to No. 4 Antenna Cord Sub-assembly)

      Disconnect the antenna connector from the antenna cord sub-assembly.

    2. Disconnect the antenna connector from the No. 4 antenna cord sub-assembly.

    3. Measure the resistance according to the value(s) in the table below.

      Standard Resistance
      Tester Connection Condition Specified Condition
      D-1 - C-3 Always Below 1 Ω
      D-1a - C-3a Always Below 1 Ω
      D-1 - Body ground Always 10 kΩ or higher
      D-1a - Body ground Always 10 kΩ or higher
      Result
      Proceed to
      OK
      NG

    NG
    OK
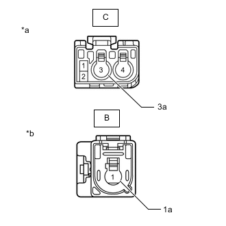
  5. CHECK NO. 4 ANTENNA CORD SUB-ASSEMBLY


    1. B000Y2NC02
      *a

      Front view of wire harness connector

      (to No. 2 Antenna Cord Sub-assembly)

      *b

      Front view of wire harness connector

      (to No. 5 Antenna Cord Sub-assembly LH)

      Disconnect the antenna connector from the No. 2 antenna cord sub-assembly.

    2. Disconnect the antenna connector from the No. 5 antenna cord sub-assembly LH.

    3. Measure the resistance according to the value(s) in the table below.

      Standard Resistance
      Tester Connection Condition Specified Condition
      C-3 - B-1 Always Below 1 Ω
      C-3a - B-1a Always Below 1 Ω
      C-3 - Body ground Always 10 kΩ or higher
      C-3a - Body ground Always 10 kΩ or higher
      Result
      Proceed to
      OK
      NG

    NG
    OK
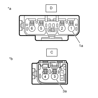
  6. CHECK NO. 5 ANTENNA CORD SUB-ASSEMBLY LH


    1. B000YCCC04
      *a

      Front view of wire harness connector

      (to No. 4 Antenna Cord Sub-assembly)

      *b

      Front view of wire harness connector

      (to Quarter Window Assembly LH [Window Glass Antenna Wire])

      Disconnect the antenna connector from the No. 4 antenna cord sub-assembly.

    2. Disconnect the antenna connector from the quarter window assembly LH (window glass antenna wire).

    3. Measure the resistance according to the value(s) in the table below.

      Standard Resistance
      Tester Connection Condition Specified Condition
      B-1 - A-1 Always Below 1 Ω
      B-1a - A-1a Always Below 1 Ω
      B-1 - Body ground Always 10 kΩ or higher
      B-1a - Body ground Always 10 kΩ or higher
      Result
      Proceed to
      OK
      NG

    OK
    NG