NAVIGATION SYSTEM, Diagnostic DTC:B15C0, B15C1

DTC Code DTC Name
B15C0 Short in GPS Antenna
B15C1 Open in GPS Antenna

DESCRIPTION

These DTCs are stored when a malfunction occurs in the navigation antenna assembly.

DTC No. Detection Item DTC Detection Condition Trouble Area
B15C0 Short in GPS Antenna Navigation antenna error
  • Navigation antenna assembly

  • Antenna cord sub-assembly

  • Antenna divider*

  • Navigation ECU

  • Radio receiver assembly

B15C1 Open in GPS Antenna Error of the power source to the navigation antenna
  • Navigation antenna assembly

  • Antenna cord sub-assembly

  • Antenna divider*

  • Navigation ECU

  • Radio receiver assembly


WIRING DIAGRAM

B000XVIE01

  1. B000VHDE03

CAUTION / NOTICE / HINT

Note

The following malfunctions may occur if a radio receiver assembly or navigation ECU from another vehicle is installed to this vehicle. Therefore, when replacing the radio receiver assembly or navigation ECU, be sure to replace them with new ones.


  • Communication malfunction DTC is output

  • Does not operate normally

Tech Tips

Depending on the parts that are replaced during vehicle inspection or maintenance, performing initialization, registration or calibration may be needed. Refer to Precaution for Navigation System.

Click here

PROCEDURE


  1. CHECK DTC


    1. Clear the DTCs.

      Click here


      Body Electrical > Navigation System > Clear DTCs
    2. Recheck for DTCs and check that no DTCs are output.

      Click here


      Body Electrical > Navigation System > Trouble Codes
      OK
      No DTCs are output.
      Result
      Proceed to
      OK
      NG

    OK
    NG
  2. INSPECT NAVIGATION ANTENNA ASSEMBLY


    1. Remove the navigation antenna assembly.

      Click here

    2. Inspect the navigation antenna assembly.

      Click here

      Result
      Result Proceed to
      OK (w/ Telematics Transceiver) A
      OK (w/o Telematics Transceiver) B
      NG C

    B
    C
    A
  3. INSPECT ANTENNA DIVIDER


    1. B000WANN02

      Remove the antenna divider.

      Click here

    2. Measure the resistance according to the value(s) in the table below.

      Standard Resistance
      Tester Connection Condition Specified Condition
      6 - 2 Always 10 kΩ or higher
      2 - 2a Always 243 to 267 Ω
      6 - 6a Always 10 kΩ or higher
      Result
      Proceed to
      OK
      NG

    NG
    OK
  4. CHECK ANTENNA CORD SUB-ASSEMBLY


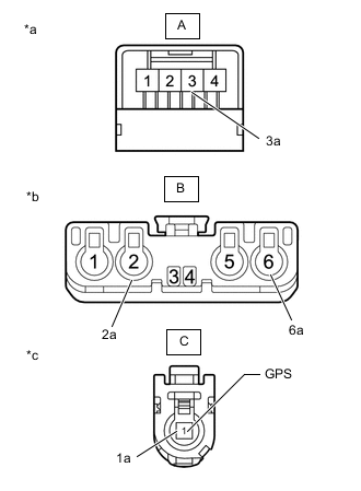
    1. B000XMRC01
      *a

      Front view of wire harness connector

      (to Navigation Antenna Assembly)

      *b

      Front view of wire harness connector

      (to Antenna Divider)

      *c

      Front view of wire harness connector

      (to Navigation ECU)

      Disconnect the antenna connector from the navigation antenna assembly.

    2. Disconnect the antenna connector from the antenna divider.

    3. Disconnect the antenna connector from the navigation ECU.

    4. Measure the resistance according to the value(s) in the table below.

      Standard Resistance
      Tester Connection Condition Specified Condition
      A-3 - B-6 Always Below 1 Ω
      A-3a - B-6a Always Below 1 Ω
      B-2 - C-1 (GPS) Always Below 1 Ω
      B-2a - C-1a Always Below 1 Ω
      A-3 - Body ground Always 10 kΩ or higher
      A-3a - Body ground Always 10 kΩ or higher
      B-2 - Body ground Always 10 kΩ or higher
      B-2a - Body ground Always 10 kΩ or higher
      Result
      Proceed to
      OK
      NG

    NG
    OK
  5. REPLACE ANTENNA DIVIDER


    1. Replace the antenna divider with a new or known good one.

      Click here

      Result
      Proceed to
      NEXT

    NEXT
  6. CHECK DTC


    1. Clear the DTCs.

      Click here


      Body Electrical > Navigation System > Clear DTCs
    2. Recheck for DTCs and check that no DTCs are output.

      Click here


      Body Electrical > Navigation System > Trouble Codes
      OK
      No DTCs are output.
      Result
      Proceed to
      OK
      NG

    OK
    NG
  7. REPLACE NAVIGATION ECU


    1. Replace the navigation ECU with a new one.

      Click here

      Result
      Proceed to
      NEXT

    NEXT
  8. CHECK DTC


    1. Clear the DTCs.

      Click here


      Body Electrical > Navigation System > Clear DTCs
    2. Recheck for DTCs and check that no DTCs are output.

      Click here


      Body Electrical > Navigation System > Trouble Codes
      OK
      No DTCs are output.
      Result
      Proceed to
      OK
      NG

    OK
    NG
  9. CHECK ANTENNA CORD SUB-ASSEMBLY


    1. B000Y11C05
      *a

      Front view of wire harness connector

      (to Navigation Antenna Assembly)

      *b

      Front view of wire harness connector

      (to Navigation ECU)

      Disconnect the antenna connector from the navigation antenna assembly.

    2. Disconnect the antenna connector from the navigation ECU.

    3. Measure the resistance according to the value(s) in the table below.

      Standard Resistance
      Tester Connection Condition Specified Condition
      A-3 - B-1 (GPS) Always Below 1 Ω
      A-3a - B-1a Always Below 1 Ω
      A-3 - Body ground Always 10 kΩ or higher
      A-3a - Body ground Always 10 kΩ or higher
      Result
      Proceed to
      OK
      NG

    NG
    OK
  10. REPLACE NAVIGATION ECU


    1. Replace the navigation ECU with a new one.

      Click here

      Result
      Proceed to
      NEXT

    NEXT
  11. CHECK DTC


    1. Clear the DTCs.

      Click here


      Body Electrical > Navigation System > Clear DTCs
    2. Recheck for DTCs and check that no DTCs are output.

      Click here


      Body Electrical > Navigation System > Trouble Codes
      OK
      No DTCs are output.
      Result
      Proceed to
      OK
      NG

    OK
    NG