NOISE FILTER ON-VEHICLE INSPECTION

PROCEDURE


  1. INSPECT RADIO SETTING CONDENSER (for High Mounted Stop Light)


    1. With the radio setting condenser installed, check that there is no looseness or other abnormalities.

    2. Remove the bolt.

    3. Detach the clamp and disconnect the radio setting condenser with wire harness from the vehicle body.

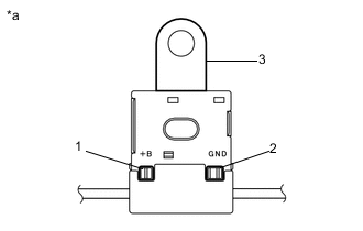
    4. B000V0WC10
      *a Radio Setting Condenser

      Measure the resistance and voltage of the radio setting condenser according to the value(s) in the table below.

      Note

      Before measuring the resistance and voltage, be sure to use insulated probes to avoid a short circuit between the tester terminal and bracket.

      Standard Resistance
      Tester Connection Condition Specified Condition
      1 - 2
      • Engine switch off

      • High mounted stop light off

      • Luggage compartment room light off

      10 kΩ or higher
      1 - 3 10 kΩ or higher
      1 - Body ground Below 1 Ω
      Standard Voltage
      Tester Connection Condition Specified Condition
      2 - Body ground
      • Engine switch on

      • High mounted stop light off

      Below 1 V
      3 - Body ground
      • Engine switch on

      • Luggage compartment room light off

      Below 1 V
      2 - Body ground
      • Engine switch on

      • High mounted stop light on

      11 to 14 V
      3 - Body ground
      • Engine switch on

      • Luggage compartment room light on

      11 to 14 V

      If the result is not as specified, replace the radio setting condenser.

  2. INSPECT RADIO SETTING CONDENSER (for Window Defogger)


    1. With the radio setting condenser installed, check that there is no looseness or other abnormalities.

    2. Remove the bolt.

    3. Detach the clamps and disconnect the radio setting condenser with wire harness from the vehicle body.

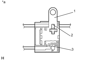
    4. B000WT9C11
      *a Radio Setting Condenser

      Measure the resistance and voltage of the radio setting condenser according to the value(s) in the table below.

      Standard Resistance
      Tester Connection Condition Specified Condition
      1 - 2
      • Engine switch off

      • Window Defogger turned off

      10 kΩ or higher
      3 - Body ground Below 1 Ω
      Standard Voltage
      Tester Connection Condition Specified Condition
      1 - Body ground
      • Engine switch on

      • Window Defogger turned off

      Below 1 V
      1 - Body ground
      • Engine switch on

      • Window Defogger turned on

      11 to 14 V

      If the result is not as specified, replace the radio setting condenser.