WINDOW GLASS ANTENNA WIRE ON-VEHICLE INSPECTION

PROCEDURE


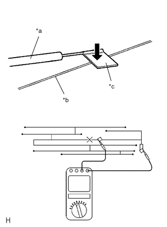
  1. INSPECT WINDOW GLASS ANTENNA WIRE


    1. B000Y6QC15
      *a Tester Probe
      *b Antenna Wire
      *c Aluminum Foil

      Check for continuity of the antenna.

      Tech Tips

      Check for continuity at the center of each antenna wire as shown in the illustration.

      Note


      • When cleaning the glass, wipe it in the direction of the wire with a soft dry cloth. Take care not to damage the wire. Do not use detergents or glass cleaners with abrasive ingredients.

      • When measuring resistance, wrap a piece of aluminum foil around the tip of the negative probe and press the foil against the wire with your finger, as shown in the illustration.

      OK
      There is continuity in the antenna.

      If the result is not as specified, repair the window glass antenna wire.