AUDIO AND VISUAL SYSTEM, Diagnostic DTC:B15D0

DTC Code DTC Name
B15D0 MOST Communication Malfunction

DESCRIPTION

This DTC is stored when the MOST network cannot be established after the master unit is activated.

Tech Tips


  • If a short occurs in a speaker circuit, the sound from the corresponding speaker will be low or almost impossible to hear. If the volume is turned up in this situation, to prevent excessive current flow due to the short circuit, the stereo component amplifier assembly stops operating when its output exceeds a certain level. When the operation of the stereo component amplifier assembly stops, the audio and visual system will not function normally. This is because MOST communication will stop due to the shutdown of the amplifier causing an error in the MOST network. The stereo component amplifier assembly will start operating again when the engine switch is turned off and back on (ACC) again. However, the amplifier will stop operating again if its output exceeds a certain level.

  • When the stereo component amplifier assembly stops operating and a malfunction occurs in the audio and visual system due to a short in a speaker circuit, this DTC will be stored.

DTC No. Detection Item DTC Detection Condition Trouble Area
B15D0 MOST Communication Malfunction MOST network cannot be established.
  • MOST line check

  • MOST communication line connector

  • MOST communication line

  • Stereo component amplifier assembly

  • Radio receiver assembly

Tech Tips


  • For the MOST network, the radio receiver assembly is the master unit.

  • Errors may occur in MOST communication between devices due to problems such as electrical noise.

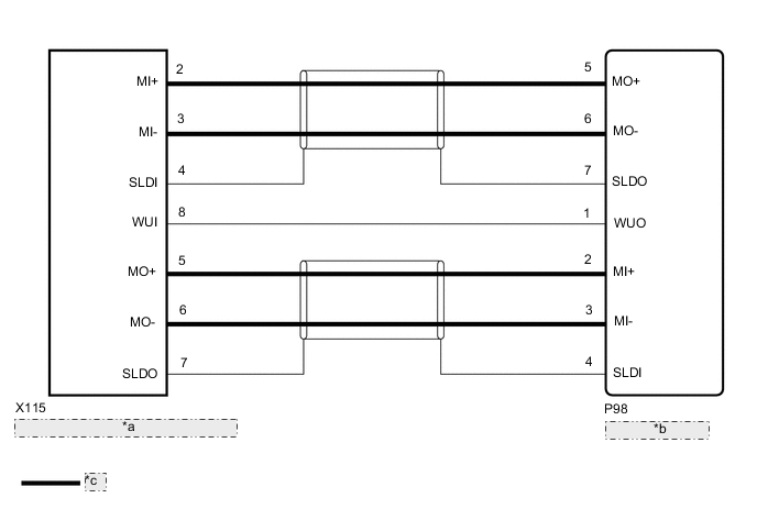
WIRING DIAGRAM

B000WU8E02
*a Stereo Component Amplifier Assembly
*b Radio Receiver Assembly
*c MOST Communication Line

CAUTION / NOTICE / HINT

Note

The following malfunctions may occur if a radio receiver assembly from another vehicle is installed to this vehicle. Therefore, when replacing the radio receiver assembly, be sure to replace it with new one.


  • Communication malfunction DTC is output

  • Does not operate normally

Tech Tips

Depending on the parts that are replaced during vehicle inspection or maintenance, performing initialization, registration or calibration may be needed. Refer to Precaution for Audio and Visual System.

Click here

PROCEDURE


  1. CHECK RESULT OF SYSTEM CHECK MODE


    1. B000UNVC01
      *a Node position number for devices connected to the MOST network
      *b Device Name
      *c Result

      Enter the "System Check Mode" screen. Refer to Check DTC (Check Using System Check Mode Screen) in DTC Check / Clear.

      Click here

    2. Check the result on the "System Check Mode" screen.

      Result
      Result Proceed to
      "MOST" is displayed for "DCU". A
      "DETAIL" is displayed for "DCU". B

    B
    A
  2. PERFORM MOST LINE CHECK


    1. B000YKZC01
      *a Node position number for devices connected to the MOST network
      *b Device Name
      *c Result

      Enter the "MOST Line Check" screen. Refer to Check DTC (Check Using System Check Mode Screen) in DTC Check / Clear.

      Click here

    2. Check if the MOST communication lines connectors and terminals of the radio receiver assembly and stereo component amplifier assembly for connection problems.

    3. Check the result on the "MOST Line Check" screen.

      Result
      Result Proceed to
      "OK" is displayed for all items. A
      "NCON" is displayed for "AMP". B
      "NCON" is displayed for "DCU". C

      Tech Tips


      • When "NCON" is displayed for more than 1 item, proceed to the step for the device that has the smallest node position number.

      • The "MOST Line Check" screen can be displayed only when DTC B15D0 is stored.


    B
    C
    A
  3. CHECK HARNESS AND CONNECTOR (RADIO RECEIVER ASSEMBLY - STEREO COMPONENT AMPLIFIER ASSEMBLY)


    1. Disconnect the P98 radio receiver assembly connector.

    2. Disconnect the X115 stereo component amplifier assembly connector.

    3. Measure the resistance according to the value(s) in the table below.

      Standard Resistance
      Tester Connection Condition Specified Condition
      P98-2 (MI+) - X115-5 (MO+) Always Below 1 Ω
      P98-3 (MI-) - X115-6 (MO-) Always Below 1 Ω
      P98-4 (SLDI) - X115-7 (SLDO) Always Below 1 Ω
      P98-5 (MO+) - X115-2 (MI+) Always Below 1 Ω
      P98-6 (MO-) - X115-3 (MI-) Always Below 1 Ω
      P98-7 (SLDO) - X115-4 (SLDI) Always Below 1 Ω
      P98-2 (MI+) - Body ground Always 10 kΩ or higher
      P98-3 (MI-) - Body ground Always 10 kΩ or higher
      P98-4 (SLDI) - Body ground Always 10 kΩ or higher
      P98-5 (MO+) - Body ground Always 10 kΩ or higher
      P98-6 (MO-) - Body ground Always 10 kΩ or higher
      P98-7 (SLDO) - Body ground Always 10 kΩ or higher
      Result
      Proceed to
      OK
      NG

    NG
    OK
  4. CHECK STEREO COMPONENT AMPLIFIER ASSEMBLY


    1. Replace the stereo component amplifier assembly with a new or known good one.

      Click here

    2. Clear the DTCs.

      Click here


      Body Electrical > Navigation System > Clear DTCs
    3. Recheck for DTCs and check that no DTCs are output.

      Click here


      Body Electrical > Navigation System > Trouble Codes
      OK
      No DTCs are output.
      Result
      Proceed to
      OK
      NG

    OK
    NG
  5. CHECK HARNESS AND CONNECTOR (WAKE-UP SIGNAL)


    1. B000Y99C51
      *a

      Front view of wire harness connector

      (to Stereo Component Amplifier Assembly)

      Disconnect the stereo component amplifier assembly connector.

    2. Measure the voltage according to the value(s) in the table below.

      Standard Voltage
      Tester Connection Switch Condition Specified Condition
      X115-8 (WUI) - Body ground Engine switch on (ACC) 4.5 V or higher
      Result
      Proceed to
      OK
      NG

    OK
    NG
  6. CHECK HARNESS AND CONNECTOR (RADIO RECEIVER ASSEMBLY - STEREO COMPONENT AMPLIFIER ASSEMBLY)


    1. Disconnect the P98 radio receiver assembly connector.

    2. Disconnect the X115 stereo component amplifier assembly connector.

    3. Measure the resistance according to the value(s) in the table below.

      Standard Resistance
      Tester Connection Condition Specified Condition
      P98-1 (WUO) - X115-8 (WUI) Always Below 1 Ω
      P98-1 (WUO) - Body ground Always 10 kΩ or higher
      Result
      Proceed to
      OK
      NG

    OK
    NG