AUDIO AND VISUAL SYSTEM, Diagnostic DTC:B15C2

DTC Code DTC Name
B15C2 Speed Signal Malfunction

DESCRIPTION

The navigation ECU receives a vehicle speed signal from the combination meter assembly and information from the navigation antenna, and then adjusts the vehicle position.

The navigation ECU stores this DTC when the difference between the speed information that the navigation antenna assembly receives and the SPD pulse received from the combination meter assembly becomes large.

Tech Tips


  • A voltage of 12 V or 5 V is output from each ECU and then input to the combination meter assembly. The signal is changed to a pulse signal at the transistor in the combination meter assembly. Each ECU controls the respective systems based on the pulse signal.

  • If a short occurs in any of the ECUs or in the wire harness connected to an ECU, all systems in the diagram below will not operate normally.

DTC No. Detection Item DTC Detection Condition Trouble Area
B15C2 Speed Signal Malfunction A difference between the GPS speed and SPD pulse is detected
  • Meter / gauge system

  • Navigation ECU

  • Radio receiver assembly

  • Harness or connector

WIRING DIAGRAM

B000WPYE02
*1 Combination Meter Assembly
*2 Navigation ECU

CAUTION / NOTICE / HINT

Note

The following malfunctions may occur if a radio receiver assembly or navigation ECU from another vehicle is installed to this vehicle. Therefore, when replacing the radio receiver assembly or navigation ECU, be sure to replace them with new ones.


  • Communication malfunction DTC is output

  • Does not operate normally

Tech Tips

Depending on the parts that are replaced during vehicle inspection or maintenance, performing initialization, registration or calibration may be needed. Refer to Precaution for Audio and Visual System.

Click here

PROCEDURE


  1. CHECK DTC


    1. Clear the DTCs.

      Click here


      Body Electrical > Navigation System > Clear DTCs
    2. Recheck for DTCs and check that no DTCs are output.

      Click here


      Body Electrical > Navigation System > Trouble Codes
      OK
      No DTCs are output.
      Result
      Proceed to
      OK
      NG

    OK
    NG
  2. CHECK VEHICLE SENSOR (OPERATION CHECK)


    1. B000XT7C01
      *a Example

      Enter the "System Sensors Check" screen. Refer to Check GPS & Vehicle Sensors in Operation Check.

      Click here

    2. While driving the vehicle, compare the "Speed" indicator to the reading on the speedometer. Check if these readings are almost equal.

      Tech Tips

      The combination meter assembly receives the vehicle speed signal from the skid control ECU via CAN communication. Therefore, perform the following inspection referring to values in the Data List of the skid control ECU because it is the source of the vehicle speed signal.

      OK
      Vehicle speed displayed on the "System Sensors Check" screen is almost the same as the actual vehicle speed measured using the GTS.
      Click here Click here
      Result
      Proceed to
      OK
      NG

    OK
    NG
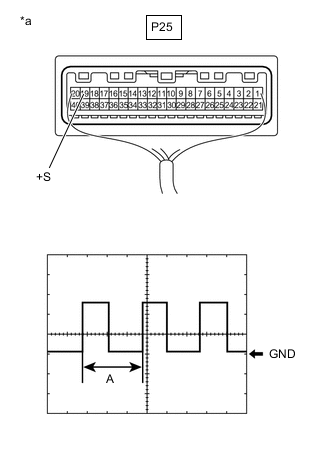
  3. CHECK COMBINATION METER ASSEMBLY (OUTPUT WAVEFORM)


    1. B000VJYC01
      *a

      Component with harness connected

      (Combination Meter Assembly)

      Check the output waveform.


      1. Remove the combination meter assembly with the connector(s) still connected.

        Click here

      2. Connect an oscilloscope to terminal P25-19 (+S) and body ground.

      3. Turn the engine switch on (IG).

      4. Turn a wheel slowly.

      5. Check the signal waveform according to the condition(s) in the table below.

        Item Condition
        Measurement terminal P25-19 (+S) - Body ground
        Tool setting 5 V/DIV., 20 ms./DIV.
        Vehicle condition Wheel being rotated
        OK
        The waveform is similar to that shown in the illustration.

        Tech Tips

        When the system is functioning normally, one wheel revolution generates 4 pulses. As the vehicle speed increases, the width indicated by A in the illustration narrows.

      Result
      Proceed to
      OK
      NG

    NG
    OK
  4. CHECK HARNESS AND CONNECTOR (NAVIGATION ECU - COMBINATION METER ASSEMBLY)


    1. Disconnect the P47 navigation ECU connector.

    2. Disconnect the P25 combination meter assembly connector.

    3. Measure the resistance according to the value(s) in the table below.

      Standard Resistance
      Tester Connection Condition Specified Condition
      P47-9 (SPD) - P25-19 (+S) Always Below 1 Ω
      Result
      Proceed to
      OK
      NG

    NG
    OK
  5. REPLACE NAVIGATION ECU


    1. Replace the navigation ECU with a new one.

      Click here

      Result
      Proceed to
      NEXT

    NEXT
  6. CHECK DTC


    1. Clear the DTCs.

      Click here


      Body Electrical > Navigation System > Clear DTCs
    2. Recheck for DTCs and check that no DTCs are output.

      Click here


      Body Electrical > Navigation System > Trouble Codes
      OK
      No DTCs are output.
      Result
      Proceed to
      OK
      NG

    OK
    NG