RADIATOR ON-VEHICLE INSPECTION

CAUTION / NOTICE / HINT

CAUTION:

Do not remove the radiator cap sub-assembly and reserve tank cap while the engine and radiator assembly are still hot. Pressurized, hot engine coolant and steam may be released and cause serious burns.

B000YIY

PROCEDURE


  1. CHECK RESERVE TANK CAP

    CAUTION:

    Do not remove the radiator cap sub-assembly and reserve tank cap while the engine and radiator assembly are still hot. Pressurized, hot engine coolant and steam may be released and cause serious burns.


    1. Measure the valve opening pressure.


      1. B000UUUC11
        *a O-Ring
        *b Rubber Packing

        If there are water stains or foreign matter on the O-ring, clean it with water and finger scouring.

      2. Check that the O-ring is not deformed, cracked or swollen.

      3. Apply engine coolant to the O-ring and rubber packing before using a radiator cap tester.

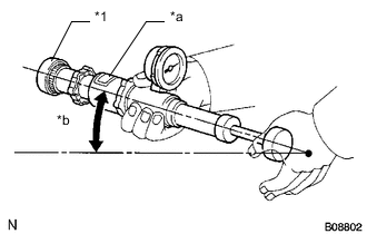
      4. B000U70C17
        *1 Reserve Tank Cap
        *a Radiator Cap Tester
        *b 30° or more

        When using the radiator cap tester, tilt it upward 30° or more.

      5. Pump the radiator cap tester several times, and check the maximum pressure.

        Pumping Speed
        1 pump per second

        Tech Tips

        Even if the reserve tank cap cannot maintain the maximum pressure, it is not a defect.

        Result
        Item Specified Condition

        Standard pressure

        (for brand-new reserve tank cap)

        93 to 123 kPa (0.9 to 1.3 kgf/cm2, 13.5 to 18.0 psi)

        Minimum pressure

        (for used reserve tank cap)

        79 kPa (0.8 kgf/cm2, 11.5 psi)

        If the maximum pressure is less than the minimum pressure, replace the reserve tank cap.

  2. INSPECT FINS FOR BLOCKAGE

    B000UCW

    1. If the fins are clogged, wash them with water or a steam cleaner and dry them with compressed air.

      Note


      • To avoid damaging the fins, keep the tip of nozzle at right angles to the core surface.

      • If the nozzle of the steam cleaner is too close to the core, there is a possibility of damaging the fins. Always maintain the following distances from the core when using a steam cleaner.

        Standard Steam Cleaner Nozzle Distance
        Steam Pressure Specified Condition

        2942 to 4903 kPa (30.0 to 50.0 kgf/cm2, 427 to 711 psi)

        300 mm (11.8 in.)

        4903 to 7845 kPa (50.0 to 80.0 kgf/cm2, 711 to 1138 psi)

        500 mm (19.7 in.)
      • If the fins are bent, straighten them with a screwdriver or pliers.

      • Do not expose electronic components to water.