CYLINDER BLOCK REASSEMBLY

CAUTION / NOTICE / HINT

Tech Tips

Perform "Inspection After Repair" after replacing the piston sub-assembly with pin or piston ring set.


PROCEDURE


  1. INSTALL STUD BOLT

    Tech Tips

    If a stud bolt is deformed or its threads are damaged, replace it.


    1. Using an E8 "TORX" socket wrench, install the stud bolts.

      B000X1CC01
      *a Upper Side *b Lower Side
      *c 26.5 mm (1.04 in.) *d 18 mm (0.709 in.)
      *e 50 mm (1.97 in.) *f 14 mm (0.551 in.)
      *g 13 mm (0.512 in.) *h 29 mm (1.14 in.)
      Torque:
      Stud Bolt A
      10 N*m  { 102 kgf*cm, 7 ft.*lbf }
      Stud Bolt B
      9.0 N*m  { 92 kgf*cm, 80 in.*lbf }
  2. INSTALL NO. 1 OIL NOZZLE SUB-ASSEMBLY


    1. B000XQI

      Using a 5 mm hexagon socket wrench, install the 4 No. 1 oil nozzle sub-assemblies with the 4 bolts.

      Torque:
      10 N*m  { 102 kgf*cm, 7 ft.*lbf }
  3. INSTALL PISTON SUB-ASSEMBLY WITH PIN

    Tech Tips

    Perform "Inspection After Repair" after replacing the piston sub-assembly with pin.



    1. B000VL7C04
      *a Cutout

      Using a screwdriver, install a new piston pin hole snap ring at one end of the piston pin hole.

      Tech Tips

      Be sure that the end gap of the piston pin hole snap ring is not aligned with the cutout of the piston.

    2. B000XUY

      Gradually heat the piston to approximately 80°C (176°F).

      CAUTION:

      B000VCW

      • Do not touch the piston without wearing protective gloves, as it may get very hot during operation.

      • Be sure to wear protective gloves to avoid burns.

    3. Coat the piston pin and connecting rod with engine oil.

    4. B000YUTC01
      *a for Bank 1
      *b for Bank 2
      *c Front Mark

      Align the front marks of the piston and connecting rod as shown in the illustration. Then push in the piston pin with your thumb until the piston pin contacts the snap ring.

      Front Mark
      Item Number of Front Mark
      Bank 1 Piston 1
      Bank 2 Piston 2

      Note

      For bank 1, install the piston to the connecting rod so that the front mark of the piston and that of the connecting rod face the opposite direction.

      Tech Tips

      The piston and piston pin are a matched set.

    5. B000W4D

      Check the fitting condition between the piston and piston pin by trying to move the piston back and forth on the piston pin.

    6. B000VL7C05
      *a Cutout

      Using a screwdriver, install a new piston pin hole snap ring at the other end of the piston pin hole.

      Tech Tips

      Be sure that the end gap of the piston pin hole snap ring is not aligned with the cutout of the piston.

  4. INSTALL PISTON RING SET

    Tech Tips

    Perform "Inspection After Repair" after replacing the piston ring set.



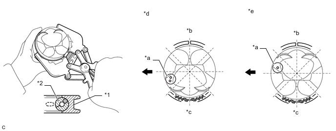
    1. Install the oil ring expander by hand.

    2. Using a piston ring expander, install the oil ring as shown in the illustration.

      B000UQOC01
      *1 Oil Ring *2 Oil Ring Expander
      *a Front Mark *b Oil Ring End
      *c Oil Ring Expander End *d for Bank 2
      *e for Bank 1 - -
      B000XM7 Engine Front - -
    3. B000YBCC02
      *1 No. 1 Compression Ring
      *2 No. 2 Compression Ring
      *a Code Mark

      Using a piston ring expander, install the No. 1 compression ring and No. 2 compression ring so that the code marks are positioned as shown in the illustration.

      Tech Tips


      • Install the No. 1 compression ring with the code mark (1N) facing upward.

      • Install the No. 2 compression ring with the code mark (2N) facing upward.

    4. B000Z6NC01
      *a Front Mark
      *b No. 1 Compression Ring End
      *c No. 2 Compression Ring End
      *d Oil Ring
      *e Oil Ring Expander
      *f for Bank 1
      *g for Bank 2

      Position the piston ring set so that the ring ends are as shown in the illustration.

      Note

      Do not align the ring ends.

  5. INSTALL CRANKSHAFT BEARING


    1. B000VQ4C15
      *a No. 1 and No. 5 Journal Bearing
      *b No. 2, No. 3 and No. 4 Journal Bearing
      *c 22.5 mm (0.886 in.)
      *d 21 mm (0.827 in.)

      Clean the main journal and both surfaces of the crankshaft bearings.

      Note

      Crankshaft bearings come in widths of 22.5 mm (0.886 in.) and 21.0 mm (0.827 in.). Install the 22.5 mm (0.886 in.) bearings to the No. 1 and No. 5 journal positions. Install the 21 mm (0.827 in.) bearings to the No. 2, No. 3 and No. 4 journal positions.

    2. B000WSYC05
      *a Correct
      *b Incorrect

      Install the crankshaft bearings.


      1. Install the crankshaft bearings to the cylinder block sub-assembly as shown in the illustration.

        Note


        • Do not apply engine oil to the crankshaft bearings or the contact surfaces.

        • Both sides of the oil groove in the cylinder block sub-assembly should be visible through the oil feed holes in the crankshaft bearing. The amount visible on each side of the holes should be equal.

        • Do not allow coolant to come into contact with the crankshaft bearing inner surface.

        • If any coolant comes into contact with the crankshaft bearing inner surface, replace the crankshaft bearing with a new one.

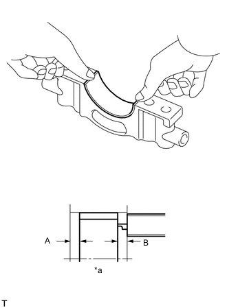
    3. B000UY7C03
      *a Vernier Caliper

      Install the crankshaft bearings.


      1. Install the crankshaft bearings to the crankshaft bearing caps.

      2. Using a vernier caliper, measure the distance between the crankshaft bearing cap edge and the crankshaft bearing edge.

        Difference between (A) and (B)
        0 to 0.7 mm (0 to 0.0276 in.)

        Note


        • Do not apply engine oil to the crankshaft bearing inner surfaces or crankshaft bearing cap contact surfaces.

        • Do not allow coolant to come into contact with the crankshaft bearing inner surface.

        • If any coolant comes into contact with the crankshaft bearing inner surface, replace the crankshaft bearing with a new one.

  6. INSTALL CRANKSHAFT THRUST WASHER SET


    1. Apply engine oil to the crankshaft thrust washer set.

    2. B000YRI

      Install the crankshaft thrust washer set to the No. 2 journal position of the cylinder block sub-assembly with the oil grooves facing outward.

  7. INSTALL CRANKSHAFT


    1. Apply engine oil to the upper crankshaft bearing and lower crankshaft bearing, then place the crankshaft on the cylinder block sub-assembly.

    2. B000VUY

      Confirm the front marks and numbers of the crankshaft bearing caps, and install the crankshaft bearing caps to the cylinder block sub-assembly.

      Tech Tips

      A number is marked on each crankshaft bearing cap to indicate the installation position.

    3. Apply a light coat of engine oil to the threads and under the heads of the crankshaft bearing cap set bolts.

    4. Temporarily install the 10 crankshaft bearing cap set bolts to the inside positions.

    5. B000Z64C02
      *a Less than 6 mm (0.236 in.)
      *b Bolt Length

      Install the crankshaft bearing cap by hand until the clearance between the crankshaft bearing cap and cylinder block sub-assembly is less than 6 mm (0.236 in.)

      Bolt Length
      91 mm (3.58 in.)

      Tech Tips

      Place paint marks on the inside camshaft bearing cap set bolts indicating the required clearance and use them as a guide.

    6. B000XJD

      Using a plastic hammer, lightly tap the crankshaft bearing cap to ensure a proper fit.

    7. Apply a light coat of engine oil to the threads and under the heads of the 10 crankshaft bearing cap set bolts.

    8. B000TZ0C01
      *a Bolt Length

      Temporarily install the 10 crankshaft bearing cap set bolts to the outside positions.

      Bolt Length
      79.5 mm (3.13 in.)

      Tech Tips

      Tighten the crankshaft bearing cap set bolts in 2 progressive steps.

    9. Step 1:


      1. B000URHN11

        Install and uniformly tighten the 20 crankshaft bearing cap set bolts in the order shown in the illustration.

        Torque:
        for Inside Position
        61 N*m  { 622 kgf*cm, 45 ft.*lbf }
        for Outside Position
        27 N*m  { 275 kgf*cm, 20 ft.*lbf }

        Note

        Check that the crankshaft turns smoothly during the procedure.

        If any of the crankshaft bearing cap set bolts cannot be tightened to the specified torque, replace it.

    10. Step 2:


      1. B000YTYC06
        *a Paint Mark
        *b 90°
        B000XM7 Engine Front

        Mark the front of each crankshaft bearing cap set bolt with paint.

      2. Tighten the crankshaft bearing cap set bolt another 90° in the order shown in step 1.

      3. Check that the paint marks are now at a 90° angle to the front of the engine.

    11. Check that the crankshaft turns smoothly.

    12. B000XT8N04

      Install and uniformly tighten the 10 bolts and 10 new seal washers in several steps in the order shown in the illustration.

      Torque:
      45 N*m  { 459 kgf*cm, 33 ft.*lbf }
    13. Check that the crankshaft turns smoothly.

    14. Check the crankshaft thrust clearance.

      Click here

  8. INSTALL CONNECTING ROD BEARING


    1. Install the connecting rod bearings to the connecting rod and connecting rod cap.

    2. B000UARC01
      *a Vernier Caliper

      Using a vernier caliper, measure the distance between the connecting rod bearing edges and connecting rod edges, and between the connecting rod bearing edges and connecting rod cap edges.

      Difference between (A) and (B)
      0 to 0.7 mm (0 to 0.0276 in.)

      Note


      • Do not apply engine oil to the connecting rod bearing inner surfaces or connecting rod contact surfaces.

      • Do not allow coolant to come into contact with the connecting rod bearing inner surface.

      • If any coolant comes into contact with the connecting rod bearing inner surface, replace the connecting rod bearing with a new one.

  9. INSTALL PISTON SUB-ASSEMBLY WITH CONNECTING ROD


    1. Apply engine oil to the cylinder walls, pistons, and connecting rod bearings.

    2. B000Z6NC02
      *a Front Mark
      *b No. 1 Compression Ring End
      *c No. 2 Compression Ring End
      *d Oil Ring
      *e Oil Ring Expander
      *f for Bank 1
      *g for Bank 2

      Position the piston ring set so that the ring ends are as shown in the illustration.

      Note

      Do not align the ring ends.

    3. B000VRPC01
      *a for Bank 1
      *b for Bank 2
      *c Front Mark

      Using a piston ring compressor, push the correctly matched piston sub-assembly with pin with connecting rod into the cylinder block sub-assembly with the front mark of the piston facing the engine front.

      Note

      Match the connecting rod cap with the connecting rod.

      Front Mark
      Item Total Number of Front Mark
      Bank 1 1
      Bank 2 2
    4. B000V7LC01
      *a Front Mark
      B000XM7 Engine Front

      Check that the front mark of the connecting rod cap is facing the front of the engine.

    5. Apply a light coat of engine oil to the threads and under the heads of the connecting rod bolts.

    6. Temporarily install the connecting rod bolts.

      Tech Tips

      Tighten the connecting rod bolts in 2 progressive steps.

    7. Step 1:


      1. B000VG7

        Install and alternately tighten the connecting rod bolts.

        Torque:
        40 N*m  { 408 kgf*cm, 30 ft.*lbf }
    8. Step 2:


      1. B000UQVC02
        *a Paint Mark
        B000TT4 Engine Front

        Mark the front side of each connecting rod cap bolt with paint.

      2. Tighten the connecting rod cap bolts another 90° as shown in the illustration in the order in step 1.

      3. Check that the paint marks are now at a 90° angle to the front.

      4. When using new connecting rod cap bolts, loosen each bolt once after tightening it 90° and perform steps 1 and 2 again.

    9. Check that the crankshaft turns smoothly.

  10. INSPECT CONNECTING ROD THRUST CLEARANCE

    Click here