CYLINDER HEAD REASSEMBLY

CAUTION / NOTICE / HINT

Tech Tips

Perform "Inspection After Repairs" after replacing the cylinder head sub-assembly or cylinder head LH.


PROCEDURE


  1. INSTALL NO. 1 STRAIGHT SCREW PLUG


    1. Apply adhesive to the No. 1 straight screw plug.

      Adhesive
      Toyota Genuine Adhesive 1324, Three Bond 1324 or equivalent

      Note

      Install the No. 1 straight screw plug within 3 minutes of applying adhesive.

    2. Using a 10 mm hexagon socket wrench, install 3 new No. 2 water hole gaskets and the 3 No. 1 straight screw plugs to the cylinder head LH.

      Torque:
      44 N*m  { 449 kgf*cm, 32 ft.*lbf }

      Note

      Do not add engine oil for at least 1 hour after installation.

  2. INSTALL NO. 2 STRAIGHT SCREW PLUG


    1. Using a 14 mm hexagon socket wrench, install a new No. 2 cylinder head screw plug gasket and the No. 2 straight screw plug to the cylinder head LH.

      Torque:
      80 N*m  { 816 kgf*cm, 59 ft.*lbf }
  3. INSTALL LH CYLINDER HEAD VALVE SPRING SEAT


    1. Install the 16 LH cylinder head valve spring seats to the cylinder head LH.

  4. INSTALL LH CYLINDER HEAD INTAKE VALVE STEM OIL SEAL


    1. B000VWUC07
      *a Gray
      *b Black
      *c Intake Side
      *d Exhaust Side

      Apply a light coat of engine oil to new intake valve stem oil seals.

      Note

      Pay attention when installing the intake valve stem oil seals.

      Installing the intake valve stem oil seals to the wrong valve guide bush may cause installation problems later.

      Tech Tips

      The intake valve stem oil seals are gray and the exhaust valve stem oil seals are black.

    2. B000XIOC01
      *1 Intake Valve Stem Oil Seal
      *a Correct
      *b Incorrect

      Using SST, push in the intake valve stem oil seals.

      SST
      09201-41020

      Note


      • Failure to use SST will cause the intake valve stem oil seal to be damaged or improperly seated.

  5. INSTALL RH CYLINDER HEAD EXHAUST VALVE STEM OIL SEAL

    Tech Tips

    Use the same procedure for the LH cylinder head exhaust valve stem oil seal and LH cylinder head intake valve stem oil seal.

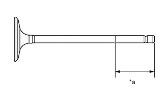
  6. INSTALL LH CYLINDER HEAD INTAKE VALVE


    1. B000WA4C01
      *a 40 mm (1.57 in.) or more

      Sufficiently apply engine oil to the tip of the LH cylinder head intake valve shown in the illustration.

    2. Install the 8 LH cylinder head intake valves, 8 LH cylinder head intake valve compression springs and 8 LH cylinder head valve spring retainers to the cylinder head LH.

      Note

      Install the same parts in the same combination to their original locations.

    3. B000UWGN03

      Using SST and wooden blocks, compress the LH cylinder head intake valve compression spring and install the LH cylinder head valve spring retainer lock.

      SST
      09202-70020   ( 09202-00010, 09202-01010, 09202-01020 )
    4. B000YXB

      Using a plastic hammer, lightly tap the valve stem tip to ensure a proper fit.

      Note

      Be careful not to damage the LH cylinder head valve spring retainer.

  7. INSTALL LH CYLINDER HEAD EXHAUST VALVE


    1. B000VYYC01
      *a 40 mm (1.57 in.) or more

      Sufficiently apply engine oil to the tip of the LH cylinder head exhaust valve shown in the illustration.

    2. Install the 8 LH cylinder head exhaust valves, 8 LH cylinder head exhaust valve compression springs and 8 LH cylinder head valve spring retainers to the cylinder head LH.

      Note

      Install the same parts in the same combination to their original locations.

    3. B000Z33N03

      Using SST and wooden blocks, compress the LH cylinder head exhaust valve compression spring and install the LH cylinder head valve spring retainer lock.

      SST
      09202-70020   ( 09202-00010, 09202-01010, 09202-01020 )
    4. B000TZC

      Using a plastic hammer, lightly tap the valve stem tip to ensure a proper fit.

      Note

      Be careful not to damage the LH cylinder head valve spring retainer.

  8. INSTALL VALVE ADJUSTING SHIM


    1. B000URT

      Apply a light coat of engine oil to the 16 valve adjusting shims.

    2. Install the 16 valve adjusting shims.