LEXUS PARKING ASSIST-SENSOR SYSTEM Clearance Warning Buzzer Circuit

DESCRIPTION

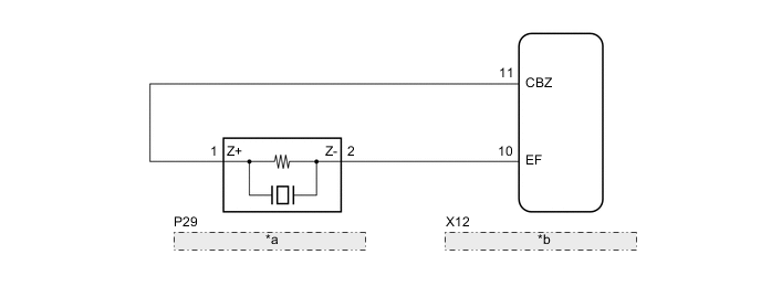
This circuit consists of the No. 1 clearance warning buzzer and clearance warning ECU assembly. An ECU-excited type buzzer is used. The ECU operates the buzzers using a sound pattern that changes depending on the distance to the obstacle.

WIRING DIAGRAM

B000X84E50
*a No. 1 Clearance Warning Buzzer
*b Clearance Warning ECU Assembly

PROCEDURE


  1. PERFORM ACTIVE TEST USING GTS


    1. Connect the GTS to the DLC3.

    2. Turn the engine switch on (IG).

    3. Turn the GTS on.

    4. Enter the following menus: Body Electrical / Clearance Sonar / Active Test.

    5. Check that the buzzer operates by performing the Active Test.


      Body Electrical > Clearance Sonar > Active Test
      Tester Display Measurement Item Control Range Diagnostic Note
      Buzzer No. 1 clearance warning buzzer Stop or Operate Confirm that the vehicle is stopped and the engine switch is on (IG)

      Body Electrical > Clearance Sonar > Active Test
      Tester Display
      Buzzer
      OK
      The No. 1 clearance warning buzzer sounds.
      Result
      Proceed to
      OK
      NG

    OK
    NG
  2. CHECK HARNESS AND CONNECTOR (CLEARANCE WARNING ECU ASSEMBLY - NO. 1 CLEARANCE WARNING BUZZER)


    1. Disconnect the X12 clearance warning ECU assembly connector.

    2. Disconnect the P29 No. 1 clearance warning buzzer connector.

    3. Measure the resistance according to the value(s) in the table below.

      Standard Resistance
      Tester Connection Condition Specified Condition
      X12-11 (CBZ) - P29-1 (Z+) Always Below 1 Ω
      X12-10 (EF) - P29-2 (Z-) Always Below 1 Ω
      X12-11 (CBZ) or P29-1 (Z+) - Body ground Always 10 kΩ or higher
      X12-10 (EF) or P29-2 (Z-) - Body ground Always 10 kΩ or higher
      Result
      Proceed to
      OK
      NG

    NG
    OK
  3. REPLACE NO. 1 CLEARANCE WARNING BUZZER


    1. Replace the No. 1 clearance warning buzzer with a new or known good one.

      Click here

      Result
      Proceed to
      NEXT

    NEXT
  4. PERFORM ACTIVE TEST USING GTS


    1. Connect the GTS to the DLC3.

    2. Turn the engine switch on (IG).

    3. Turn the GTS on.

    4. Enter the following menus: Body Electrical / Clearance Sonar / Active Test.

    5. Check that the buzzer operates by performing the Active Test.


      Body Electrical > Clearance Sonar > Active Test
      Tester Display Measurement Item Control Range Diagnostic Note
      Buzzer No. 1 clearance warning buzzer Stop or Operate Confirm that the vehicle is stopped and the engine switch is on (IG)

      Body Electrical > Clearance Sonar > Active Test
      Tester Display
      Buzzer
      OK
      The No. 1 clearance warning buzzer sounds.
      Result
      Proceed to
      OK
      NG

    OK
    NG