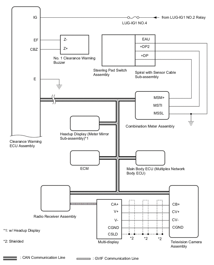
LEXUS PARKING ASSIST-SENSOR SYSTEM SYSTEM DIAGRAM

B000UREE05
B000WN3E18

  1. Communication Table
    Sender Receiver Signal Line

    Main Body ECU

    (Multiplex Network Body ECU)

    Clearance Warning ECU Assembly Destination information signal CAN Communication Line
    ECM Clearance Warning ECU Assembly Shift position signal CAN Communication Line
    Combination Meter Assembly Clearance Warning ECU Assembly
    • Vehicle speed signal

    • Clearance sonar main switch signal

    • Clearance sonar mute switch signal

    CAN Communication Line
    Clearance Warning ECU Assembly Combination Meter Assembly
    • Sonar information signal

    • Clearance sonar indicator illumination request signal

    CAN Communication Line
    Clearance Warning ECU Assembly Television Camera Assembly Sonar information signal CAN Communication Line
    Clearance Warning ECU Assembly Headup Display (Meter Mirror Sub-assembly)* Sonar information signal CAN Communication Line
    Radio Receiver Assembly Multi-display Video signal GVIF Communication Line
    Television Camera Assembly Multi-display Video signal Analog

    • *: w/ Headup Display