REAR SEAT OUTER BELT ASSEMBLY DISPOSAL

CAUTION / NOTICE / HINT

CAUTION:

Before performing pre-disposal deployment of any SRS part, review and closely follow all applicable environmental and hazardous material regulations. Pre-disposal deployment may be considered hazardous material treatment.

PROCEDURE


  1. PRECAUTION

    CAUTION:


    • Use gloves and safety glasses when handling a rear seat outer belt assembly with a deployed pretensioner.

    • Always wash your hands with water after completing the operation.

    • Do not apply water, etc. to a rear seat outer belt assembly with a deployed pretensioner.

    • When deploying a seat belt pretensioner, always use the specified SST (SRS airbag activation tool). Perform the operation in a place away from electrical noise.

    • Never dispose of a rear seat outer belt assembly with a pretensioner that has not been deployed.

    • The rear seat outer belt assembly produces an exploding sound when the pretensioner is deployed, so perform the operation outdoors where it will not disturb nearby residents.

    • When deploying a seat belt pretensioner, perform the operation at least 10 m (32.8 ft.) away from the vehicle.

    Tech Tips

    When scrapping a vehicle equipped with a seat belt pretensioner or disposing of a rear seat outer belt assembly with a seat belt pretensioner, always deploy the seat belt pretensioner first in accordance with the procedure described below. If any abnormality occurs during deployment of the seat belt pretensioner, contact the SERVICE DEPARTMENT of the distributor.

  2. DISPOSE OF REAR SEAT OUTER BELT ASSEMBLY (When Installed to Vehicle)

    Note


    • When disposing of a rear seat outer belt assembly with a pretensioner, never deploy the pretensioner in the customer's vehicle.

    • Be sure to observe the following procedure when deploying a seat belt pretensioner.

    Tech Tips

    Prepare a 12 V battery as the power source to deploy the seat belt pretensioner.


    1. B006WU4N01

      Check the function of SST.

      SST
      09082-00700

      CAUTION:

      When deploying a seat belt pretensioner, always use the specified SST.


      1. B006ZTAC01
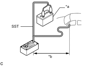
        *a 12 V Battery

        Connect the red clip of SST to the positive (+) battery terminal and the black clip to the negative (-) battery terminal.

        Tech Tips

        At this time, do not connect the yellow connector. It will be connected to the seat belt pretensioner in a later step.

      2. B006YS1N01

        Press the SST activation switch and check that the LED of the SST activation switch illuminates.

        CAUTION:

        If the LED is illuminated when the SST activation switch is not pressed, SST may be malfunctioning. In this case, do not use the malfunctioning SST.

    2. Refer to Precaution.

      Click here

    3. Disconnect the cable from the negative (-) battery terminal.

      CAUTION:

      Wait at least 90 seconds after disconnecting the cable from the negative (-) battery terminal to disable the SRS system.

    4. Disconnect the seat belt pretensioner connector.


      1. Remove the package tray trim panel assembly.

        Click here

      2. B0071PHC01
        *a Protective Tape
        *b Locking Button
        *c Release

        Using a screwdriver, pull out the locking button as shown in the illustration to release the lock and disconnect the pretensioner connector.

        Tech Tips

        Tape the screwdriver tip before use.

    5. B006YFME01

      Connect SST.


      1. After connecting the following SST to each other, connect them to the seat belt pretensioner.

        SST
        09082-00700
        09082-00802   ( 09082-10801, 09082-20801 )

        Note

        To avoid damaging the SST connector or wire harness, do not lock the secondary lock of the pretensioner connector.

      2. B006YEJC34
        *a 12 V Battery
        *b 10 m (32.8 ft.) or more

        Move SST at least 10 m (32.8 ft.) away from the front of the vehicle.

        CAUTION:


        • B006XFX

          Do not perform deployment with any of the doors or windows open.

        • If deployment is performed with any of the doors or windows open, dust and gas may enter the eyes or be breathed in.

      3. Close all of the doors and windows of the vehicle.

        Note

        Do not damage the SST wire harness.

    6. Deploy the seat belt pretensioner.


      1. B006YQU

        Check that no one is inside the vehicle or within a 10 m (32.8 ft.) radius of the vehicle.

      2. Connect the red clip of SST to the positive (+) battery terminal and the black clip to the negative (-) battery terminal.

      3. Press the SST activation switch to deploy the seat belt pretensioner.

        Tech Tips

        The seat belt pretensioner will deploy at the same time as the LED of SST illuminates.

        CAUTION:


        • The rear seat outer belt assembly produces an exploding sound when the pretensioner is deployed, so perform the operation outdoors where it will not disturb nearby residents.

          B00702C
        • If this procedure is performed indoors or on a rough road where safety cannot be ensured, unforeseen injuries may occur. Also, if this procedure is performed near a residential area, the deployment noise may disturb nearby residents.

    7. B007152

      Dispose of the rear seat outer belt assembly.


      1. Remove the rear seat outer belt assembly and SST.

      2. Place the rear seat outer belt assembly in a plastic bag, tie the end tightly, and dispose of it in the same way as other general parts.

        CAUTION:


        • B006ZTB

          The rear seat outer belt assembly becomes extremely hot when the pretensioner is deployed, so do not touch it for at least 30 minutes after deployment.

        • B006Y07

          Do not apply water, etc. to a rear seat outer belt assembly with a deployed pretensioner.

        • If water is applied to the rear seat outer belt assembly immediately after deployment, burns may be caused by the resulting steam.

        • B0071V3

          Always wear safety glasses and gloves when handling a rear seat outer belt assembly with a deployed pretensioner.

        • If a rear seat outer belt assembly with a deployed pretensioner is touched without wearing safety glasses and gloves, hot parts may cause burns and dust may enter the eyes.

        • After removal, quickly seal the rear seat outer belt assembly in a plastic bag.

        • B0071GE

          Never dispose of a rear seat outer belt assembly with a pretensioner that has not been deployed.

        • If a rear seat outer belt assembly with a pretensioner that has not been deployed is disposed of, and then deploys accidentally, unforeseen injuries may occur.

        • Always wash your hands with water after completing the operation.

        Tech Tips

        When scrapping a vehicle, deploy the seat belt pretensioners, and then scrap the vehicle with the rear seat outer belt assemblies installed.

  3. DISPOSE OF REAR SEAT BELT ASSEMBLY OUTER LH (When not Installed to Vehicle)

    Note


    • When disposing of a rear seat outer belt assembly with a pretensioner, never deploy the pretensioner in the customer's vehicle.

    • Be sure to observe the following procedure when deploying a seat belt pretensioner.

    Tech Tips

    Prepare a 12 V battery as the power source to deploy the seat belt pretensioner.


    1. B006WU4N01

      Check the function of SST.

      Click here

      SST
      09082-00700
    2. Refer to Precaution.

      Click here

    3. Disconnect the cable from the negative (-) battery terminal.

      CAUTION:

      Wait at least 90 seconds after disconnecting the cable from the negative (-) battery terminal to disable the SRS system.

    4. Remove the rear seat outer belt assembly.

      Click here

    5. B006YUTC01
      *a Cut
      *b 100 mm (3.94 in.)

      Wind the seat belt webbing with the retractor.

    6. When the seat belt webbing is sufficiently wound, cut the seat belt webbing approximately 100 mm (3.94 in.) from the retractor, as shown in the illustration.

      Tech Tips

      The retractor resistance increases in proportion with how much the seat belt webbing is wound.

    7. B006YFME01

      Connect SST.


      1. After connecting the following SST to each other, connect them to the seat belt pretensioner.

        SST
        09082-00700
        09082-00802   ( 09082-10801, 09082-20801 )

        Note

        To avoid damaging the SST connector or wire harness, do not lock the secondary lock of the pretensioner connector.

      2. Place the rear seat outer belt assembly on the ground and cover it with an unneeded tire and wheel assembly.

        Note


        • Position the rear seat outer belt assembly as shown in the illustration.

        • The tire and wheel assembly may be damaged by the seat belt pretensioner deployment, so use an unneeded tire and wheel assembly.

      3. Position and hold SST at least 10 m (32.8 ft.) away from the tire and wheel assembly.

        Note

        Do not damage the SST wire harness.

    8. B006Z47C07
      *a 12 V Battery
      *b 10 m (32.8 ft.) or more

      Deploy the seat belt pretensioner.


      1. Check that no one is within a 10 m (32.8 ft.) radius of the tire and wheel assembly.

      2. Connect the red clip of SST to the positive (+) battery terminal and the black clip to the negative (-) battery terminal.

      3. Press the SST activation switch to deploy the seat belt pretensioner.

        Tech Tips

        The seat belt pretensioner will deploy at the same time as the LED of SST illuminates.

        CAUTION:


        • The rear seat outer belt assembly produces an exploding sound when the pretensioner is deployed, so perform the operation outdoors where it will not disturb nearby residents.

          B006XOO
        • If this procedure is performed indoors or on a rough road where safety cannot be ensured, unforeseen injuries may occur. Also, if this procedure is performed near a residential area, the deployment noise may disturb nearby residents.

    9. B007152

      Dispose of the rear seat outer belt assembly.


      1. Remove the tire and wheel assembly and SST.

      2. Place the rear seat outer belt assembly in a plastic bag, tie the end tightly, and dispose of it in the same way as other general parts.

        CAUTION:


        • B0071LL

          The rear seat outer belt assembly becomes extremely hot when the pretensioner is deployed, so do not touch it for at least 30 minutes after deployment.

        • B006X58

          Do not apply water, etc. to a rear seat outer belt assembly with a deployed pretensioner.

        • If water is applied to the rear seat outer belt assembly immediately after deployment, burns may be caused by the resulting steam.

        • B0070RA

          Always wear safety glasses and gloves when handling a rear seat outer belt assembly with a deployed pretensioner.

        • If a rear seat outer belt assembly with a deployed pretensioner is touched without wearing safety glasses and gloves, hot parts may cause burns and dust may enter the eyes.

        • After removal, quickly seal the rear seat outer belt assembly in a plastic bag.

        • B0071GE

          Never dispose of a rear seat outer belt assembly with a pretensioner that has not been deployed.

        • If a rear seat outer belt assembly with a pretensioner that has not been deployed is disposed of, and then deploys accidentally, unforeseen injuries may occur.

        • Always wash your hands with water after completing the operation.