NAVIGATION SYSTEM Vehicle Speed Signal Circuit between Navigation ECU and Combination Meter

DESCRIPTION

The navigation ECU receives a vehicle speed signal from the combination meter assembly.

Tech Tips


  • A voltage of 12 V or 5 V is output from each ECU and then input to the combination meter assembly. The signal is changed to a pulse signal at the transistor in the combination meter assembly. Each ECU controls its respective systems based on this pulse signal.

  • If a short occurs in any of the ECUs or in the wire harness connected to an ECU, all systems in the following diagram will not operate normally.

WIRING DIAGRAM

B006YYRE01

PROCEDURE


  1. CHECK COMBINATION METER ASSEMBLY (OUTPUT WAVEFORM)


    1. B006XB9C82
      *a

      Component with harness connected

      (Combination Meter Assembly)

      Check the output waveform.


      1. Remove the combination meter assembly with the connector(s) still connected.

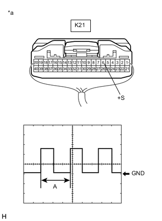
      2. Connect an oscilloscope to terminal K21-6 (+S) and body ground.

      3. Turn the ignition switch to ON.

      4. Turn a wheel slowly.

      5. Check the signal waveform according to the condition(s) in the table below.

        Item Condition
        Measurement terminal K21-6 (+S) - Body ground
        Tool setting 5 V/DIV., 20 ms./DIV.
        Vehicle condition Wheel being rotated
        OK
        The waveform is similar to that shown in the illustration.

        Tech Tips

        When the system is functioning normally, one wheel revolution generates 4 pulses. As the vehicle speed increases, the width indicated by (A) in the illustration narrows.

      Result
      Proceed to
      OK
      NG

    NG
    OK
  2. CHECK HARNESS AND CONNECTOR (NAVIGATION ECU - COMBINATION METER ASSEMBLY)


    1. Disconnect the K17 navigation ECU connector.

    2. Disconnect the K21 combination meter assembly connector.

    3. Measure the resistance according to the value(s) in the table below.

      Standard Resistance
      Tester Connection Condition Specified Condition
      K17-9 (SPD) - K21-6 (+S) Always Below 1 Ω
      Result
      Proceed to
      OK
      NG

    OK
    NG