NAVIGATION SYSTEM, Diagnostic DTC:B15C0, B15C1

DTC Code DTC Name
B15C0 GPS Antenna Connection Malfunction(short)
B15C1 GPS Antenna Connection Malfunction(break)

DESCRIPTION

These DTCs are stored when a malfunction occurs in the navigation antenna assembly.

DTC No. Detection Item DTC Detection Condition Trouble Area
B15C0 GPS Antenna Connection Malfunction(short) Navigation antenna malfunction
  • Navigation antenna assembly

  • Antenna cord sub-assembly (for navigation antenna)

  • Navigation ECU

B15C1 GPS Antenna Connection Malfunction(break) Navigation antenna power source malfunction
  • Navigation antenna assembly

  • Antenna cord sub-assembly (for navigation antenna)

  • Navigation ECU

WIRING DIAGRAM

B00712BE03

CAUTION / NOTICE / HINT

Note


  • When replacing the navigation ECU, always replace it with a new one. If a navigation ECU which was installed to another vehicle is used, the following may occur:


    • A communication malfunction DTC may be stored.

    • The navigation ECU may not operate normally.

  • Check that the antenna cord sub-assembly (for navigation antenna) is properly installed and does not have any sharp bends, pinching or loose connections before performing following procedure.

    Click here

PROCEDURE


  1. CHECK DTC


    1. Clear the DTCs.


      Body Electrical > Navigation System > Clear DTCs
    2. Recheck for DTCs and check that no DTCs are output.


      Body Electrical > Navigation System > Trouble Codes
      OK
      No DTCs are output.
      Result
      Proceed to
      OK
      NG

    OK
    NG
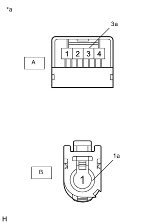
  2. INSPECT ANTENNA CORD SUB-ASSEMBLY (for Navigation Antenna)


    1. Remove the antenna cord sub-assembly (for navigation antenna).

      Click here

    2. B0071F3C03
      *a

      Component without harness connected

      (Antenna Cord Sub-assembly (for Navigation Antenna))

      Measure the resistance according to the value(s) in the table below.

      Standard Resistance
      Tester Connection Condition Specified Condition
      A-3 - B-1 Always Below 1 Ω
      A-3a - B-1a Always Below 1 Ω
      A-3 or B-1 - Body ground Always 10 kΩ or higher
      Result
      Proceed to
      OK
      NG

    NG
    OK
  3. INSPECT NAVIGATION ANTENNA ASSEMBLY


    1. Remove the navigation antenna assembly.

      Click here

    2. B006YCFC05
      *a

      Component without harness connected

      (Navigation Antenna Assembly)

      Measure the resistance according to the value(s) in the table below.

      Standard Resistance
      Tester Connection Condition Specified Condition
      3 - 3a Always 50 to 500 Ω
      Result
      Proceed to
      OK
      NG

    OK
    NG