NAVIGATION SYSTEM, Diagnostic DTC:B153A

DTC Code DTC Name
B153A GVIF Disconnected (from Extension Module to H/U)

DESCRIPTION

DTC No. Detection Item DTC Detection Condition Trouble Area
B153A GVIF Disconnected (from Extension Module to H/U) GVIF disconnected (from navigation ECU to radio and display receiver assembly)
  • No. 1 navigation wire

  • Navigation ECU

  • Radio and display receiver assembly

WIRING DIAGRAM

B0070F6E02

CAUTION / NOTICE / HINT

Note


  • Depending on the parts that are replaced during vehicle inspection or maintenance, performing initialization, registration or calibration may be needed. Refer to Precaution for Navigation System.

    Click here

  • When replacing the radio and display receiver assembly or navigation ECU, always replace it with a new one. If a radio and display receiver assembly or navigation ECU which was installed to another vehicle is used, the following may occur:


    • A communication malfunction DTC may be stored.

    • The radio and display receiver assembly or navigation ECU may not operate normally.

PROCEDURE


  1. CHECK DTC


    1. Clear the DTCs.


      Body Electrical > Navigation System > Clear DTCs
    2. Recheck for DTCs and check that no DTCs are output.


      Body Electrical > Navigation System > Trouble Codes
      OK
      No DTCs are output.
      Result
      Proceed to
      OK
      NG

    OK
    NG
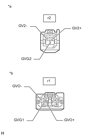
  2. CHECK NO. 1 NAVIGATION WIRE (RADIO AND DISPLAY RECEIVER ASSEMBLY - NAVIGATION ECU)


    1. B006X3VC01
      *a

      Front view of wire harness connector

      (to Radio and Display Receiver Assembly)

      *b

      Front view of wire harness connector

      (to Navigation ECU)

      Disconnect the r1 navigation ECU connector.

    2. Disconnect the r2 radio and display receiver assembly connector.

    3. Measure the resistance according to the value(s) in the table below.

      Standard Resistance
      Tester Connection Condition Specified Condition
      r1-1 (GVO-) - r2-1 (GV2-) Always Below 1 Ω
      r1-2 (GVO+) - r2-2 (GV2+) Always Below 1 Ω
      r1-3 (GVG1) - r2-3 (GVG2) Always Below 1 Ω
      Result
      Proceed to
      OK
      NG

    NG
    OK
  3. REPLACE NAVIGATION ECU


    1. Replace the Navigation ECU with a new one.

      Click here

      Result
      Proceed to
      NEXT

    NEXT
  4. CHECK DTC


    1. Clear the DTCs.


      Body Electrical > Navigation System > Clear DTCs
    2. Recheck for DTCs and check that no DTCs are output.


      Body Electrical > Navigation System > Trouble Codes
      OK
      No DTCs are output.
      Result
      Proceed to
      OK
      NG

    OK
    NG