NAVIGATION SYSTEM SYSTEM DESCRIPTION


  1. NAVIGATION SYSTEM OUTLINE


    1. Vehicle position tracking methods

      It is essential that the navigation system correctly tracks the current vehicle position and displays it on the map. There are 2 methods to track the current vehicle position: autonomous (dead reckoning) and GPS* (satellite) navigation. Both navigation methods are used in conjunction with each other.

      *: GPS (Global Positioning System)

      B006Y43E12
      Operation Description
      Vehicle Position Calculation The navigation ECU calculates the current vehicle position (direction and current position) using the direction deviation signal from the gyro sensor and driving distance signal from the vehicle speed sensor and creates the driving route.
      Map Display Processing The navigation ECU processes the vehicle position data, vehicle driving track and map data from the internal memory.
      Map Matching The map data from the internal memory is compared to the vehicle position and driving track data. Then, the vehicle position is matched with the nearest road.
      GPS Correction The vehicle position is matched to the position measured by the GPS. Then, the GPS measurement position data is compared with the vehicle position and driving track data. If the position is very different, the GPS measurement position is used.
      Distance Correction The vehicle speed signal includes the error caused by tire wear and slippage between the tires and road surface. Distance correction is performed to account for this. The navigation ECU automatically offsets the signal to make up for the difference between it and the distance data of the map. The offset is automatically updated.
      B006Z1YE38

      Tech Tips

      The combination of autonomous and GPS navigation makes it possible to display the vehicle position even when the vehicle is in places where GPS signals cannot be received. When only autonomous navigation is used, however, the mapping accuracy may slightly decrease.

    2. Autonomous navigation

      This method determines the relative vehicle position based on the driving track determined by the gyro sensor located in the navigation ECU and the vehicle speed signal.


      1. Gyro sensor

        Used to calculate the direction by detecting angular velocity. It is located in the navigation ECU.

      2. Vehicle speed signal

        Used to calculate the vehicle driving distance.

    3. GPS*navigation (Satellite navigation)

      This method detects the absolute vehicle position using radio waves from GPS satellites.

      *: GPS satellites were launched by the U.S. Department of Defense for military purposes.

      B00709FE01
      *1 Current longitude/latitude/altitude is determined using the signal arrival time from four satellites.
      Number of Satellites Measurement Description
      2 or less Measurement is impossible Vehicle position cannot be obtained because the number of satellites is not enough.
      3 2-dimensional measurement is possible Vehicle position is obtained based on the current longitude and latitude. (This is less precise than 3-dimensional measurement.)
      4 3-dimensional measurement is possible Vehicle position is obtained based on the current longitude, latitude and altitude.
    4. Map matching

      The current driving route is calculated by autonomous navigation (according to the gyro sensor and vehicle speed signal) and GPS navigation. This information is then compared with possible road shapes from the map data in the internal memory and the vehicle position is set onto the most appropriate road.

      B006YUSE05
  2. DISC PLAYER OUTLINE


    1. A disc player uses a laser pickup to read digital signals recorded on a disc. By converting the digital signals to analog, it can play music and audio.

      CAUTION:

      Do not look directly at the laser pickup because the disc player uses an invisible laser beam. Be sure to operate the player only as instructed.

      Note


      • Do not disassemble any part of the disc player.

      • Do not apply oil to the disc player.

      • Do not insert anything but a disc into the disc player.

    2. This player can play only audio CDs, CD-Rs (CD-Recordable) and CD-RWs (CD-ReWritable) that have any of the following marks:

      B006YU8
    3. This player can play only DVD video discs that have any of the following marks (w/ DVD Player):

      B006Y1L
    4. This player can play only DVD-Rs (DVD-Recordable) and DVD-RWs (DVD-ReWritable) that were recorded in video format and that have any of the following marks (w/ DVD Player):

      B006YTW
    5. The following products may not be playable on your player.


      • SACD

      • dts CD

      • Copy-protected CD

      • Super Video CD

      • DVD audio

      • DVD-RAM

    6. Precautions for use of discs

      Note


      • CD-Rs, CD-RWs, DVD-Rs (DVD-Recordable) and DVD-RWs (DVD-ReWritable) may not be played depending on the recording conditions or characteristics of the discs, or due to damage, dirt or deterioration caused by leaving the discs in the cabin for a long time.

      • Unfinalized CD-Rs, CD-RWs, DVD-Rs (DVD-Recordable) and DVD-RWs (DVD-ReWritable) cannot be played.

      • CD-Rs, CD-RWs, DVD-Rs (DVD-Recordable) and DVD-RWs (DVD-ReWritable) are more easily affected by a hot and humid environment than discs used for normal audio CDs. For this reason, some CD-Rs and CD-RWs may not be played.

      • If there are fingerprints or scratches on a disc, the disc may not be played or may skip.

      • Some CD-Rs, CD-RWs, DVD-Rs (DVD-Recordable) and DVD-RWs (DVD-ReWritable) may deteriorate if they are left in the cabin for a long time.

      • Keep CD-Rs, CD-RWs, DVD-Rs (DVD-Recordable) and DVD-RWs (DVD-ReWritable) in an opaque case.

      • DualDiscs that mate DVD recorded material on one side with CD digital audio material on the other cannot be played.

      • Keep discs away from dirt. Be careful not to damage discs or leave fingerprints on them.

      • Hold discs by the outer edge and center hole with the label side up.

      • Leaving a disc exposed halfway out of the slot for a long time after pressing the disc eject button may cause deformation of the disc, making the disc unusable.

      • If a disc has adhesive tape, stickers, disc labels or any traces of such labels attached, the disc may not be ejected or player malfunctions may result.

      • Keep discs away from direct sunlight. (Exposure to direct sunlight may cause deformation of a disc, making the disc unusable.)

      • Do not use odd-shaped discs because these may cause player malfunctions.

      • Do not use discs whose recording portion is transparent or translucent because they may not be inserted, ejected or played normally.

      • Use only 4.7 in. (12 cm) discs.

      • Do not use 3 in. (8 cm) discs either with or without adaptors.

      • SECAM color television standard discs cannot be played.

      Tech Tips


      • When it is cold or raining, if the windows fog up, mist and condensation may form in the player. In such cases, a disc may skip or stop in the middle of play. Ventilate or dehumidify the cabin for a while before using the player.

      • A disc may skip if the player experiences strong vibrations when the vehicle is driven on rough roads or similar uneven surfaces.

    7. B00717W

      Cleaning

      Note

      Do not use a lens cleaner because it may cause a malfunction in the pickup portion of the player.


      1. If dirt is on the disc surface, wipe it clean with a soft dry cloth, such as an eyeglass cleaner for plastic lenses, from the inside to the outside in a radial direction.

        Note


        • Pressing on the disc by hand or rubbing the disc with a hard cloth may scratch the disc surface.

        • Use of solvents such as record spray, antistatic agents, alcohol, benzine, thinners or a chemical cloth may cause damage to the disc, making the disc unusable.

  3. USB AUDIO SYSTEM FUNCTION OUTLINE


    1. The No. 1 stereo jack adapter assembly is equipped with a USB connector. Connecting a USB device or "iPod" to the No. 1 stereo jack adapter assembly allows music files to be played. Not only is it possible to play music from a USB device with audio functions, it is also possible to play MP3, WMA, AAC, WAV, FLAC, ALAC or OGG Vorbis music files that are stored on a USB device. In addition, "iPod" control software is installed, allowing file selection from playlists and operation using shuffle mode.

      Tech Tips

      Operation through the controls of a USB device or "iPod" cannot be performed while it is connected.

    2. USB audio system compatible devices


      1. USB device

        The following device formats can be used:

        Compatible USB device formats
        • USB communication format: USB 2.0 HS (480 Mbps) and FS (12 Mbps)

        • File format: FAT16/32 (Windows)

        • Class: Mass storage class

        MP3, WMA, AAC, WAV, FLAC, ALAC and OGG Vorbis files written to a USB device with any format other than those listed above may not be played correctly, and their names and folder names may not be displayed correctly.

        Items related to standards and limitations are as follows:


        • Maximum directory hierarchy: 8 levels

        • Maximum number of folders in device: 3000 (including the root folder)

        • Maximum number of files in device: 9999

        • Maximum number of files per folder: 255

      2. "iPod"

        "iPhone", "iPod", "iPod classic", "iPod nano" and "iPod touch" are trademarks of Apple Inc., registered in the U.S. and other countries.

        The following "iPod", "iPod nano", "iPod classic", "iPod touch" and "iPhone" devices can be used with this system.

        Made for:


        • "iPod touch" (6th generation)

        • "iPod touch" (5th generation)

        • "iPod nano" (7th generation)

        • "iPhone SE"

        • "iPhone 6s plus"

        • "iPhone 6s"

        • "iPhone 6 plus"

        • "iPhone 6"

        • "iPhone 5s"

        • "iPhone 5c"

        • "iPhone 5"

        • "iPhone 4s"

        Tech Tips


        • Depending on differences between models or software versions etc., some models might be incompatible with this system.

        • "iPod video" is not supported.

  4. USB VIDEO SYSTEM FUNCTION OUTLINE


    1. Playable video file standards

      File format MPEG-4, AVI Container, Windows Media Video
      Corresponding screen size MAX 1920 x 1080
      Corresponding frame rate MAX 60i/30p
  5. HIGH-RESOLUTION SOUND SOURCE OUTLINE


    1. This device supports high-resolution sound sources.

    2. The definition of high-resolution is based on the standards of groups such as the CTA (Consumer Technology Association).

    3. The following formats and media can be used:

      Supported formats WAV, FLAC, ALAC, OGG Vorbis
      Playable media USB
  6. FILE INFORMATION OUTLINE


    1. Playable MP3 file standards

      Compatible standard MPEG1 LAYER3, MPEG2 LSF LAYER3
      Compatible sampling frequency
      • MPEG1 LAYER3: 32, 44.1, 48 (kHz)

      • MPEG2 LSF LAYER3: 16, 22.05, 24 (kHz)

      Compatible bit rate
      • MPEG1 LAYER3: 32 to 320 (kbps)

      • MPEG2 LSF LAYER3: 8 to 160 (kbps)

      • Compatible with VBR

      Compatible channel mode Stereo, joint stereo, dual channel, monaural
    2. Playable WMA file standards

      Compatible standard WMA Ver. 7, 8, and 9
      Compatible sampling frequency 32, 44.1, 48 (kHz)
      Compatible bit rate (Only compatible with 2-channel playback)
      • Ver. 7, 8: CBR48 to 192 (kbps)

      • Ver. 9: CBR48 to 320 (kbps)

      • Compatible with VBR

    3. Playable AAC file standards

      Compatible standard MPEG4/AAC-LC
      Compatible sampling frequency 11.025, 12, 16, 22.05, 24, 32, 44.1, 48 (kHz)
      Compatible bit rate
      • 8 to 320 (kbps)

      • Compatible with VBR

    4. Playable WAV (LPCM) file standards*

      Compatible sampling frequency 8/11.025/12/16/22.05/24/32/44.1/48/88.2/96/176.4/192 (kHz)
      Compatible bit rate 16/24 (bit)

      *: Files with a sample rate higher than 48kHz are down-converted to 48kHz/24bit.

    5. Playable FLAC file standards*

      Compatible sampling frequency 8/11.025/12/16/22.05/24/32/44.1/48/88.2/96/176.4/192 (kHz)
      Compatible bit rate 16/24 (bit)

      *: Files with a sample rate higher than 48kHz are down-converted to 48kHz/24bit.

    6. Playable ALAC file standards*

      Compatible sampling frequency 8/11.025/12/16/22.05/24/32/44.1/48/64/88.2/96 (kHz)
      Compatible bit rate 16/24 (bit)

      *: Files with a sample rate higher than 48kHz are down-converted to 48kHz/24bit.

    7. Playable OGG Vorbis file standards*

      Compatible sampling frequency 8/11.025/16/22.05/32/44.1/48 (kHz)
      Compatible bit rate
      • 32-500 (kbps)

      • Compatible with VBR

      *: Files with a sample rate higher than 48kHz are down-converted to 48kHz/24bit.

    8. ID3 tag, WMA tag, AAC tag, TAG and Vorbis comment


      1. Additional text information called an ID3 tag can be input to MP3 files. Information such as song titles and artist names can be stored.

        Tech Tips

        This player is compatible with ID3 tags of ID3 Ver. 1.0 and 1.1, and ID3 Ver. 2.2 and 2.3. (Number of characters complies with ID3 Ver. 1.0 and 1.1.)

      2. Additional text information called a WMA tag can be input to WMA files. Information such as song titles and artist names can be stored.

      3. Additional text information called an AAC tag can be input to AAC files. Information such as song titles and artist names can be stored.

      4. Additional text information called a TAG can be input to WAV (LPCM), FLAC, ALAC files. Information such as song titles and artist names can be stored.

      5. Additional text information called a Vorbis comment can be input to OGG Vorbis files. Information such as song titles and artist names can be stored.

    9. Usable media


      1. Only CD-ROMs, CD-Rs (CD-Recordable), CD-RWs (CD-ReWritable), DVD-ROMs, DVD-Rs (DVD Recordable), DVD-RWs (DVD-ReWritable) and USB devices can be used to play MP3/WMA/AAC files.

        Note


        • CD-Rs, CD-RWs, DVD-Rs (DVD-Recordable) and DVD-RWs (DVD-ReWritable) are more easily affected by a hot and humid environment than discs used for normal audio CDs. For this reason, some CD-Rs and CD-RWs may not be played.

        • If there are fingerprints or scratches on a disc, the disc may not be played or may skip.

        • Some CD-Rs and CD-RWs, DVD-Rs (DVD-Recordable) and DVD-RWs (DVD ReWritable) may deteriorate if they are left in the cabin for a long time.

        • Keep CD-Rs and CD-RWs, DVD-Rs (DVD-Recordable) and DVD-RWs (DVD ReWritable) in an opaque case.

      2. Only USB devices can be used to play WAV (LPCM)/FLAC/ALAC/OGG Vorbis files.

    10. Usable media format


      1. Usable media format

        Disc format CD-ROM Mode 1, CD-ROM XA Mode 2 Form 1, DVD ROM
        File format ISO9660 Level 1 and Level 2 (Joliet, Romeo)

        Tech Tips


        • MP3/WMA/AAC files written in any unlisted format may not be played normally or the file names or folder names may not be displayed correctly.

        • This player is compatible with multi-session discs and can play CD-Rs and CD-RWs, DVD-Rs (DVD-Recordable) and DVD-RWs (DVD-ReWritable) on which MP3/WMA/AAC files have been added. However, only the first session can be played.

        • Discs whose first session includes both music data and MP3, WMA and AAC format data may not be played.

      2. Standards and restrictions

        Maximum directory levels 8 levels
        Maximum number of characters for a folder name/file name 32 characters
        Maximum number of folders 192 (Including empty folders, root folders, and folders that do not contain MP3/WMA/AAC files)
        Maximum number of files in a disc 255 (Including non-MP3/WMA/AAC files)
    11. File names


      1. Only files with an extension of ".mp3", ".wma", ".m4a", ".wav", ".flac", ".alac", ".ogg" and ".oga" can be recognized and played as MP3, WMA, AAC, WAV (LPCM), FLAC, ALAC or OGG Vorbis files.

      2. Save MP3, WMA, AAC, WAV (LPCM), FLAC, ALAC or OGG Vorbis files with an extension of ".mp3", ".wma", ".m4a", ".wav", ".flac", ".alac", ".ogg" or ".oga".

        Note

        If non-MP3, non-WMA, non-AAC, non-WAV (LPCM), non-FLAC, non-ALAC or non-OGG Vorbis files are saved with an extension of ".mp3", ".wma", ".m4a", ".wav", ".flac", ".alac", ".ogg" or ".oga", those files may be wrongly recognized as MP3, WMA, AAC, WAV (LPCM), FLAC, ALAC or OGG Vorbis files and played. A loud noise may occur and damage to the speakers may result.

  7. "Bluetooth" OUTLINE

    B0071JZC07
    *1

    Radio and Display Receiver Assembly

    (Built-in "Bluetooth" Antenna)

    - -
    *a Example *b Cellular Network
    *c

    Cellular Phone

    ("Bluetooth" Compatible Type)

    *d

    Portable Audio Player

    ("Bluetooth" Compatible Type)

    *e "Bluetooth" Wireless Connection - -

    1. "Bluetooth" is a trademark owned by Bluetooth SIG, Inc.

    2. "Bluetooth" is a wireless connection technology that uses the 2.4 GHz frequency band.

      Tech Tips

      The communication performance of "Bluetooth" may vary depending on obstructions or radio wave conditions between communication devices, electromagnetic radiation, communication device sensitivity or antenna capacity.

    3. Hands-free function


      1. The "Bluetooth" built-in radio and display receiver assembly and a "Bluetooth" compatible cellular phone* can be connected using a "Bluetooth" wireless connection. This enables the use of the hands-free function on the cellular phone even if the phone is in a pocket or bag. For this reason, it is not necessary to use a connector or cable to connect the cellular phone.

        *: Some versions of "Bluetooth" compatible cellular phones may not function properly.

      2. The hands-free function uses a "Bluetooth" wireless connection. A "Bluetooth" wireless connection can be affected by uncertain elements, such as vehicle location, time of day, etc. Therefore, problems related to establishing connection may be caused temporarily by "Bluetooth" connection conditions. It is necessary to check the frequency of occurrence, connection conditions using another cellular phone, etc. when performing diagnosis.

      3. Compatible hands-free devices

        Required "Bluetooth" specifications Ver. 2.0 or higher (Ver. 4.1+EDR recommended)
        Compatible profiles
        • HFP (Hands-Free Profile) Ver. 1.0 or higher (Ver. 1.7 or higher recommended)*1

        • OPP (Object Push Profile) Ver. 1.1 or higher (Ver. 1.2 or higher recommended)*1

        • PBAP (Phone Book Access Profile) Ver. 1.0 or higher (Ver. 1.2 or higher recommended)*1

        • MAP (Message Access Profile) Ver. 1.0 or higher (Ver. 1.2 or higher recommended)*3

        • SPP (Serial Port Profile) Ver. 1.2 or higher*2

        Maximum number of hands-free devices that can be registered (including audio devices) 5

        • *1: This profile is necessary when using the hands-free function.

        • *2: This profile is necessary when using the Toyota link function (w/ Toyota Link Function).

        • *3: This profile is necessary when using the message function (w/ SMS/MMS/e-mail Function).

        Tech Tips


        • "Bluetooth" compatible cellular phone can be checked at http://www.toyota.com.au/toyotalink/.

        • The amount of remaining battery charge displayed on the radio and display receiver assembly may be different from that of the "Bluetooth" device.

    4. "Bluetooth" audio function


      1. The "Bluetooth" built-in radio and display receiver assembly and a "Bluetooth" compatible portable audio player* can be connected using a "Bluetooth" wireless connection. This enables files stored in the portable audio player to be heard from the vehicle speakers. In addition, operations such as play/stop can be performed directly from the radio and display receiver assembly.

        *: Some versions of "Bluetooth" compatible audio players may not be able to be connected via the "Bluetooth" function, or music may play, but functions available using the radio and display receiver assembly may be limited.

      2. Compatible "Bluetooth" audio devices

        Required "Bluetooth" specifications Ver. 2.0 or higher (Ver. 4.1+EDR recommended)
        Compatible profiles
        • A2DP (Advanced Audio Distribution Profile) Ver. 1.0 or higher (Ver. 1.3 or higher recommended)

        • AVRCP (Audio/Video Remote Control Profile) Ver. 1.0 or higher (Ver. 1.6 or higher recommended)

        Maximum number of audio devices that can be registered (including hands-free devices) 5

        Tech Tips


        • When Bluetooth audio and "Miracast" are connected simultaneously, audio output priority varies depending on the specifications of the device.

        • Bluetooth and "Miracast" and other "Wi-Fi" use the same 2.4 GHz band radio waves. As a result, if Bluetooth audio and "Miracast" are connected at the same time some sound skipping etc., may occur.

  8. RADIO DESCRIPTION


    1. Radio frequency band


      1. Radio broadcasts use the radio frequency bands shown in the table below.

        B006X0EE08
    2. Service area


      1. B0070U9C06
        *a FM (Stereo)
        *b FM (Monaural)
        *c AM

        The service areas of AM and FM broadcasts are vastly different. Sometimes an AM broadcast can be received very clearly but an FM stereo broadcast cannot. FM stereo has the smallest service area, and is prone to pick up static and other types of interference such as noise.

    3. Radio reception problems

      Tech Tips

      In addition to static, other problems such as "phasing", "multipath" and "fade out" exist. These problems are not caused by electrical noise, but by the radio signal propagation method itself.


      1. B0071UXC06
        *a Phasing
        *b Ionosphere

        Phasing

        AM broadcasts are susceptible to electrical interference and another kind of interference called phasing. Occurring only at night, phasing is the interference created when a vehicle receives 2 radio wave signals from the same transmitter. One signal is reflected off the ionosphere and the other signal is received directly from the transmitter.

      2. B006WYFC06
        *a Multipath

        Multipath

        Multipath is a type of interference created when a vehicle receives 2 radio wave signals from the same transmitter. One signal is reflected off buildings or mountains and the other signal is received directly from the transmitter.

      3. B006XM4C05
        *a Fade Out

        Fade out

        Fade out is caused by objects (buildings, mountains and other large obstructions) that deflect part of a signal, resulting in a weaker signal when the object is between the transmitter and vehicle. High frequency radio waves, such as FM broadcasts, are easily deflected by obstructions. Low frequency radio waves, such as AM broadcasts, are less likely to be deflected.

    4. Noise problem

      Technicians must have a clear understanding about each customer's noise complaint. Use the following table to diagnose noise problems.

      Radio Frequency Noise Occurrence Condition Presumable Cause
      AM Noise occurs in a specific area Foreign noise
      Noise occurs when listening to an intermittent broadcast An identical program transmitted from multiple towers can cause noise where the signals overlap
      Noise occurs only at night Signal phasing
      FM Noise occurs while driving in a specific area Multipath resulting from a change in FM frequency
  9. VEHICLE CUSTOMIZATION OUTLINE


    1. Customization of functions can also be performed on on the multi-display screen. Refer to Owner's Manual for further information on customizable items for the navigation system.

      Tech Tips


      • Items available for customization via the navigation system can also be customized by using the GTS.

      • Some customize parameters displayed on the GTS will be displayed on the vehicle customization screen for the navigation system. Users can customize these items.

  10. EXPORT / IMPORT MEMORY POINT FUNCTION OUTLINE


    1. This function allows memory points stored in the radio and display receiver assembly to be registered to another radio and display receiver assembly. Memory points stored in the radio and display receiver assembly can be exported to a USB device. Data exported to a USB device can be imported to another radio and display receiver assembly using a USB device.

  11. AUTOMATIC SOUND LEVELIZER (ASL) FUNCTION OUTLINE


    1. The Automatic Sound Levelizer (ASL) function automatically adjusts the audio system volume in order to compensate for increased vehicle noise (vehicle noise tends to increase as vehicle speed increases). The ASL adjusts the volume based upon vehicle speed signals sent from the combination meter assembly.

  12. MOBILE ASSISTANT FUNCTION OUTLINE (w/ Mobile Assistant Function)


    1. With a compatible portable device connected via "Bluetooth", this function allows the system to interface directly for voice recognition functions. The steering pad switch assembly is operated to start the Mobile Assistant function and the function is operated by using voice commands.

      Tech Tips

      Mobile assistant may not operate or the device may become unresponsive depending on the type of device connected, OS (iOS/Android) version or Google app version.

  13. MIRRORLINK FUNCTION OUTLINE (w/ "MirrorLink" Function)


    1. "MirrorLink" is a function that enables the radio and display receiver assembly to operate applications on a cellular phone which meets Car Connectivity Consortium standards by connecting the cellular phone to the radio and display receiver assembly with a USB cable or USB cable and "Wi-Fi".

    2. Only cellular phones which have passed the Car Connectivity Consortium MirrorLink 1.1 or later (including MirrorLink 1.2) Certification Program are compatible.

      For details, refer to http://carconnectivity.org/ and http://www.mirrorlink.com/

      For details about MirrorLink compatibility, contact the cellular phone manufacturer.

      Tech Tips


      • The "MirrorLink" version may vary depending on the radio and display receiver assembly. If the radio and display receiver assembly supports "MirrorLink" Ver. 1.0, only cellular phones listed in the above compatibility chart are supported.

      • Some applications require payment.

      • The names of applications are subject to change.

      • Some applications have a display restriction in consideration of safe driving.

  14. DIGITAL AUDIO BROADCAST (DAB) FUNCTION OUTLINE (w/ DAB Function)


    1. Digital Audio Broadcast (DAB) is the standard for digital radio. Compared to conventional AM/FM broadcasting, DAB enables higher sound quality radio broadcasting with lower noise when reception conditions change. DAB has an FM-Link function that automatically and temporarily changes the radio to the simultaneously broadcasted FM station if the DAB broadcasting reception level falls.

  15. TOYOTA LINK FUNCTION OUTLINE (w/ Toyota Link Function)


    1. Toyota Link is a service that enables Toyota Link applications and content of a cellular phone to be displayed on and operated from the multi-display. As "Bluetooth" communication is used for the communication between a cellular phone and the radio and display receiver assembly, before using the Toyota Link service on the navigation system, the cellular phone needs to be registered to the navigation system as a "Bluetooth" device. For details regarding Toyota Link operations, each of the applications and compatible phones, refer to https://www.toyota.com.au/owners/toyotalink.

  16. "Miracast" FUNCTION OUTLINE (w/ "Miracast" Function)


    1. About "Miracast"


      1. "Miracast" is a trademark owned by Wi-Fi Alliance, a non-profit industry association.

      2. "Miracast" uses the "Wi-Fi" connection (P2P function) to display cellular phone and tablet screens on the multi-display and allows for audio on the cellular phone, etc., to be streamed through vehicle speakers.

        Tech Tips


        • While driving only sound playback is supported. Videos are not displayed.

        • When Bluetooth audio and "Miracast" are connected simultaneously, audio output priority varies depending on the specifications of the device.

        • Bluetooth and "Miracast" and other "Wi-Fi" use the same 2.4 GHz band radio waves. As a result, if Bluetooth audio and "Miracast" are connected at the same time some sound skipping and image distortion, etc., may occur.

    2. Supported devices

      Supported mobile devices
      • Android cellular phones or tablets certified as "Miracast" compatible devices from the Wi-Fi alliance.


      • For details about "Miracast" compatibility, contact the cellular phone manufacturer.

      Tech Tips


      • Depending on differences between models or software versions etc., some models might be incompatible with this system.

      • Refer to the owner's manual included with the device for information about "Miracast" support.

  17. "Wi-Fi" OUTLINE (w/ "Wi-Fi" Function)


    1. "Wi-Fi" is divided into two functions described in the following table.

      Function Description
      Station Function* Function that connects the radio and display receiver assembly to an access point
      P2P Function Function that connects the radio and display receiver assembly to another device directly

      • *: w/ "Wi-Fi" (Station) Function

    2. "Wi-Fi" is a worldwide wireless communication standard widely used as a short range communication tool.

    3. "Wi-Fi" is a trademark owned by Wi-Fi Alliance, a non-profit industry association.

    4. The radio and display receiver assembly uses the 2.4 GHz frequency band for "Wi-Fi" communication.

      Tech Tips

      The communication performance of "Wi-Fi" may vary depending on obstructions or radio wave conditions between communication devices, electromagnetic radiation, communication device sensitivity or antenna capacity.

  18. SEARCHING GAS STATION IN LOW FUEL FUNCTION OUTLINE (w/ Searching Gas Station in Low Fuel Function)


    1. This function alerts the user of gas stations in the nearby vicinity on the multi-display when the remaining fuel level is low.

      Tech Tips

      It is possible to select the estimated distance this function operates for in the multi-display settings. The function can also be turned off in the settings.

  19. SEARCH LEARNING ROUTE FUNCTION OUTLINE (w/ Search Learing Route Function)


    1. When this function uses the navigation function, if the user travels outside of the recommended route indicated on the navigation system a certain number of times under the same condition, the navigation system learns the user's travel pattern. After the navigation system learns the route, the learned route is used as the recommended route.

      Tech Tips

      When the map information is updated, the learned content by the function above may be reset.

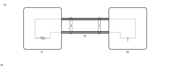
  20. COMMUNICATION SYSTEM


    1. Local Bus Communication Outline

      B006XX8C06
      *a Example *b Local Bus Communication Line
      *c Master Unit *d Slave Unit

      1. Components of the navigation system communicate with each other via the local bus.

      2. The local bus uses a twisted pair of wires for its communication lines.

      3. The master unit of the local bus is the radio and display receiver assembly.

        Tech Tips


        • The radio and display receiver assembly has the resistance (108 to 132 Ω) necessary for communication.

        • If a short or open occurs in the local bus circuit, communication is interrupted and the system will not operate normally.

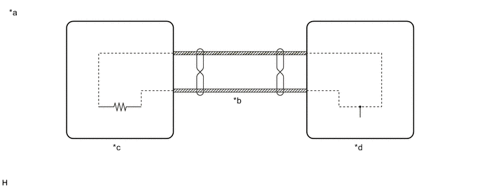
    2. AVC-LAN Outline (w/ Cooler Control Switch Assembly)

      B0071TQC01
      *a Example *b AVC-LAN Communication Line
      *c Master Unit *d Slave Unit

      1. Components of the navigation system communicate with each other via AVC-LAN communication.

      2. The AVC-LAN uses a twisted pair of wires for its communication lines.

      3. The master unit of the AVC-LAN is the radio and display receiver assembly.

        Tech Tips


        • The radio and display receiver assembly has the resistance (60 to 80 Ω) necessary for communication.

        • If a short or open occurs in the AVC-LAN circuit, communication is interrupted and the system will not operate normally.

    3. CAN Communication Outline


      1. The navigation system uses CAN communication between the radio and display receiver assembly and ECUs.

  21. DIAGNOSTIC FUNCTION OUTLINE


    1. The navigation system has a diagnostic function (the result is indicated on the master unit).