TIRE PRESSURE WARNING SYSTEM Cannot Switch to Automatic ID Registration Mode

DESCRIPTION

When "Change Wheel" is selected on the multi-information display and the "OK" switch (steering pad switch assembly) is pushed and held, the system enters ID registration mode and the tire pressure warning light blinks 3 times.

The main body ECU (multiplex network body ECU) receives signals from the combination meter assembly via the CAN communication line.

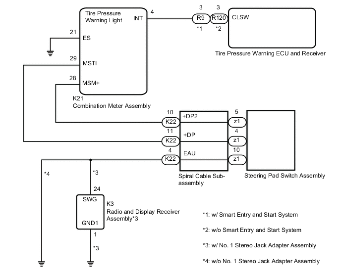
WIRING DIAGRAM

B006X1CE02

PROCEDURE


  1. CHECK TEST MODE (TIRE PRESSURE WARNING RESET SWITCH CHECK [DTC C2198/98])


    1. Perform test mode procedure (tire pressure warning reset switch check (DTC C2198/98)).

      Click here

      Result
      Proceed to
      NEXT

    NEXT