EXHAUST PIPE INSTALLATION

PROCEDURE


  1. INSTALL TAIL EXHAUST PIPE BAFFLE SUB-ASSEMBLY

    Tech Tips


    • Perform this procedure only when replacement of the tail exhaust pipe baffle sub-assembly is necessary.

    • If the tail exhaust pipe baffle sub-assembly is removed, replace it with a new one.

    • Use the same procedure as for the tail exhaust pipe assembly LH (for Dual Type).


    1. B006ZO0C01
      *a Protrusion
      *b Cutout

      Type A (w/ Tail Exhaust Pipe Baffle):


      1. Align the cutout of a new tail exhaust pipe baffle sub-assembly with the protrusion of the tail exhaust pipe assembly as shown in the illustration.

      2. Using a plastic hammer, uniformly tap the tail exhaust pipe baffle sub-assembly onto the tail exhaust pipe assembly.

      3. Check that the cutout of the tail exhaust pipe baffle sub-assembly is aligned with the protrusion on the bottom of the tail exhaust pipe assembly.

    2. B006XJ1C01
      *a Guide Line
      *b Cutout

      Type B:


      1. Align the cutout of a new tail exhaust pipe baffle sub-assembly with the guide line of the tail exhaust pipe assembly as shown in the illustration.

      2. Using a plastic hammer, uniformly tap the tail exhaust pipe baffle sub-assembly onto the tail exhaust pipe assembly.

  2. INSTALL FRONT EXHAUST PIPE ASSEMBLY (TWC: Rear Catalyst)


    1. B006YJA

      Using a vernier caliper, measure the free length of the compression springs.

      Minimum Free Length 41.5 mm (1.63 in.)

      If the free length is less than the minimum, replace the compression spring.

    2. Temporarily install a new gasket to the exhaust manifold converter sub-assembly (TWC: Front Catalyst).

    3. B006X0QC68
      *1 Exhaust Manifold Converter Sub-assembly (TWC: Front Catalyst)
      *2 Gasket
      *a Wooden Block

      Using a plastic hammer and wooden block, tap in the gasket until its surface is flush with the exhaust manifold converter sub-assembly (TWC: Front Catalyst).

      Note


      • Be sure to install the gasket in the correct direction.

      • Do not reuse the gasket.

      • Do not damage the gasket.

      • Do not push in the gasket by using the exhaust pipe when connecting it.

    4. Connect the front exhaust pipe assembly (TWC: Rear Catalyst) to the 2 exhaust pipe supports.

    5. Install the front exhaust pipe assembly (TWC: Rear Catalyst) to the exhaust manifold converter sub-assembly (TWC: Front Catalyst) with the 2 compression springs and 2 bolts.

      Torque:
      43 N*m  { 438 kgf*cm, 32 ft.*lbf }

      Tech Tips

      After installation, check that the space between the flanges of the exhaust manifold converter sub-assembly (TWC: Front Catalyst) and front exhaust pipe assembly (TWC: Rear Catalyst) is consistent front-to-rear and left-to-right.

      B00711OC02
      *1 Exhaust Manifold Converter Sub-assembly (TWC: Front Catalyst)
      *2 Front Exhaust Pipe Assembly (TWC: Rear Catalyst)
      *3 Gasket
      *a Space between Flanges: 8.5 mm (0.335 in.)
  3. INSTALL HEATED OXYGEN SENSOR

    Click here

  4. INSTALL BODY MOUNTING PLATE


    1. Install the body mounting plate with the 6 bolts.

      Torque:
      17.5 N*m  { 178 kgf*cm, 13 ft.*lbf }
  5. INSTALL CENTER FLOOR CROSSMEMBER BRACE


    1. Install the center floor crossmember brace to the vehicle body with the 4 bolts.

      Torque:
      15 N*m  { 153 kgf*cm, 11 ft.*lbf }
  6. INSTALL FRONT CENTER FLOOR BRACE


    1. Install the front center floor brace to the vehicle body with the 4 bolts.

      Torque:
      15 N*m  { 153 kgf*cm, 11 ft.*lbf }
  7. INSTALL CENTER EXHAUST PIPE ASSEMBLY


    1. B006YJA

      Using a vernier caliper, measure the free length of the compression springs.

      Minimum Free Length 38.5 mm (1.52 in.)

      If the free length is less than minimum, replace the compression spring.

    2. Temporarily install a new gasket to the front exhaust pipe assembly (TWC: Rear Catalyst).

    3. B006X0QC68
      *1 Front Exhaust Pipe Assembly (TWC: Rear Catalyst)
      *2 Gasket
      *a Wooden Block

      Using a plastic hammer and wooden block, tap in the gasket until its surface is flush with the front exhaust pipe assembly (TWC: Rear Catalyst).

      Note


      • Be sure to install the gasket in the correct direction.

      • Do not reuse the gasket.

      • Do not damage the gasket.

      • Do not push in the gasket by using the exhaust pipe when connecting it.

    4. Connect the center exhaust pipe assembly to the exhaust pipe support.

    5. Install the center exhaust pipe assembly to the front exhaust pipe assembly (TWC: Rear Catalyst) with the 2 compression springs and 2 bolts.

      Torque:
      43 N*m  { 438 kgf*cm, 32 ft.*lbf }

      Tech Tips

      After installation, check that the space between the flanges of the front exhaust pipe assembly (TWC: Rear Catalyst) and center exhaust pipe assembly is consistent front-to-rear and left-to-right.

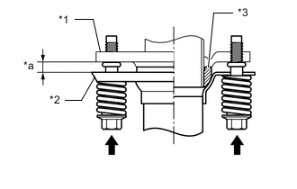
      B0071LHC01
      *1 Front Exhaust Pipe Assembly (TWC: Rear Catalyst)
      *2 Center Exhaust Pipe Assembly
      *3 Gasket
      *a Space between Flanges: 6.5 mm (0.256 in.)
  8. INSTALL TAIL EXHAUST PIPE ASSEMBLY


    1. Install a new gasket to the center exhaust pipe assembly.

    2. Connect the tail exhaust pipe assembly to the 2 exhaust pipe supports.

    3. Install the tail exhaust pipe assembly to the center exhaust pipe assembly with 2 new bolts.

      Torque:
      43 N*m  { 438 kgf*cm, 32 ft.*lbf }
  9. INSTALL TAIL EXHAUST PIPE ASSEMBLY LH (for Dual Type)


    1. Install a new gasket to the center exhaust pipe assembly.

    2. Connect the tail exhaust pipe assembly LH to the 2 exhaust pipe supports.

    3. Install the tail exhaust pipe assembly LH to the center exhaust pipe assembly with 2 new bolts.

      Torque:
      43 N*m  { 438 kgf*cm, 32 ft.*lbf }
  10. INSPECT FOR EXHAUST GAS LEAK

    If gas is leaking, tighten the areas necessary to stop the leak. Replace damaged parts as necessary.


    1. Perform "Inspection After Repair" after repairing an exhaust gas leak.

      Click here