SPIRAL CABLE INSPECTION

CAUTION / NOTICE / HINT

Note


  • Do not remove the steering sensor from the spiral cable sub-assembly when inspecting the spiral cable sub-assembly.

  • Remove the steering sensor from the spiral cable sub-assembly only when replacing the spiral cable sub-assembly.

PROCEDURE


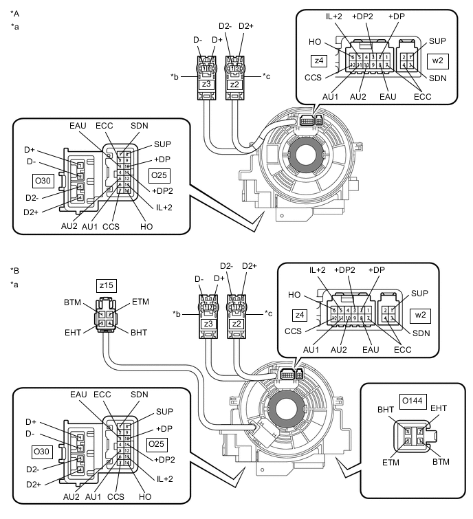
  1. INSPECT SPIRAL CABLE SUB-ASSEMBLY (w/o Pre-collision System)


    1. Visually check for defects with the spiral cable sub-assembly.


      1. The defects are as follows:


        • Scratches

        • Small cracks

        • Dents

        • Chips

        • Cracks or other damage to the connector

          OK
          No defects are found.

        If any defects are found, replace the spiral cable sub-assembly with a new one.

    2. Check the spiral cable sub-assembly.

      B004GTFC26
      *A w/o Heated Steering System *B w/ Heated Steering System
      *a

      Component without harness connected

      (Spiral Cable Sub-assembly)

      *b Color: Orange
      *c Color: Black - -
      B004FOV Interlock - -

      Note


      • When rotating the spiral cable sub-assembly, make sure to push on the interlock shown in the illustration to release the interlock mechanism.

      • As the spiral cable sub-assembly may break, do not rotate the spiral cable sub-assembly more than the specified amount.


      1. Set the spiral cable sub-assembly to the center position.

        Click here

      2. Measure the resistance between each terminal of the spiral cable sub-assembly according to the value(s) in the table below.

        Standard Resistance
        Tester Connection Condition Specified Condition
        O25-1 (SDN) - w2-3 (SDN) Always 3 Ω or less
        O25-2 (ECC) - z4-7 (ECC) Always 3 Ω or less
        O25-2 (ECC) - w2-4 (ECC) Always 3 Ω or less
        O25-3 (EAU) - z4-8 (EAU) Always 3 Ω or less
        O25-5 (AU2) - z4-10 (AU2) Always 3 Ω or less
        O25-6 (AU1) - z4-11 (AU1) Always 3 Ω or less
        O25-7 (CCS) - z4-12 (CCS) Always 3 Ω or less
        O25-8 (SUP) - w2-1 (SUP) Always 3 Ω or less
        O25-10 (+DP) - z4-2 (+DP) Always 3 Ω or less
        O25-11 (+DP2) - z4-3 (+DP2) Always 3 Ω or less
        O25-13 (IL+2) - z4-5 (IL+2) Always 3 Ω or less
        O25-14 (HO) - z4-6 (HO) Always 3 Ω or less
        O30-1 (D+) - z3-2 (D+) Always Below 1 Ω
        O30-2 (D-) - z3-1 (D-) Always Below 1 Ω
        O30-3 (D2-) - z2-1 (D2-) Always Below 1 Ω
        O30-4 (D2+) - z2-2 (D2+) Always Below 1 Ω
        O144-1 (BTM) - z15-1 (BTM)* Always 3 Ω or less
        O144-2 (EHT) - z15-3 (EHT)* Always Below 0.1 Ω
        O144-3 (ETM) - z15-2 (ETM)* Always 3 Ω or less
        O144-4 (BHT) - z15-4 (BHT)* Always Below 0.1 Ω
        *: w/ Heated Steering System
      3. After setting the spiral cable sub-assembly to the center position, rotate the spiral cable sub-assembly 2.5 times clockwise, and measure the resistance according to the value(s) in the table below. Then rotate the spiral cable sub-assembly 5 times counterclockwise, and measure the resistance according to the value(s) in the table below.

        Standard Resistance
        Tester Connection Condition Specified Condition
        O25-1 (SDN) - w2-3 (SDN) Always 3 Ω or less
        O25-2 (ECC) - z4-7 (ECC) Always 3 Ω or less
        O25-2 (ECC) - w2-4 (ECC) Always 3 Ω or less
        O25-3 (EAU) - z4-8 (EAU) Always 3 Ω or less
        O25-5 (AU2) - z4-10 (AU2) Always 3 Ω or less
        O25-6 (AU1) - z4-11 (AU1) Always 3 Ω or less
        O25-7 (CCS) - z4-12 (CCS) Always 3 Ω or less
        O25-8 (SUP) - w2-1 (SUP) Always 3 Ω or less
        O25-10 (+DP) - z4-2 (+DP) Always 3 Ω or less
        O25-11 (+DP2) - z4-3 (+DP2) Always 3 Ω or less
        O25-13 (IL+2) - z4-5 (IL+2) Always 3 Ω or less
        O25-14 (HO) - z4-6 (HO) Always 3 Ω or less
        O30-1 (D+) - z3-2 (D+) Always Below 1 Ω
        O30-2 (D-) - z3-1 (D-) Always Below 1 Ω
        O30-3 (D2-) - z2-1 (D2-) Always Below 1 Ω
        O30-4 (D2+) - z2-2 (D2+) Always Below 1 Ω
        O144-1 (BTM) - z15-1 (BTM)* Always 3 Ω or less
        O144-2 (EHT) - z15-3 (EHT)* Always Below 0.1 Ω
        O144-3 (ETM) - z15-2 (ETM)* Always 3 Ω or less
        O144-4 (BHT) - z15-4 (BHT)* Always Below 0.1 Ω
        *: w/ Heated Steering System
      4. After setting the spiral cable sub-assembly to the center position, rotate the spiral cable sub-assembly 2.5 times clockwise. Then while rotating the spiral cable sub-assembly 5 times counterclockwise, measure the resistance according to the value(s) in the table below.

        Standard Resistance
        Tester Connection Condition Specified Condition
        O25-1 (SDN) - w2-3 (SDN) Always 3 Ω or less
        O25-2 (ECC) - z4-7 (ECC) Always 3 Ω or less
        O25-2 (ECC) - w2-4 (ECC) Always 3 Ω or less
        O25-3 (EAU) - z4-8 (EAU) Always 3 Ω or less
        O25-5 (AU2) - z4-10 (AU2) Always 3 Ω or less
        O25-6 (AU1) - z4-11 (AU1) Always 3 Ω or less
        O25-7 (CCS) - z4-12 (CCS) Always 3 Ω or less
        O25-8 (SUP) - w2-1 (SUP) Always 3 Ω or less
        O25-10 (+DP) - z4-2 (+DP) Always 3 Ω or less
        O25-11 (+DP2) - z4-3 (+DP2) Always 3 Ω or less
        O25-13 (IL+2) - z4-5 (IL+2) Always 3 Ω or less
        O25-14 (HO) - z4-6 (HO) Always 3 Ω or less
        O30-1 (D+) - z3-2 (D+) Always Below 1 Ω
        O30-2 (D-) - z3-1 (D-) Always Below 1 Ω
        O30-3 (D2-) - z2-1 (D2-) Always Below 1 Ω
        O30-4 (D2+) - z2-2 (D2+) Always Below 1 Ω
        O144-1 (BTM) - z15-1 (BTM)* Always 3 Ω or less
        O144-2 (EHT) - z15-3 (EHT)* Always Below 0.1 Ω
        O144-3 (ETM) - z15-2 (ETM)* Always 3 Ω or less
        O144-4 (BHT) - z15-4 (BHT)* Always Below 0.1 Ω
        *: w/ Heated Steering System

        If the result is not as specified, replace the spiral cable sub-assembly.

  2. INSPECT SPIRAL CABLE SUB-ASSEMBLY (w/ Pre-collision System)


    1. Visually check for defects with the spiral cable sub-assembly.


      1. The defects are as follows:


        • Scratches

        • Small cracks

        • Dents

        • Chips

        • Cracks or other damage to the connector

          OK
          No defects are found.

        If any defects are found, replace the spiral cable sub-assembly with a new one.

    2. Check the spiral cable sub-assembly.

      B004FJ7C16
      *a

      Component without harness connected

      (Spiral Cable Sub-assembly)

      *b Color: Orange
      *c Color: Black - -
      B004FOV Interlock - -

      Note


      • When rotating the spiral cable sub-assembly, make sure to push on the interlock shown in the illustration to release the interlock mechanism.

      • As the spiral cable sub-assembly may break, do not rotate the spiral cable sub-assembly more than the specified amount.


      1. Set the spiral cable sub-assembly to the center position.

        Click here

      2. Measure the resistance between each terminal of the spiral cable sub-assembly according to the value(s) in the table below.

        Standard Resistance
        Tester Connection Condition Specified Condition
        O25-1 (SDN) - z18-3 (SDN) Always 3 Ω or less
        O25-2 (ECC) - z4-7 (ECC) Always 3 Ω or less
        O25-2 (ECC) - z18-4 (ECC) Always 3 Ω or less
        O25-3 (EAU) - z4-8 (EAU) Always 3 Ω or less
        O25-5 (AU2) - z4-10 (AU2) Always 3 Ω or less
        O25-6 (AU1) - z4-11 (AU1) Always 3 Ω or less
        O25-7 (CCS) - z4-12 (CCS) Always 3 Ω or less
        O25-8 (SUP) - z18-1 (SUP) Always 3 Ω or less
        O25-9 (LDA) - z18-2 (LDA) Always 3 Ω or less
        O25-10 (+DP) - z4-2 (+DP) Always 3 Ω or less
        O25-11 (+DP2) - z4-3 (+DP2) Always 3 Ω or less
        O25-12 (DIST) - z4-4 (DIST) Always 3 Ω or less
        O25-13 (IL+2) - z4-5 (IL+2) Always 3 Ω or less
        O25-14 (HO) - z4-6 (HO) Always 3 Ω or less
        O30-1 (D+) - z3-2 (D+) Always Below 1 Ω
        O30-2 (D-) - z3-1 (D-) Always Below 1 Ω
        O30-3 (D2-) - z2-1 (D2-) Always Below 1 Ω
        O30-4 (D2+) - z2-2 (D2+) Always Below 1 Ω
        O144-1 (BTM) - z16-2 (BTM) Always 3 Ω or less
        O144-2 (EHT) - z16-1 (EHT) Always Below 0.1 Ω
        O144-3 (ETM) - z16-3 (ETM) Always 3 Ω or less
        O144-4 (BHT) - z16-4 (BHT) Always Below 0.1 Ω
      3. After setting the spiral cable sub-assembly to the center position, rotate the spiral cable sub-assembly 2.5 times clockwise, and measure the resistance according to the value(s) in the table below. Then rotate the spiral cable sub-assembly 5 times counterclockwise, and measure the resistance according to the value(s) in the table below.

        Standard Resistance
        Tester Connection Condition Specified Condition
        O25-1 (SDN) - z18-3 (SDN) Always 3 Ω or less
        O25-2 (ECC) - z4-7 (ECC) Always 3 Ω or less
        O25-2 (ECC) - z18-4 (ECC) Always 3 Ω or less
        O25-3 (EAU) - z4-8 (EAU) Always 3 Ω or less
        O25-5 (AU2) - z4-10 (AU2) Always 3 Ω or less
        O25-6 (AU1) - z4-11 (AU1) Always 3 Ω or less
        O25-7 (CCS) - z4-12 (CCS) Always 3 Ω or less
        O25-8 (SUP) - z18-1 (SUP) Always 3 Ω or less
        O25-9 (LDA) - z18-2 (LDA) Always 3 Ω or less
        O25-10 (+DP) - z4-2 (+DP) Always 3 Ω or less
        O25-11 (+DP2) - z4-3 (+DP2) Always 3 Ω or less
        O25-12 (DIST) - z4-4 (DIST) Always 3 Ω or less
        O25-13 (IL+2) - z4-5 (IL+2) Always 3 Ω or less
        O25-14 (HO) - z4-6 (HO) Always 3 Ω or less
        O30-1 (D+) - z3-2 (D+) Always Below 1 Ω
        O30-2 (D-) - z3-1 (D-) Always Below 1 Ω
        O30-3 (D2-) - z2-1 (D2-) Always Below 1 Ω
        O30-4 (D2+) - z2-2 (D2+) Always Below 1 Ω
        O144-1 (BTM) - z16-2 (BTM) Always 3 Ω or less
        O144-2 (EHT) - z16-1 (EHT) Always Below 0.1 Ω
        O144-3 (ETM) - z16-3 (ETM) Always 3 Ω or less
        O144-4 (BHT) - z16-4 (BHT) Always Below 0.1 Ω
      4. After setting the spiral cable sub-assembly to the center position, rotate the spiral cable sub-assembly 2.5 times clockwise. Then while rotating the spiral cable sub-assembly 5 times counterclockwise, measure the resistance according to the value(s) in the table below.

        Standard Resistance
        Tester Connection Condition Specified Condition
        O25-1 (SDN) - z18-3 (SDN) Always 3 Ω or less
        O25-2 (ECC) - z4-7 (ECC) Always 3 Ω or less
        O25-2 (ECC) - z18-4 (ECC) Always 3 Ω or less
        O25-3 (EAU) - z4-8 (EAU) Always 3 Ω or less
        O25-5 (AU2) - z4-10 (AU2) Always 3 Ω or less
        O25-6 (AU1) - z4-11 (AU1) Always 3 Ω or less
        O25-7 (CCS) - z4-12 (CCS) Always 3 Ω or less
        O25-8 (SUP) - z18-1 (SUP) Always 3 Ω or less
        O25-9 (LDA) - z18-2 (LDA) Always 3 Ω or less
        O25-10 (+DP) - z4-2 (+DP) Always 3 Ω or less
        O25-11 (+DP2) - z4-3 (+DP2) Always 3 Ω or less
        O25-12 (DIST) - z4-4 (DIST) Always 3 Ω or less
        O25-13 (IL+2) - z4-5 (IL+2) Always 3 Ω or less
        O25-14 (HO) - z4-6 (HO) Always 3 Ω or less
        O30-1 (D+) - z3-2 (D+) Always Below 1 Ω
        O30-2 (D-) - z3-1 (D-) Always Below 1 Ω
        O30-3 (D2-) - z2-1 (D2-) Always Below 1 Ω
        O30-4 (D2+) - z2-2 (D2+) Always Below 1 Ω
        O144-1 (BTM) - z16-2 (BTM) Always 3 Ω or less
        O144-2 (EHT) - z16-1 (EHT) Always Below 0.1 Ω
        O144-3 (ETM) - z16-3 (ETM) Always 3 Ω or less
        O144-4 (BHT) - z16-4 (BHT) Always Below 0.1 Ω

        If the result is not as specified, replace the spiral cable sub-assembly.