METER / GAUGE SYSTEM Speed Signal Circuit

DESCRIPTION

The combination meter assembly receives the vehicle speed signal from this circuit. The wheel speed sensors produce an output that varies according to the vehicle speed. The wheel speed sensor output is received by the skid control ECU assembly which uses this information to create the vehicle speed signal*a. The vehicle speed signal consists of pulses sent to the combination meter assembly from the skid control ECU assembly. To create this signal, 12 V is output from IG2 which is behind a resistor in the combination meter assembly. This voltage is sent to the skid control ECU assembly. The pulse signal is created by switching the transistor in the skid control ECU assembly on and off, making the voltage on the wire drop to 0 V. A similar system is used for the output of this signal from the combination meter assembly via terminal +S. A voltage of 12 V or 5 V is applied to terminal +S from each ECU or relay that is connected to this terminal. The transistor in the combination meter assembly is controlled by the signal from the skid control ECU assembly. When this transistor is turned on, this transistor makes the voltage supplied by the various ECUs (via their respective internal resistors) drop to 0 V. Each ECU connected to terminal +S of the combination meter assembly controls its respective system based on this pulse signal.


Tech Tips

This circuit is used for the systems connected to terminal +S. This signal is not used for combination meter assembly operation. Combination meter assembly components such as the speedometer operate using data received via CAN communication.

WIRING DIAGRAM

B004FDXE01

PROCEDURE


  1. INSPECT ECU TERMINAL VOLTAGE (INPUT VOLTAGE)


    1. B004ED5C20
      *a

      Front view of wire harness connector

      (to Combination Meter Assembly)

      Disconnect the O3 combination meter assembly connector.

    2. Measure the voltage according to the value(s) in the table below.

      Standard Voltage
      Tester Connection Condition Specified Condition
      O3-19 (+S) - Body ground Power switch on (IG) 4.5 to 14 V

      Tech Tips

      If any of the ECUs specified in the wiring diagram supplies power to the combination meter assembly, the combination meter assembly will output a waveform.

      Result
      Proceed to
      OK
      NG

    NG
    OK
  2. INSPECT COMBINATION METER ASSEMBLY (OUTPUT VOLTAGE)


    1. Reconnect the O3 combination meter assembly connector.

    2. B004GFYC07
      *a

      Front view of wire harness connector

      (to Skid Control ECU Assembly)

      Disconnect the A22 skid control ECU assembly connector.

    3. Measure the voltage according to the value(s) in the table below.

      Standard Voltage
      Tester Connection Condition Specified Condition
      A22-23 (SP1) - Body ground Power switch on (IG) 11 to 14 V
      Result
      Proceed to
      OK
      NG

    NG
    OK
  3. INSPECT SKID CONTROL ECU ASSEMBLY (INPUT WAVEFORM)


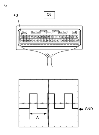
    1. B004GJFC31
      *a

      Component with harness connected

      (Combination Meter Assembly)

      Check the input waveform.


      1. Reconnect the A22 skid control ECU assembly connector.

      2. Remove the combination meter assembly with the connector(s) still connected.

      3. Connect an oscilloscope to terminal O3-20 (SI) and body ground.

      4. Turn the power switch on (IG).

      5. Turn a wheel slowly.

      6. Check the signal waveform according to the condition(s) in the table below.

        Item Condition
        Tool setting 5 V/DIV., 20 ms./DIV.
        Vehicle condition Power switch on (IG), wheel being rotated
        OK
        The waveform is similar to that shown in the illustration.

        Tech Tips

        When the system is functioning normally, one wheel revolution generates 4 pulses. As the vehicle speed increases, the width indicated by (A) in the illustration narrows.

      Result
      Proceed to
      OK
      NG

    OK
    NG
  4. CHECK HARNESS AND CONNECTOR (COMBINATION METER ASSEMBLY - SKID CONTROL ECU ASSEMBLY)


    1. Disconnect the O3 combination meter assembly connector.

    2. Measure the resistance according to the value(s) in the table below.

      Standard Resistance
      Tester Connection Condition Specified Condition
      O3-20 (SI) - A22-23 (SP1) Always Below 1 Ω
      O3-20 (SI) - Body ground Always 10 kΩ or higher
      Result
      Proceed to
      OK
      NG

    OK
    NG
  5. CHECK HARNESS AND CONNECTOR (COMBINATION METER ASSEMBLY - EACH ECU)


    1. Disconnect the O6 certification ECU (smart key ECU assembly) connector.

    2. Disconnect the O57*1, *2 or O70*3 radio receiver assembly connector.

    3. Disconnect the T20*1, *2 or T21*3 stereo component amplifier assembly connector.

    4. Disconnect the O33 vehicle approaching speaker controller connector*4.


      • *1: w/ Navigation System

      • *2: w/ Audio and Visual System with Parking Assist Monitor System

      • *3: w/ Audio and Visual System without Parking Assist Monitor System

      • *4: w/ Vehicle Proximity Notification System

    5. Measure the resistance according to the value(s) in the table below.

      Standard Resistance
      Tester Connection Condition Specified Condition
      O3-19 (+S) - Body ground Always 10 kΩ or higher
      Result
      Proceed to
      OK
      NG

    NG
    OK
  6. INSPECT CERTIFICATION ECU (SHORT CIRCUIT IN CERTIFICATION ECU (SMART KEY ECU ASSEMBLY))


    1. Reconnect the O57*1, *2 or O70*3 radio receiver assembly connector.

    2. Reconnect the T20*1, *2 or T21*3 stereo component amplifier assembly connector.

    3. Reconnect the O33 vehicle approaching speaker controller connector*4.


      • *1: w/ Navigation System

      • *2: w/ Audio and Visual System with Parking Assist Monitor System

      • *3: w/ Audio and Visual System without Parking Assist Monitor System

      • *4: w/ Vehicle Proximity Notification System

    4. Measure the voltage according to the value(s) in the table below.

      Standard Voltage
      Tester Connection Condition Specified Condition
      O3-19 (+S) - Body ground Power switch on (IG) 4.5 to 14 V

      Tech Tips

      If the result is as specified, there may be a short circuit in the certification ECU (smart key ECU assembly).

      Result
      Proceed to
      OK
      NG

    OK
    NG
  7. INSPECT RADIO RECEIVER ASSEMBLY (SHORT CIRCUIT IN RADIO RECEIVER ASSEMBLY)


    1. Disconnect the O57*1, *2 or O70*3 radio receiver assembly connector.


      • *1: w/ Navigation System

      • *2: w/ Audio and Visual System with Parking Assist Monitor System

      • *3: w/ Audio and Visual System without Parking Assist Monitor System

    2. Measure the voltage according to the value(s) in the table below.

      Standard Voltage
      Tester Connection Condition Specified Condition
      O3-19 (+S) - Body ground Power switch on (IG) 4.5 to 14 V

      Tech Tips

      If the result is as specified, there may be a short circuit in the radio receiver assembly.

      Result
      Result Proceed to
      OK A
      NG (w/o Vehicle Proximity Notification System) B
      NG (w/ Vehicle Proximity Notification System) C

    A
    B
    C
  8. INSPECT STEREO COMPONENT AMPLIFIER ASSEMBLY (SHORT CIRCUIT IN STEREO COMPONENT AMPLIFIER ASSEMBLY)


    1. Disconnect the T20*1, *2 or T21*3 stereo component amplifier assembly connector.


      • *1: w/ Navigation System

      • *2: w/ Audio and Visual System with Parking Assist Monitor System

      • *3: w/ Audio and Visual System without Parking Assist Monitor System

    2. Measure the voltage according to the value(s) in the table below.

      Standard Voltage
      Tester Connection Condition Specified Condition
      O3-19 (+S) - Body ground Power switch on (IG) 4.5 to 14 V

      Tech Tips

      If the result is as specified, there may be a short circuit in the stereo component amplifier assembly.

      Result
      Proceed to
      OK
      NG

    OK
    NG