WINDSHIELD GLASS INSTALLATION

CAUTION / NOTICE / HINT

Note


  • When replacing the windshield glass of a vehicle equipped with a forward recognition camera, make sure to use a Lexus genuine part. If a non-Lexus genuine part is used, the forward recognition camera may not be able to be installed due to a missing bracket. Also, the dynamic radar cruise control system, lane departure alert system, pre-collision system, forward recognition camera system or automatic high beam system may not operate properly due to a difference in the transmissivity or black ceramic border.

  • Make sure to use Toyota Genuine Windshield Glass Adhesive (High Modulus Type) or equivalent.

PROCEDURE


  1. INSTALL NO. 1 WINDSHIELD GLASS STOPPER (for 2-piece Type)


    1. B004ELZ

      Install 2 new No. 1 windshield glass stoppers to the vehicle body as shown in the illustration.

      Tech Tips

      Only 2-piece type windshield glass stoppers are provided as supply parts. Use 2-piece type stoppers as replacements even if 1-piece type stoppers were originally installed.

  2. INSTALL NO. 2 WINDSHIELD GLASS STOPPER (for 2-piece Type)


    1. Using a brush or sponge, coat the installation area of 2 new No. 2 windshield glass stoppers with primer G.

      Note


      • Do not apply too much primer G.

      • Allow the primer G to dry for 3 minutes or more.

      • Throw away any leftover primer G.

      Tech Tips

      If an area other than specified is coated by accident, wipe off the primer G with a clean piece of cloth before it dries.

    2. B004G8OC01
      *A Back Side
      *a Ceramic Notch
      *b Windshield Glass Edge Side

      Install the 2 new No. 2 windshield glass stoppers to the windshield glass as shown in the illustration.

      Standard Dimension
      Area Dimension
      a 14.2 mm (0.559 in.)

      Tech Tips

      Only 2-piece type windshield glass stoppers are provided as supply parts. Use 2-piece type stoppers as replacements even if 1-piece type stoppers were originally installed.

  3. INSTALL WINDSHIELD OUTSIDE MOULDING


    1. Using a brush or sponge, coat the installation area of a new windshield outside moulding with primer G.

      Note


      • Do not apply too much primer G.

      • Allow the primer G to dry for 3 minutes or more.

      • Throw away any leftover primer G.

      Tech Tips

      If an area other than specified is coated by accident, wipe off the primer G with a clean piece of cloth before it dries.

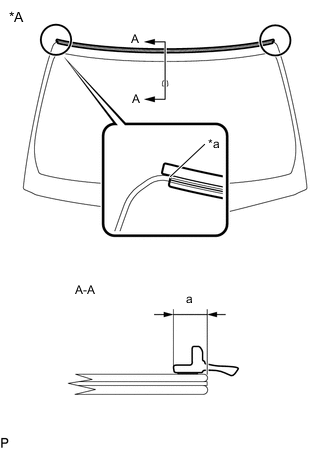
    2. B004EEJC01
      *A Back Side
      *a Edge Of Curved Surface

      Install the new windshield outside moulding to the windshield glass as shown in the illustration.

      Standard Dimension
      Area Dimension
      a 7.15 mm (0.281 in.)
  4. INSTALL NO. 1 INSTRUMENT PANEL CUSHION


    1. Using a brush or sponge, coat the installation area of a new No. 1 instrument panel cushion with primer G.

      Note


      • Do not apply too much primer G.

      • Allow the primer G to dry for 3 minutes or more.

      • Throw away any leftover primer G.

      Tech Tips

      If an area other than specified is coated by accident, wipe off the primer G with a clean piece of cloth before it dries.

    2. Install the new No. 1 instrument panel cushion to the windshield glass as shown in the illustration.

      B004G2NC01
      *A Back Side - -
      *a Ceramic Notch *b Windshield Glass Edge Side
      Standard Dimension
      Area Dimension
      a 102.5 mm (4.04 in.)
      b 174.1 mm (6.85 in.)
      c 74.3 mm (2.93 in.)
  5. INSTALL FRONT WINDOW INNER MOULDING COVER LH


    1. Using a brush or sponge, coat the installation area of a new front window inner moulding cover LH with primer G.

      Note


      • Do not apply too much primer G.

      • Allow the primer G to dry for 3 minutes or more.

      • Throw away any leftover primer G.

      Tech Tips

      If an area other than specified is coated by accident, wipe off the primer G with a clean piece of cloth before it dries.

    2. Install the new front window inner moulding cover LH to the windshield glass as shown in the illustration.

      B004GVXC01
      *A Back Side - -
      *a Ceramic Notch *b Windshield Glass Edge Side
      Standard Dimension
      Area Dimension
      a 9.0 mm (0.354 in.)
      b 69.6 mm (2.74 in.)
      c 69.6 mm (2.74 in.)
  6. INSTALL WINDOW GLASS ADHESIVE DAM


    1. B004EEZC02
      *a Cut

      Cut a new window glass adhesive dam so that it is the appropriate size as shown in the illustration.

      Standard Dimension
      Area Dimension
      a 2762 mm (109 in.)
    2. Using a brush or sponge, coat the installation area of the new window glass adhesive dam with primer G.

      Note


      • Do not apply too much primer G.

      • Allow the primer G to dry for 3 minutes or more.

      • Throw away any leftover primer G.

      Tech Tips

      If an area other than specified is coated by accident, wipe off the primer G with a clean piece of cloth before it dries.

    3. Install the window glass adhesive dam to the windshield glass as shown in the illustration.

      B004G63C01
      *A Back Side - -
      *a window glass adhesive dam positioning ceramic notch *b window glass adhesive dam positioning center line
      Standard Dimension
      Area Dimension
      a 11.5 mm (0.453 in.)
      b 89.0 mm (3.50 in.)
  7. INSTALL WINDSHIELD GLASS SUB-ASSEMBLY


    1. B004FAOC02
      *a Matchmark

      Position the windshield glass sub-assembly.


      1. Using suction cups, place the windshield glass sub-assembly in the correct position.

      2. Check that the whole contact surface of the windshield glass sub-assembly rim is perfectly even.

      3. Align the matchmarks on the windshield glass sub-assembly and vehicle body.

        Note

        Check that the windshield glass stoppers are engaged to the vehicle body correctly.

      4. Remove the windshield glass sub-assembly.

    2. Using a brush, coat the installation surface on the vehicle body with primer M.

      Note


      • Do not coat the adhesive with primer M.

      • Do not apply too much primer M.

      • Allow the primer M to dry for 3 minutes or more.

      • Throw away any leftover primer M.

      Tech Tips

      If an area other than specified is coated by accident, wipe off the primer M with a clean piece of cloth before it dries.

    3. Using a brush or sponge, coat the application area of adhesive with primer G.

      B004ELAC01
      *A Back Side - -
      *a Adhesive center position *b Ceramic Notch
      B004FO9 Primer G - -
      Standard Dimension
      Area Dimension
      a 11.0 mm (0.433 in.)
      b 8.3 mm (0.327 in.)
      c 6.5 mm (0.256 in.)
      d 19.0 mm (0.748 in.)

      Note


      • Do not apply too much primer G.

      • Allow the primer G to dry for 3 minutes or more.

      • Throw away any leftover primer G.

      Tech Tips


      • Apply primer G onto the ceramic notches.

      • If an area other than specified is coated by accident, wipe off the primer G with a clean piece of cloth before it dries.

    4. Apply adhesive to the windshield glass sub-assembly.

      Adhesive
      Toyota Genuine Windshield Glass Adhesive (High modulus Type) or Equivalent

      1. B004FW5C28
        *a Nozzle

        Cut off the tip of the cartridge nozzle as shown in the illustration.

        Standard Dimension
        Area Dimension
        a 12.0 mm (0.472 in.) or more
        b 8.0 mm (0.315 in.) or more
      2. Load the sealer gun with the cartridge.

      3. Apply adhesive to the windshield glass sub-assembly as shown in the illustration.

        B004FOZC01
        *A Back Side - -
        *a Adhesive center position *b Ceramic Notch
        B004FO9 Adhesive - -
        Standard Dimension
        Area Dimension
        a 4.0 mm (0.157 in.)
        b 4.0 mm (0.157 in.)
        c 4.0 mm (0.157 in.)
        d 8.0 mm (0.315 in.)
        e 4.0 mm (0.157 in.)

        Tech Tips

        Apply adhesive onto the ceramic notches.

    5. B004FAOC03
      *a Matchmark

      Install the windshield glass sub-assembly.


      1. Using suction cups, position the windshield glass sub-assembly so that the matchmarks are aligned, and press it in gently along the rim.

        Note


        • Check that the windshield glass stoppers are engaged to the vehicle body correctly.

        • Check the clearance between the vehicle body and windshield glass sub-assembly.

      2. Lightly press the front surface of the windshield glass sub-assembly to ensure that the windshield glass is securely fit to the vehicle body.

        Tech Tips

        Press the glass with a force of 98 N (10 kgf, 22.0 lbf) or more.

      3. Using a scraper, remove any excess or protruding adhesive.

      4. Hold the windshield glass using protective tape until the applied adhesive becomes hard.

        Note

        Do not drive the vehicle for the time described in the table below.

        Minimum Time
        Temperature Minimum Time Prior to Driving Vehicle
        35°C (95°F) 1 hour and 30 minutes
        20°C (68°F) 5 hours
        5°C (41°F) 24 hours
    6. w/ Windshield Deicer System:


      1. Connect the connector.

  8. INSPECT FOR LEAK


    1. After the adhesive has hardened, apply water from the outside of the vehicle. Check that no water leaks into the cabin.

    2. If water leaks into the cabin, allow the water to dry and add adhesive.

    3. Remove the protective tape.

  9. INSTALL ROOF HEADLINING ASSEMBLY

    Click here

  10. INSTALL FORWARD RECOGNITION CAMERA (w/ Pre-collision System)

    Click here

  11. INSTALL RAIN SENSOR (w/ Rain Sensor)

    Click here

  12. INSTALL INNER REAR VIEW MIRROR ASSEMBLY

    Click here

  13. INSTALL COWL TOP VENTILATOR LOUVER SUB-ASSEMBLY

    Click here

  14. INSTALL COWL TOP SILENCER PAD LH

    Click here

  15. INSTALL COWL TOP SILENCER PAD RH

    Click here

  16. INSTALL FRONT WIPER ARM AND BLADE ASSEMBLY LH

    Click here

  17. INSTALL FRONT WIPER ARM AND BLADE ASSEMBLY RH

    Click here

  18. INSTALL FRONT WIPER ARM HEAD CAP

    Click here

  19. INSTALL WINDSHIELD OUTSIDE MOULDING LH

    Click here

  20. INSTALL WINDSHIELD OUTSIDE MOULDING RH

    Tech Tips

    Use the same procedure as for the LH side.