STEERING PAD DISPOSAL

CAUTION / NOTICE / HINT

CAUTION:

Before performing pre-disposal deployment of any SRS part, review and closely follow all applicable environmental and hazardous material regulations. Pre-disposal deployment may be considered hazardous material treatment.

PROCEDURE


  1. PRECAUTION

    CAUTION:


    • An airbag or pretensioner may be activated by static electricity. To prevent this, be sure to touch a metal surface with your bare hands to discharge static electricity before performing this procedure.

    • B005NXF

      Never dispose of a horn button assembly with an undeployed airbag.

    • The airbag produces an exploding sound when it is deployed, so perform the operation outdoors where it will not disturb nearby residents.

      B005PP6
    • When deploying the airbag, always use the specified SST (SRS airbag deployment tool). Perform the operation in a place away from electrical noise.

    • When deploying the airbag, perform the operation at least 10 m (32.8 ft.) away from the horn button assembly.

    • The horn button assembly becomes extremely hot when the airbag is deployed, so do not touch it for at least 30 minutes after deployment.

    • Use gloves and safety glasses when handling a horn button assembly with a deployed airbag.

    • Do not apply water, etc. to a horn button assembly with a deployed airbag.

    • Always wash your hands with water after completing the operation.

    Tech Tips

    When scrapping a vehicle equipped with an SRS or disposing of the horn button assembly, be sure to deploy the airbag first in accordance with the procedure described below. If any abnormality occurs with the airbag deployment, contact the Service Department of the distributor.

  2. DISPOSE OF HORN BUTTON ASSEMBLY (When Installed to Vehicle)

    Note


    • When disposing of the horn button assembly, never use the customer's vehicle to deploy the airbag.

    • Be sure to observe the following procedure when deploying the airbag.

    Tech Tips

    Prepare a battery as the power source to deploy the airbag.


    1. B005OZ3N08

      Check the function of SST.

      SST
      09082-00700

      CAUTION:

      When deploying the airbag, always use the specified SST:

      SRS airbag deployment tool


      1. B005N64C23
        *a Battery

        Connect SST to the battery.

        Connect the red clip of SST to the positive (+) battery terminal and the black clip of SST to the negative (-) battery terminal.

      2. B005ML4N08

        Check the function of SST.

        Press the SST activation switch and check that the LED of the SST activation switch comes on.

        CAUTION:


        • Do not connect the yellow SST connector to the airbag.

        • If the LED comes on when the activation switch is not being pressed, SST is malfunctioning. Replace SST.

      3. Disconnect SST from the battery.

    2. Refer to Precaution.

      Click here

    3. Remove the steering wheel assembly.

      Click here

    4. Remove the lower steering column cover.

      Click here

    5. Install the steering wheel assembly.

      Click here

    6. Disconnect the yellow airbag connector from the spiral cable with sensor sub-assembly.


      1. B005PBNC01
        *a Slider

        Slide the slider to release the lock, and then disconnect the yellow airbag connector from the spiral cable with sensor sub-assembly.

        Note

        When disconnecting any airbag connector, take care not to damage the airbag wire harness.

    7. Install the horn button assembly.

      Click here

    8. Install SST.

      CAUTION:

      Check that there is no looseness in the steering wheel assembly or horn button assembly.

      B005MCO

      1. B005LD2N01

        After connecting the following SST to each other, connect them to the spiral cable with sensor sub-assembly.

        SST
        09082-00700
        09082-00780

        Note

        To avoid damaging the SST connector or wire harness, do not lock the secondary lock of the twin lock.

      2. B005OBXC17
        *a Battery
        *b 10 m (32.8 ft.) or more

        Move SST at least 10 m (32.8 ft.) away from the front side window of the vehicle.

      3. Maintaining sufficient clearance for the SST wire harness in the front side window, close all doors and windows of the vehicle.

        Note

        Take care not to damage the SST wire harness.

      4. Connect the red clip of SST to the positive (+) battery terminal and the black clip of SST to the negative (-) battery terminal.

    9. Deploy the airbag.


      1. Check that no one is inside the vehicle or within a 10 m (32.8 ft.) radius of the vehicle.

      2. Press the SST activation switch to deploy the airbag.

        CAUTION:


        • B005PKK

          Before deployment, make sure that no one is inside or near the vehicle.

        • B005L2F

          The horn button assembly becomes extremely hot when the airbag is deployed, so do not touch it for at least 30 minutes after deployment.

        • B005ME8

          Use gloves and safety glasses when handling a horn button assembly with a deployed airbag.

        • B005PRY

          Do not apply water, etc. to a horn button assembly with a deployed airbag.

        • Always wash your hands with water after completing the operation.

        Tech Tips

        The airbag is deployed as the LED of the SST activation switch comes on.

  3. DISPOSE OF HORN BUTTON ASSEMBLY (When not Installed to Vehicle)

    Note

    Be sure to observe the following procedure when deploying the airbag.

    Tech Tips

    Prepare a battery as the power source to deploy the airbag.


    1. B005OZ3N08

      Check the function of SST.

      SST
      09082-00700

      CAUTION:

      When deploying the airbag, always use the specified SST:

      SRS airbag deployment tool


      1. B005N64C23
        *a Battery

        Connect SST to the battery.

        Connect the red clip of SST to the positive (+) battery terminal and the black clip of SST to the negative (-) battery terminal.

      2. B005ML4N08

        Check the function of SST.

        Press the SST activation switch and check that the LED of the SST activation switch comes on.

        CAUTION:


        • Do not connect the yellow SST connector to the airbag.

        • If the LED comes on when the activation switch is not being pressed, SST is malfunctioning. Replace SST.

      3. Disconnect SST from the battery.

    2. Remove the horn button assembly.

      Click here

      CAUTION:


      • B005NWT

        Before removing the horn button assembly, wait at least 90 seconds after turning the engine switch off and disconnecting the cable from the negative (-) battery terminal.

      • B005PBWC01
        B005M97 Deployment Side

        When storing the horn button assembly, keep the airbag deployment side facing upward.

    3. B005NGZC16
      *a Wire Diameter
      *b Stripped Wire Cross Sectional Area

      Using braided wire, tie down the horn button assembly to an unneeded tire and wheel set.

      Wire
      Stripped Wire Cross Sectional Area
      1.25 mm2 (0.0019 in.2) or more

      CAUTION:

      If the wire is too thin or an alternative object is used to tie down the horn button assembly, it may snap when the airbag is deployed. Always use a wire for vehicle use with a cross sectional area of at least 1.25 mm2(0.0019 in.2).

      Tech Tips

      To calculate the cross sectional area of the stripped wire:

      Cross sectional area = 3.14 x (Diameter)2/ 4


      1. B005PDJN01

        After connecting the following SST to each other, connect them to the horn button assembly.

        SST
        09082-00802   ( 09082-10801, 09082-30801 )
      2. B005PKAC01
        *a 2 times or more

        Wind 3 wires around the pins at least 2 times each.

        CAUTION:


        • Tightly wind the wires around the pins without any slack.

        • B005M1V

          Make sure that the wires are tight. If there is slack in the wires, the horn button assembly may break loose when the airbag is deployed.

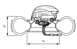
      3. B005P3OC01
        *a Inner Diameter
        *b Width

        Face the airbag deployment side of the horn button assembly upward on top of an unneeded tire and wheel set. Separately tie each side of the horn button assembly to the wheel through the hub nut holes. Position the SST connector so that it hangs downward through the hub hole of the wheel.

        Minimum Tire Size
        Width
        185 mm (7.28 in.)
        Inner Diameter
        360 mm (1.18 ft.)

        CAUTION:


        • Make sure that the wires are tight. If there is slack in the wires, the horn button assembly may break loose when the airbag is deployed.

        • B005Q6AC02
          B005M97 Deployment Side

          Always tie down the horn button assembly with the airbag deployment side facing upward.

        Note

        The wheel and tire may be damaged by the airbag deployment, so use an unneeded tire and wheel set.

    4. B005LRXN01

      Install SST.

      CAUTION:

      Place the tire and wheel set on level ground.


      1. Connect the SST connector.

        SST
        09082-00700

        Note

        To avoid damaging the SST connector or wire harness, do not lock the secondary lock of the twin lock. Also, secure some slack for the SST wire harness inside the wheel.

      2. B005N09C01
        *a 10 m (32.8 ft.) or more

        Move SST at least 10 m (32.8 ft.) away from the airbag tied down to the tire and wheel set.

    5. Cover the horn button assembly (using a cardboard box).


      1. B005N5JC01
        *a Weight

        Cover the horn button assembly with a cardboard box.

      2. Place weights on the cardboard box in 4 places totaling at least 190 N (19 kg, 42.7 lb).

        Minimum Cardboard Box Size
        X
        460 mm (1.51 ft.)
        Y
        650 mm (2.13 ft.)

        Note


        • When dimension Y of the cardboard box exceeds the diameter of the wheel and tire to which the horn button assembly is tied, X should be the following size.

          X = 460 mm (1.51 ft.) + width of tire

        • If a cardboard box smaller than the specified size is used, it may be broken by the shock of the airbag deployment.

    6. Cover the horn button assembly (using tires).


      1. B005NCSC01
        *a Tires (3 or more)
        *b Inner Diameter
        *c Width

        Place at least 3 tires without wheels onto the tire and wheel set to which the horn button assembly is tied.

      2. Place a tire and wheel set on top.

        Minimum Tire Size
        Width
        185 mm (7.28 in.)
        Inner Diameter
        360 mm (1.18 ft.)

        CAUTION:

        Do not use tires with wheels except on the top and bottom.

        Note


        • The wheels and tires may be damaged by the airbag deployment, so use unneeded wheels and tires.

        • Do not place the SST connector under the tire because it could be damaged.

      3. B005LZQ

        Tie the tires together with 2 wires.

        CAUTION:

        Make sure that the wires are tight. Looseness in the wires will result in the tires breaking loose when the airbag is deployed.

    7. Deploy the airbag.


      1. B005PS9C01
        *1 Horn Button Assembly
        *a Using a Cardboard Box
        *b Using Tires
        *c Battery
        *d 10 m (32.8 ft.) or more

        Connect the red clip of SST to the positive (+) battery terminal and the black clip of SST to the negative (-) battery terminal.

      2. Check that no one is within a 10 m (32.8 ft.) radius of the wheel to which the horn button assembly is tied.

      3. Press the SST activation switch to deploy the airbag.

        CAUTION:

        Before deployment, make sure that no one is near the airbag.

        B005LKF

        Tech Tips

        The airbag is deployed as the LED of the SST activation switch comes on.

    8. Dispose of the horn button assembly.

      CAUTION:


      • B005MZ6

        The horn button assembly becomes extremely hot when the airbag is deployed, so do not touch it for at least 30 minutes after deployment.

      • B005N3P

        Use gloves and safety glasses when handling a horn button assembly with a deployed airbag.

      • B005NBI

        Do not apply water, etc. to a horn button assembly with a deployed airbag.

      • Always wash your hands with water after completing the operation.


      1. Remove the horn button assembly from the tire and wheel set.

      2. Place the horn button assembly in a plastic bag, tie it tightly and dispose of it according to local regulations.