OUTLINE OF COMBINATION METER ASSEMBLY
for Optitron Meter Type
| *a | Indication Example | *b | Tachometer |
| *c | Speedometer | *d | Engine Coolant Temperature Receiver Gauge |
| *e | Fuel Receiver Gauge | *f | Multi-information Display |
| *g | Display Area A1 | *h | Display Area A2 |
| *i | Display Area A3 | *j | Display Area A4 |
for TFT Meter Type
| *a | Indication Example | *b | Engine Coolant Temperature Receiver Gauge |
| *c | Fuel Receiver Gauge | *d | Multi-information Display |
| *e | Display Area B1 | *f | Display Area B2 |
| *g | Display Area B3 | *h | Display Area B4 |
| *i | Display Area B5 | *j | Display Area B6 |
| *k | Display Area B7 | *l | Display Area B8 |
| *m | Display Area B9 | *n | Display Area B10 |
INPUT AND OUTPUT SIGNALS OF COMBINATION METER ASSEMBLY
Meter or Gauge
| Item | Condition | Input/Output | Communication line | Signal | Component | Display Area |
|---|---|---|---|---|---|---|
| Speedometer |
|
Input | CAN | Vehicle speed (SP1) signal | Brake actuator assembly (Skid control ECU) | B4 |
| - | Input | Direct line | Vehicle speed pulse input signal | |||
| Output | CAN | Vehicle speed signal (meter to other) | Related ECUs | |||
| Speed tolerance A signal | ||||||
| Speed tolerance B signal | ||||||
| Direct line | Vehicle speed pulse output signal | Related ECUs | ||||
| Tachometer |
|
Input | CAN | Engine RPM data signal | ECM | B9 |
| Fuel receiver gauge | Gauge | Input | CAN | Fuel consumption signal | ECM | - |
| Engine RPM data signal | ||||||
| Starter signal | ||||||
| Shift position P signal | ||||||
| Shift position R signal | ||||||
| Shift position N signal | ||||||
| Shift position D signal | ||||||
| Mode indicator signal | ||||||
| Vehicle speed (SP1) signal | Brake actuator assembly (Skid control ECU) | |||||
| Direct line | Fuel level signal | Fuel sender gauge assembly | ||||
| Output | CAN | Fuel gauge state signal | Related ECUs | |||
| Fuel gauge initial signal | ||||||
| Fuel direct data signal | ||||||
| Fuel initial signal | ||||||
| Fuel average signal | ||||||
| Engine coolant temperature receiver gauge | Gauge | Input | CAN | Engine coolant temperature signal | ECM | - |
*1: for Optitron Meter Type
*2: for TFT Meter Type
Warning or Indicator
| Item | Condition | Input/Output | Communication line | Signal | Component |
|---|---|---|---|---|---|
| Master warning light | Comes on/Blinks | Input | CAN/Direct line | Each warning signal | Related ECUs |
| Brake warning light / red (malfunction) | Comes on | Input | CAN | Brake warning light control flag signal | Brake actuator assembly (Skid control ECU) |
| Brake booster vacuum pressure signal | Engine stop and start ECU*13 | ||||
| Brake vacuum pressure sensor error signal | |||||
| Direct line | Brake fluid level warning switch signal | Brake master cylinder reservoir assembly (Brake fluid level warning switch) | |||
| Vacuum warning switch signal | Vacuum warning switch assembly*14 | ||||
| Driver or front passenger seat belt warning light | Comes on/Blinks | Input | CAN | Driver seat belt buckle switch signal | Main body ECU (Multiplex network body ECU) |
| Parking brake switch signal | |||||
| Shift position P signal | ECM | ||||
| Vehicle speed (SP1) signal | Brake actuator assembly (Skid control ECU) | ||||
| Front passenger seat occupant detection status signal*8 | Airbag sensor assembly | ||||
| Front passenger seat belt buckle switch detection status signal | |||||
| Direct line | Front passenger seat occupant detection status signal | Separate type front seat cushion pad (Occupant detection sensor)*9 | |||
| SRS warning light | Comes on | Input | CAN | Airbag warning light control request signal | Airbag sensor assembly |
| Test mode signal | ECM | ||||
| Charge warning light*1 | Comes on | Input | CAN | Charge light indicator signal | ECM |
| EPS warning light | Comes on | Input | CAN | EPS warning light request signal | Power steering ECU assembly |
| Parking brake warning light | Comes on/Blinks | Input | Direct line | Parking brake signal | Brake actuator assembly (Skid control ECU) |
| MIL (Check engine warning light) | Comes on/Blinks | Input | CAN | MIL request signal | ECM |
| PCS warning light*2 | Comes on/Blinks | Input | CAN | PCS indicator display signal | Driving support ECU assembly |
| Slip indicator light | Comes on/Blinks | Input | CAN | Slip indicator light signal | Brake actuator assembly (Skid control ECU) |
| VSC OFF indicator light | Comes on | Input | CAN | VSC OFF light signal | Brake actuator assembly (Skid control ECU) |
| ABS warning light | Comes on/Blinks | Input | CAN | ABS warning light control flag signal | Brake actuator assembly (Skid control ECU) |
| Brake warning light / yellow (minor malfunction) | Comes on | Input | Direct line | EPB warning signal | Brake actuator assembly (Skid control ECU) |
| Tire pressure warning light | Comes on/Blinks | Input | CAN | TPMS warning indicator condition 1 signal | Main body ECU (Multiplex network body ECU) |
| Brake hold warning light | Comes on/Blinks | Input | CAN | Brake hold hold indicator signal | Brake actuator assembly (Skid control ECU) |
| Fuel level warning light | Comes on | Input | Direct line | Fuel level signal | Fuel sender gauge assembly |
| Rear fog indicator light*4 | Comes on | Input | CAN | Rear fog light request signal | Main body ECU (Multiplex network body ECU) |
| AWD lock indicator light*5 | Comes on/Blinks | Input | CAN | AWD lock indicator ON and flashing request signal | 4WD ECU assembly |
| ICS OFF indicator light*17 | Comes on/Blinks | Input | CAN | ICS-OFF light request signal | Clearance warning ECU assembly |
| Adaptive high beam*6 / Automatic high beam*7 indicator light | Comes on | Input | CAN | Smart beam indicator signal | Main body ECU (Multiplex network body ECU)*6 |
| AZB indicator signal | Headlight ECU sub-assembly LH*7 | ||||
| High beam indicator light | Comes on | Input | CAN | High beam headlight request signal | Main body ECU (Multiplex network body ECU) |
| AZB high beam indicator request signal | Headlight ECU sub-assembly LH*7 | ||||
| Tail indicator light | Comes on | Input | CAN | Taillight request signal | Main body ECU (Multiplex network body ECU) |
| Front fog indicator light | Comes on | Input | CAN | Front fog light request signal | Main body ECU (Multiplex network body ECU) |
| Turn indicator light | Blinks | Input | CAN | Flasher request signal | Main body ECU (Multiplex network body ECU) |
| PBD hazard request signal | Multiplex network door ECU*15 | ||||
| Hazard light activation request signal | Telematics transceiver*16 | ||||
| Direct line | LH turn signal switch signal | Headlight dimmer switch assembly | |||
| RH turn signal switch signal | |||||
| Hazard warning switch signal | Radio receiver assembly (Hazard warning signal switch) | ||||
| - | Output | CAN | Turn light state signal | Related ECUs | |
| Hazard switch state signal | |||||
| Direct line | Front and side turn signal light LH output signal | Each turn signal light | |||
| Front and side turn signal light RH output signal | |||||
| Rear turn signal light LH output signal | |||||
| Rear turn signal light RH output signal | |||||
| Hazard warning switch signal | |||||
| Eco driving indicator light | Comes on | Input | CAN | Ecology light indicator signal | ECM |
| Brake hold indicator light | Comes on | Input | CAN | Brake hold standby indicator signal | Brake actuator assembly (Skid control ECU) |
| Clearance sonar indicator light*10 | Comes on | Input | CAN | CLSO main switch indicator turn ON signal | Clearance warning ECU assembly |
| RCTA indicator light*11 | Comes on | Input | CAN | RCTA switch signal | Blind spot monitor sensor LH |
| BSM indicator light*11 | Comes on | Input | CAN | BSD Main Switch | Blind spot monitor sensor LH |
| Rear seat belt warning light*12 | - | Input | CAN | Rear right door courtesy switch signal | Main body ECU (Multiplex network body ECU) |
| Rear left door courtesy switch signal | |||||
| Parked condition signal | |||||
| Vehicle speed (SP1) signal | Brake actuator assembly (Skid control ECU) | ||||
| Direct line | Rear left seat belt buckle switch signal | Rear seat inner belt assembly LH | |||
| Rear center seat belt buckle switch signal | Rear center seat inner belt assembly | ||||
| Rear right seat belt buckle switch signal | Rear seat 3 point type belt assembly RH | ||||
| Comes on | Output | Direct line | Rear right seat belt warning output signal | Radio receiver assembly (Rear seat belt warning light) | |
| Rear center seat belt warning output signal | |||||
| Rear left seat belt warning output signal |
*1: for TFT Meter Type
*2: w/ Pre-crash Safety System
*3: w/ Tire Pressure Warning System
*4: w/ Rear Fog Light
*5: for AWD
*6: w/ Automatic High Beam System
*7: w/ Adaptive High Beam System
*8: w/ Occupant Classification System
*9: w/o Occupant Classification System
*10: w/ LEXUS Parking Assist-sensor System
*11: w/ Blind Spot Monitor System
*12: w/ Rear Seat Belt Warning
*13: w/ Stop and Start System
*14: for 2GR-FKS
*15: w/ Power Back Door System
*16: w/ Manual (SOS) Switch
*17: w/ Intelligent Clearance Sonar System
Multi-information Display
| Item | Condition | Input/Output | Communication line | Signal | Component | Display Area |
|---|---|---|---|---|---|---|
| Opening | - | - | - | - | - | A1, A2, A3, A4, B1, B3, B3, B7 |
| Odometer | Displayed | Input | CAN | Vehicle speed pulse signal integrated value signal | Brake actuator assembly (Skid control ECU) | A1, B6 |
| Vehicle speed (SP1) signal | ||||||
| Direct line | ODO/TRIP change switch signal | Trip switch | ||||
| - | Output | CAN | Odo meter unit signal | Related ECUs | ||
| Odo meter signal | ||||||
| TRIP A / TRIP B | Displayed | Input | CAN | Vehicle speed pulse signal integrated value signal | Brake actuator assembly (Skid control ECU) | A1, B6 |
| Vehicle speed (SP1) signal | ||||||
| Direct line | ODO/TRIP change switch signal | Trip switch | ||||
| - | Output | CAN | TRIP A signal | Telematics transceiver*29 | ||
| TRIP B signal | ||||||
| Engine oil maintenance mileage*1 | Displayed | Input | CAN | Oil maintenance mileage signal | ECM | A1, B6 |
| Oil mileage unit signal | ||||||
| Oil maintenance screen inversion demand signal | ||||||
| - | Output | CAN | Unit change 2 (km/mile) signal | Related ECUs | ||
| Current fuel consumption | Displayed | Input | CAN | Vehicle speed (SP1) signal | Brake actuator assembly (Skid control ECU) | A2, B3 |
| Vehicle speed pulse signal integrated value signal | ||||||
| Fuel consumption signal | ECM | |||||
| Engine RPM data signal | ||||||
| - | Output | CAN | Drive monitor unit signal 0 | Radio receiver assembly | ||
| Drive monitor display signal (Current fuel consumption) | ||||||
| Average fuel consumption (After reset) | Displayed | Input | CAN | Engine RPM data signal | ECM | A2, B3 |
| Fuel consumption signal | ||||||
| Total average fuel consumption reset request signal | Radio receiver assembly | |||||
| Vehicle speed (SP1) signal | Brake actuator assembly (Skid control ECU) | |||||
| Vehicle speed pulse signal integrated value signal | ||||||
| Direct line | Reset signal | Steering pad switch assembly | ||||
| - | Output | CAN | Drive monitor unit signal 6 | Related ECUs | ||
| Drive monitor display signal (Total average fuel consumption) | ||||||
| Average fuel consumption (After start) | Displayed | Input | CAN | Engine RPM data signal | ECM | A2, B3 |
| Fuel consumption signal | ||||||
| Vehicle speed (SP1) signal | Brake actuator assembly (Skid control ECU) | |||||
| Vehicle speed pulse signal integrated value signal | ||||||
| Average fuel consumption (After refuel) | Displayed | Input | CAN | Engine RPM data signal | ECM | A2, B3 |
| Fuel consumption signal | ||||||
| Vehicle speed (SP1) signal | Brake actuator assembly (Skid control ECU) | |||||
| Vehicle speed pulse signal integrated value signal | ||||||
| - | Output | CAN | Drive monitor display signal (Average fuel consumption after refuel) | Related ECUs | ||
| Average speed (After reset) | Displayed | Input | CAN | Engine RPM data signal | ECM | A2, B3 |
| Vehicle speed (SP1) signal | Brake actuator assembly (Skid control ECU) | |||||
| Vehicle speed pulse signal integrated value signal | ||||||
| Direct line | Reset signal | Steering pad switch assembly | ||||
| Average speed (After start) | Displayed | Input | CAN | Engine RPM data signal | ECM | A2, B3 |
| Vehicle speed (SP1) signal | Brake actuator assembly (Skid control ECU) | |||||
| Vehicle speed pulse signal integrated value signal | ||||||
| - | Output | CAN | Drive monitor unit signal 1 | Radio receiver assembly | ||
| Drive monitor display signal (After starting average speed) | ||||||
| Elapsed time (After reset) | Displayed | Input | CAN | Engine RPM data signal | ECM | A2, B3 |
| Direct line | Reset signal | Steering pad switch assembly | ||||
| Elapsed time (After start) | Displayed | Input | CAN | Engine RPM data signal | ECM | A2, B3 |
| - | Output | CAN | Drive monitor display signal (After starting driving time) | Related ECUs | ||
| Distance (Range) | Displayed | Input | CAN | Engine type information 1 signal | ECM | A2, B3 |
| Engine type information 2 signal | ||||||
| Engine type information 3 signal | ||||||
| Engine type information 4 signal | ||||||
| Engine RPM data signal | ||||||
| Drivetrain information signal | ||||||
| Fuel consumption signal | ||||||
| Vehicle speed pulse signal integrated value signal | Brake actuator assembly (Skid control ECU) | |||||
| Direct line | Fuel level signal | Fuel sender gauge assembly | ||||
| - | Output | CAN | Drive monitor unit signal 4 | Related ECUs | ||
| Drive monitor display signal (Drivable distance) | ||||||
| Distance (After start) | Displayed | Input | CAN | Engine RPM data signal | ECM | A2, B3 |
| Vehicle speed (SP1) signal | Brake actuator assembly (Skid control ECU) | |||||
| Vehicle speed pulse signal integrated value signal | ||||||
| Idle stop time (After reset)*2 | Displayed | Input | CAN | Engine RPM data signal | ECM | A2, B3 |
| Eco mode signal | Engine stop and start ECU | |||||
| Stop and start A/C mode signal | ||||||
| Idle stop time (After start)*2 | Displayed | Input | CAN | Engine RPM data signal | ECM | A2, B3 |
| Eco mode signal | Engine stop and start ECU | |||||
| Stop and start A/C mode signal | ||||||
| Idle stop time (Current vehicle stop)*2 | Displayed | Input | CAN | Engine RPM data signal | ECM | A1, A2, B3, B6 |
| Eco mode signal | Engine stop and start ECU | |||||
| Stop and start A/C mode signal | ||||||
| Amount of fuel saved (After reset)*2 | Displayed | Input | CAN | Engine RPM data signal | ECM | A2, B3 |
| Eco mode signal | Engine stop and start ECU | |||||
| Stop and start A/C mode signal | ||||||
| Amount of fuel saved (After start)*2 | Displayed | Input | CAN | Engine RPM data signal | ECM | A2, B3 |
| Eco mode signal | Engine stop and start ECU | |||||
| Stop and start A/C mode signal | ||||||
| Eco driving indicator zone | Displayed | Input | CAN | Eco-zone indicator level signal | ECM | A2, B3 |
| Tire pressure*3 | Displayed | Input | CAN | TPMS FL (ID1) tire pressure information signal | Main body ECU (Multiplex network body ECU) | A2, B3 |
| TPMS FR (ID2) tire pressure information signal | ||||||
| TPMS RL (ID3) tire pressure information signal | ||||||
| TPMS RR (ID4) tire pressure information signal | ||||||
| TPMS SP (ID5) tire pressure information signal | ||||||
| TPMS FL (ID1) tire indicator information 0 signal | ||||||
| TPMS FR (ID2) tire indicator information 0 signal | ||||||
| TPMS RL (ID3) tire indicator information 0 signal | ||||||
| TPMS RR (ID4) tire indicator information 0 signal | ||||||
| TPMS SP (ID5) tire indicator information 0 signal | ||||||
| TPMS indicator number information 0 signal | ||||||
| TPMS unit information 0 signal | ||||||
| TPMS display request bit 0 signal | ||||||
| TPMS variation signal | ||||||
| AWD control*4 | Displayed | Input | CAN | Drivetrain information signal | 4WD ECU assembly | A2, B3 |
| Request data with AWD display signal | ||||||
| FR composition with AWD display signal | ||||||
| FL composition with AWD display signal | ||||||
| FL composition with AWD display signal | ||||||
| RL composition with AWD display signal | ||||||
| Steering signal | Steering sensor | |||||
| Sway warning*5 | Displayed | Input | CAN | SWS rest advisory display signal | Forward recognition camera | A2, B3 |
| Boost pressure meter*6, *7 | Displayed | Input | CAN | Gauge pressure of surge tank signal | ECM | B3 |
| TPMS variation signal | Main body ECU (Multiplex network body ECU) | |||||
| TPMS unit information 0 signal | ||||||
| Engine oil temperature receiver gauge*6, *7 | Displayed | Input | CAN | Engine oil temperature signal | ECM | B3 |
| Engine oil pressure receiver gauge*6, *7 | Displayed | Input | CAN | Engine oil pressure signal | ECM | B3 |
| TPMS variation signal | Main body ECU (Multiplex network body ECU) | |||||
| TPMS unit information 0 signal | ||||||
| G monitor*6 | Displayed | Input | CAN | GL1, GX error signal | Yaw rate sensor assembly | B3 |
| GL2, GY error signal | ||||||
| GL1, GX invalidation/validation signal | ||||||
| GL2, GY invalidation/validation signal | ||||||
| GL1, GX sensor signal | ||||||
| GL2, GY sensor signal | ||||||
| Sensor type identification signal | ||||||
| G sensor zero point un-corrected status signal | Brake actuator assembly (Skid control ECU) | |||||
| GL1 zero point value signal | ||||||
| GL2 zero point value signal | ||||||
| Data continuity (valid/invalid) flag signal | Steering sensor | |||||
| Sensor error signal | ||||||
| Steering signal | ||||||
| Memorized zero point value inside steering angle sensor signal | ||||||
| Zero point memory invalid/valid inside sensor signal | ||||||
| Pressure of master cylinder error flag signal | Brake actuator assembly (Skid control ECU) | |||||
| Pressure of master cylinder invalid flag signal | ||||||
| Pressure of master cylinder signal | ||||||
| Event-data-recorder ENG03 signal | ECM | |||||
| Direct line | Change switch signal | Steering pad switch assembly | ||||
| Units change*6 | Displayed | Input | Direct line | Change switch signal | Steering pad switch assembly | A2, B3 |
| Other (Blank) | Displayed | - | - | - | - | A2, B3 |
| Drive information tab | Displayed | - | - | - | - | A3, B7 |
| Stop and start tab*2 | Displayed | Input | CAN | Eco-run flag signal | ECM | A3, B7 |
| Navigation tab*8 | Displayed | Input | CAN/Local bus/Video signal (Digital) | Navigation signal | Radio receiver assembly | A3, B7 |
| Audio tab | Displayed | Input | CAN/Local bus/Video signal (Digital)*8 | Audio signal | Radio receiver assembly | A3, B7 |
| Driving support tab*9 | Displayed | Input | CAN | LDW existence flag signal | Forward recognition camera | A3, B7 |
| Message tab | Displayed | - | - | - | - | A3, B7 |
| Setting tab | Displayed | - | - | - | - | A3, B7 |
| Shift position | Displayed | Input | CAN | Shift position P signal | ECM | A4, B5 |
| Shift position R signal | ||||||
| Shift position N signal | ||||||
| Shift position D signal | ||||||
| Shift gear signal | ||||||
| Mode indicator signal | ||||||
| Sports mode enable signal | ||||||
| Transmission oil temperature range signal | ||||||
| Gear shift indicator*24 | Displayed | Input | CAN | Shift up signal | ECM | A4, B5 |
| Shift down signal | ||||||
| SPORT indicator*10 | Displayed | Input | CAN | Integrated sport mode indicator signal | ECM | A4, B10 |
| Drive mode select signal | ||||||
| SPORT S indicator*11 | Displayed | Input | CAN | Integrated sport mode signal | ECM | A4, B10 |
| Drive mode select signal | ||||||
| SPORT S+ indicator*11 | Displayed | Input | CAN | AVS (TEMS) light signal | Absorber control ECU | A4, B10 |
| Integrated sport mode signal | ECM | |||||
| Drive mode select signal | ||||||
| ECO indicator | Displayed | Input | CAN | Eco mode indicator signal | ECM | A4, B10 |
| Drive mode select signal | ||||||
| Traffic sign*12 | Displayed | Input | CAN | Traffic sign 1, 2, 3, 4 signal | Forward recognition camera | A4, B10 |
| Traffic sign graying 1, 2, 3, 4 signal | ||||||
| Traffic sign highlight 1, 2, 3, 4 signal | ||||||
| Supplemental sign 1, 2, 3, 4 signal | ||||||
| Speed value 1, 2 signal | ||||||
| Duplicated sign request signal | ||||||
| Sign number of permanent area signal | ||||||
| Sign number of ADAS tab signal | ||||||
| TSR display speed unit signal | ||||||
| - | Output | CAN | Unit change 2 (km/mile) signal | Related ECUs | ||
| Cruise control indicator light*13 | Displayed | Input | CAN | ACC display ID2 signal | ECM | A4, B2 |
| Cruise control indicator light (Constant speed control mode)*14 | Displayed | Input | CAN | ACC display ID2 signal | ECM | A4, B2 |
| Cruise control indicator light (Vehicle-to-vehicle distance control mode)*14 | Displayed | Input | CAN | ACC display ID2 signal | ECM | A4, B2 |
| Cruise SET indicator light | Displayed | Input | CAN | ACC display ID2 signal | ECM | A4, B2 |
| LKA/LDA indicator light*5 | Displayed | Input | CAN | Indicator display signal | Forward recognition camera | A4, B2 |
| Stop and start indicator light*2 | Displayed | Input | CAN | ECO light lighting request signal | Engine stop and start ECU | A4, B2 |
| Stop and start off indicator light*2 | Displayed | Input | CAN | Eco-run cancel light lighting request signal | Engine stop and start ECU | A4, B2 |
| Outside temperature | Displayed | Input | CAN | Ambient temperature display signal | Air conditioning amplifier assembly | A3, B1 |
| Ambient temperature display whole number/decimal (0/0.5°C) signal | ||||||
| Icy warning light | Displayed | Input | CAN | Engine RPM data signal | ECM | A3, B1 |
| Vehicle speed (SP1) signal | Brake actuator assembly (Skid control ECU) | |||||
| Ambient temperature display signal | Air conditioning amplifier assembly | |||||
| Ambient temperature display whole number/decimal (0/0.5°C) signal | ||||||
| Clock | Displayed | Input | Direct line | Steering pad switch signal | Steering pad switch assembly | A3, B2 |
| Phone (Received call) | Displayed | Input | CAN/Local bus/Video signal (Digital)*8 | Phone (Received call) signal | Radio receiver assembly | A2, B3 |
| Turn-by-turn Navigation*8 | Displayed | Input | CAN/Local bus/Video signal (Digital) | Turn-by-turn signal | Radio receiver assembly | A2, B3 |
| Stop and start advice*2 | Displayed | Input | CAN | Eco mode signal | Engine stop and start ECU | A1, A2, B2, B3 |
| Eco-run cancel light lighting request signal | ||||||
| Stop and start A/C mode signal | ||||||
| Stop and start information (inhibition reason) signal | ||||||
| S&S information (advice) signal | ||||||
| Adjustable speed warning*15 | Displayed | Input | CAN | Vehicle speed (SP1) signal | Brake actuator assembly (Skid control ECU) | A1, B6 |
| Direct line | Steering pad switch signal | Steering pad switch assembly | ||||
| Cruise control set speed | Displayed | Input | CAN | Control vehicle speed signal | ECM | A2, B3 |
| Control vehicle speed unit signal | ||||||
| REV indicator*6 | Displayed | Input | CAN | Engine RPM data signal | ECM | B9 |
| REV peak*6 | Displayed | Input | CAN | Engine RPM data signal | ECM | B9 |
| ACCESSORY | Displayed | Input | CAN | Display request of vehicle mode signal | Certification ECU (Smart key ECU assembly) | A1, B8 |
| IGNITION ON | Displayed | Input | CAN | Display request of vehicle mode signal | Certification ECU (Smart key ECU assembly) | A1, B8 |
| Suggestion function | Displayed | Input | CAN | Proposal service request 1 signal | Main body ECU (Multiplex network body ECU) | A2, B3 |
| Proposal service request 2 signal | ||||||
| Proposal service request 3 signal | ||||||
| Back door lock information signal | ||||||
| Power window inoperative advice signal | ||||||
| Direct line | Steering pad switch signal | Steering pad switch assembly | ||||
| - | Output | CAN | Proposal service response 1 signal | Main body ECU (Multiplex network body ECU) | ||
| Proposal service response 2 signal | ||||||
| Proposal service response 3 signal | ||||||
| PBD ON/OFF SW operation signal | ||||||
| AWD TEST MODE*4 | Displayed | Input | CAN | AWD warning ON and flashing request signal | 4WD ECU assembly | A2, B3 |
| CDY-2 | Displayed | Input | CAN | CDY mode signal | ECM | A2, B3 |
| CDY-4 | Displayed | Input | CAN | CDY mode signal | ECM | A2, B3 |
| ADJUSTING LDA CAMERA*5 | Displayed | Input | CAN | Camera adjustment mode text display signal | Forward recognition camera | A2, B3 |
| ADJUSTING FRONT RADAR BEAM*14 | Displayed | Input | CAN | Inspection mode for ACC signal | Driving support ECU assembly | A2, B3 |
| FRD adjustment signal | ||||||
| ERROR ADJUSTING FRONT RADAR BEAM*9 | Displayed | Input | CAN | FRD adjustment signal | Driving support ECU assembly | A2, B3 |
| ADJUSTING FRONT RADAR BEAM VERTICAL*9 | Displayed | Input | CAN | FRD adjustment signal | Driving support ECU assembly | A2, B3 |
| ADJUSTING FRONT RADAR BEAM HORIZONTAL*9 | Displayed | Input | CAN | FRD adjustment signal | Driving support ECU assembly | A2, B3 |
| CHECKING PRE-CRASH BRAKE*9 | Displayed | Input | CAN | Inspection mode signal | Driving support ECU assembly | A2, B3 |
| CHECKING CRUISE CONTROL BRAKE*14 | Displayed | Input | CAN | Inspection mode for ACC signal | Driving support ECU assembly | A2, B3 |
| WRITE ZERO-POINT OF STEERING ANGLE*31 | Displayed | Input | CAN | ICS Multi Information signal | Clearance warning ECU assembly | A2, B3 |
| END OF ADJUSTMENT*31 | Displayed | Input | CAN | ICS Multi Information signal | Clearance warning ECU assembly | A2, B3 |
| MEMORY ERROR*31 | Displayed | Input | CAN | ICS Multi Information signal | Clearance warning ECU assembly | A2, B3 |
| Headlight System Uninitialized Visit Your Dealer | Displayed | Input | CAN | LED headlight indicator signal | Headlight ECU sub-assembly LH | A2, B3 |
| BRAKE!*9 | Displayed | Input | CAN | PCS warning message signal | Driving support ECU assembly | A2, B3 |
| Push and Hold Engine Switch for Emergency Stop | Displayed | Input | CAN | Smart system warning 2 signal | Certification ECU (Smart key ECU assembly) | A2, B3 |
| Shift to N and Press Engine Switch to Restart | Displayed | Input | CAN | Smart system warning 2 signal | Certification ECU (Smart key ECU assembly) | A2, B3 |
| Engine Stopped Shift to P | Displayed | Input | CAN | Engine RPM data signal | ECM | A2, B3 |
| Shift position P signal | ||||||
| Shift position N signal | ||||||
| Vehicle speed (SP1) signal | Brake actuator assembly (Skid control ECU) | |||||
| Eco mode signal | Engine stop and start ECU*2 | |||||
| Engine Stopped Stop in a Safe Place | Displayed | Input | CAN | Engine RPM data signal | ECM | A2, B3 |
| Shift position P signal | ||||||
| Shift position N signal | ||||||
| Vehicle speed (SP1) signal | Brake actuator assembly (Skid control ECU) | |||||
| Eco mode signal | Engine stop and start ECU*2 | |||||
| Dynamic radar cruise control*14 or LKA/LDA*5 warning reminder indicator | Displayed | Input | CAN | White line symbol left side signal | Forward recognition camera | A2, B3 |
| White line symbol right side signal | ||||||
| ACC display ID2 signal | ECM | |||||
| Braking Power Low Stop in a Safe Place See Owner's Manual | Displayed | Input | CAN | Brake warning light control flag signal | Brake actuator assembly (Skid control ECU) | A2, B3 |
| Brake booster vacuum pressure signal | Engine stop and start ECU*2 | |||||
| Brake vacuum pressure sensor error signal | ||||||
| Direct line | Brake fluid level warning switch signal | Brake master cylinder reservoir assembly (Brake fluid level warning switch) | ||||
| Vacuum warning switch signal | Vacuum warning switch assembly*23 | |||||
| Switch to Brake*31 | Displayed | Input | CAN | ICS Multi Information signal | Clearance warning ECU assembly | A2, B3 |
| BRAKE!*31 | Displayed | Input | CAN | ICS Multi Information signal | Clearance warning ECU assembly | A2, B3 |
| Object Detected Acceleration Reduced*31 | Displayed | Input | CAN | ICS Multi Information signal | Clearance warning ECU assembly | A2, B3 |
| Accelerator Stuck Depress Brake to Stop | Displayed | Input | CAN | BOS multi-information request signal | ECM | A2, B3 |
| Shift to P Before Exiting Vehicle | Displayed | Input | CAN | Smart system warning 2 signal | Certification ECU (Smart key ECU assembly) | A2, B3 |
| Each door open (vehicle being driven) (image display) | Displayed | Input | CAN | Driver door courtesy switch signal | Main body ECU (Multiplex network body ECU) | A2, B3 |
| Front passenger door courtesy switch signal | ||||||
| Rear right door courtesy switch signal | ||||||
| Rear left door courtesy switch signal | ||||||
| Back door courtesy switch signal | ||||||
| Hood courtesy switch signal | ||||||
| Steering wheel signal | ||||||
| Vehicle speed (SP1) signal | Brake actuator assembly (Skid control ECU) | |||||
| Each door open (vehicle stopped, engine switch on (IG)) (image display) | Displayed | Input | CAN | Driver door open display signal | Certification ECU (Smart key ECU assembly) | A2, B3 |
| Front passenger door open display signal | ||||||
| Rear right open display signal | ||||||
| Rear left open display signal | ||||||
| Driver door courtesy switch signal | Main body ECU (Multiplex network body ECU) | |||||
| Front passenger door courtesy switch signal | ||||||
| Rear right door courtesy switch signal | ||||||
| Rear left door courtesy switch signal | ||||||
| Back door courtesy switch signal | ||||||
| Hood courtesy switch signal | ||||||
| Steering wheel signal | ||||||
| Clearance sonar detection (image display)*16 | Displayed | Input | CAN | Combination meter display request signal | Clearance warning ECU assembly | A2, B3 |
| Sensor DIAG request signal | ||||||
| Front left area information signal | ||||||
| Front right area information signal | ||||||
| Front center area information signal | ||||||
| Rear left area information signal | ||||||
| Rear right area information signal | ||||||
| Rear center area information signal | ||||||
| Parking Assist Malfunction*16 | Displayed | Input | CAN | Sensor DIAG request signal | Clearance warning ECU assembly | A2, B3 |
| Clean Parking Assist Sensor*16 | Displayed | Input | CAN | Sensor DIAG request signal | Clearance warning ECU assembly | A2, B3 |
| Power Turned Off to Save Battery | Displayed | Input | CAN | Smart system warning 2 signal | Certification ECU (Smart key ECU assembly) | A2, B3 |
| Shift to P Before Exiting Vehicle | Displayed | Input | CAN | Smart system warning 2 signal | Certification ECU (Smart key ECU assembly) | A2, B3 |
| Power Steering Malfunction Steering Power Low Visit Your Dealer | Displayed | Input | CAN | Multi-information request signal | Power steering ECU assembly | A2, B3 |
| Steering Power Low Visit Your Dealer | Displayed | Input | CAN | Multi-information request signal | Power steering ECU assembly | A2, B3 |
| Power Steering Malfunction Visit Your Dealer | Displayed | Input | CAN | Multi-information request signal | Power steering ECU assembly | A2, B3 |
| Release Parking Brake | Displayed | Input | Direct line | EPB warning 2 signal | Brake actuator assembly (Skid control ECU) | A2, B3 |
| Vehicle May Roll Shift to P | Displayed | Input | Direct line | EPB warning 2 signal | Brake actuator assembly (Skid control ECU) | A2, B3 |
| Wiper System Malfunction Visit Your Dealer | Displayed | Input | CAN | Wiper fault signal | Main body ECU (Multiplex network body ECU) | A2, B3 |
| EPB Activation Stopped Incompletely | Displayed | Input | Direct line | EPB warning 2 signal | Brake actuator assembly (Skid control ECU) | A2, B3 |
| Key Not Detected Check Key Location | Displayed | Input | CAN | Smart system warning 1 signal | Certification ECU (Smart key ECU assembly) | A2, B3 |
| Release Parking Brake while Depressing Brake | Displayed | Input | Direct line | EPB warning 2 signal | Brake actuator assembly (Skid control ECU) | A2, B3 |
| Release Accelerator | Displayed | Input | CAN | GOS multi-information request signal | ECM | A2, B3 |
| Speed Limit Exceeded*30 | Displayed | Input | CAN | Vehicle speed (SP1) signal | Brake actuator assembly (Skid control ECU) | A2, B3 |
| Lane Departure Alert Driver Attention Required*17 | Displayed | Input | CAN | Request for driver action display signal | Forward recognition camera | A2, B3 |
| Lane Keeping Assist Driver Attention Required*18 | Displayed | Input | CAN | Request for driver action display signal | Forward recognition camera | A2, B3 |
| LDA Hold Steering Wheel*17 | Displayed | Input | CAN | Hands free caution text display signal | Forward recognition camera | A2, B3 |
| LKA Hold Steering Wheel*18 | Displayed | Input | CAN | Hands free caution text display signal | Forward recognition camera | A2, B3 |
| LDA Steering Assist Unavailable Hold Steering Wheel*17 | Displayed | Input | CAN | Hands free caution text display signal | Forward recognition camera | A2, B3 |
| LKA Steering Assist Unavailable Hold Steering Wheel*18 | Displayed | Input | CAN | Hands free caution text display signal | Forward recognition camera | A2, B3 |
| LDA Hold Steering Wheel*17 | Displayed | Input | CAN | Hands free caution text display signal | Forward recognition camera | A2, B3 |
| LKA Hold Steering Wheel*18 | Displayed | Input | CAN | Hands free caution text display signal | Forward recognition camera | A2, B3 |
| Parking Brake Overheated Parking Brake Unavailable | Displayed | Input | Direct line | EPB warning 2 signal | Brake actuator assembly (Skid control ECU) | A2, B3 |
| Check Engine Visit Your Dealer | Displayed | Input | Direct line | MIL request signal | ECM | A2, B3 |
| Engine display ID1 signal | ||||||
| Check Engine Reduced Engine Power Visit Your Dealer | Displayed | Input | Direct line | MIL request signal | ECM | A2, B3 |
| Engine display ID1 signal | ||||||
| Reduced Engine Power Visit Your Dealer | Displayed | Input | Direct line | MIL request signal | ECM | A2, B3 |
| Engine display ID1 signal | ||||||
| SRS Airbag System Malfunction Visit Your Dealer | Displayed | Input | CAN | Airbag warning light control request signal | Airbag sensor assembly | A2, B3 |
| Antilock Brake System Malfunction Visit Your Dealer | Displayed | Input | CAN | ABS warning light control flag signal | Brake actuator assembly (Skid control ECU) | A2, B3 |
| Engine Coolant Temp High Stop in a Safe Place See Owner's Manual | Displayed | Input | CAN | Engine coolant temperature signal | ECM | A2, B3 |
| Charging System Malfunction See Owner's Manual | Displayed | Input | CAN | Charge light indicator signal | ECM | A2, B3 |
| Radar Cruise Control Unavailable Clean Sensor*14 | Displayed | Input | CAN | ACC display ID2 signal | ECM | A2, B3 |
| Radar Cruise Control Unavailable*14 | Displayed | Input | CAN | ACC display ID2 signal | ECM | A2, B3 |
| Radar Cruise Control Unavailable Depress Brake to Resume Driving*14 | Displayed | Input | CAN | ACC display ID2 signal | ECM | A2, B3 |
| Smart Entry & Start System Malfunction See Owner's Manual | Displayed | Input | CAN | Smart system warning 2 signal | Certification ECU (Smart key ECU assembly) | A2, B3 |
| Blind Spot Monitor Unavailable*19 | Displayed | Input | CAN | BSD module status signal | Blind spot monitor sensor LH | A2, B3 |
| Cruise Control Malfunction Visit Your Dealer | Displayed | Input | CAN | ACC display ID2 signal | ECM | A2, B3 |
| Cruise Control Fault Press Brake to Deactivate Visit Your Dealer*14 | Displayed | Input | CAN | ACC display ID2 signal | ECM | A2, B3 |
| Lane Departure Alert Malfunction Visit Your Dealer*17 | Displayed | Input | CAN | Fault condition text display signal | Forward recognition camera | A2, B3 |
| Lane Keeping Assist Malfunction Visit Your Dealer*18 | Displayed | Input | CAN | Fault condition text display signal | Forward recognition camera | A2, B3 |
| Forward Camera System Unavailable | Displayed | Input | CAN | PCS temperature message (Camera) signal | Driving support ECU assembly | A2, B3 |
| Lane Departure Alert Unavailable*17 | Displayed | Input | CAN | Steering assist unusable text display signal | Forward recognition camera | A2, B3 |
| Lane Keeping Assist Unavailable*18 | Displayed | Input | CAN | Steering assist unusable text display signal | Forward recognition camera | A2, B3 |
| Lane Departure Alert Turned On Steering Assist Active*17 | Displayed | Input | CAN | LKA mode text display signal | Forward recognition camera | A2, B3 |
| Lane Keeping Assist Turned On Steering Assist Active*18 | Displayed | Input | CAN | LKA mode text display signal | Forward recognition camera | A2, B3 |
| Lane Departure Alert Turned On Steering Assist Inactive*17 | Displayed | Input | CAN | LKA mode text display signal | Forward recognition camera | A2, B3 |
| Lane Keeping Assist Turned On Steering Assist Inactive*18 | Displayed | Input | CAN | LKA mode text display signal | Forward recognition camera | A2, B3 |
| Forward Camera System Unavailable Clean Windshield*9 | Displayed | Input | CAN | PCS dust message (Camera) signal | Driving support ECU assembly | A2, B3 |
| Prolongs Stop & Start and Reduces AC Output*2 | Displayed | Input | CAN | Stop and start A/C mode signal | Engine stop and start ECU | A2, B3 |
| Balances Stop & Start and AC Output*2 | Displayed | Input | CAN | Stop and start A/C mode signal | Engine stop and start ECU | A2, B3 |
| Pre-Crash Safety Malfunction Visit Your Dealer*9 | Displayed | Input | CAN | PCS fault condition text display signal | Driving support ECU assembly | A2, B3 |
| Blind Spot Monitor System Malfunction Visit Your Dealer*19 | Displayed | Input | CAN | BSD module status signal | Blind spot monitor sensor LH | A2, B3 |
| Oil Pressure Low Stop in a Safe Place See Owner's Manual | Displayed | Input | CAN | Engine RPM data signal | ECM | A2, B3 |
| Demand of oil pressure light signal | ECM*7 | |||||
| Direct line | Engine oil pressure signal | Engine oil pressure switch assembly*23 | ||||
| Transmission Fluid Temp High See Owner's Manual | Displayed | Input | CAN | Engine RPM data signal | ECM | A2, B3 |
| AT oil temperature warning signal | ||||||
| AT oil temperature warning mode signal | ||||||
| AWD System Malfunction 2WD Mode Engaged Visit Your Dealer*4 | Displayed | Input | CAN | AWD warning ON and flashing request signal | 4WD ECU assembly | A2, B3 |
| Parking Brake Unavailable | Displayed | Input | Direct line | EPB warning 2 signal | Brake actuator assembly (Skid control ECU) | A2, B3 |
| Electronic Parking Brake Malfunction Visit Your Dealer | Displayed | Input | Direct line | EPB warning 2 signal | Brake actuator assembly (Skid control ECU) | A2, B3 |
| Radar Cruise Active Please Pay Attention to Other Vehicles*14 | Displayed | Input | CAN | ACC display ID2 signal | ECM | A2, B3 |
| Lane Departure Alert Unavailable Below Approx 50km/h*17 | Displayed | Input | CAN | Speed condition failure text display signal | Forward recognition camera | A2, B3 |
| Lane Keeping Assist Unavailable Below Approx 50km/h*18 | Displayed | Input | CAN | Speed condition failure text display signal | Forward recognition camera | A2, B3 |
| Lane Departure Alert Unavailable Below Approx 32MPH*17 | Displayed | Input | CAN | Speed condition failure text display signal | Forward recognition camera | A2, B3 |
| Lane Keeping Assist Unavailable Below Approx 32MPH*18 | Displayed | Input | CAN | Speed condition failure text display signal | Forward recognition camera | A2, B3 |
| Lane Departure Alert Unavailable at Current Speed*17 | Displayed | Input | CAN | Speed condition failure text display signal | Forward recognition camera | A2, B3 |
| Lane Keeping Assist Unavailable at Current Speed*18 | Displayed | Input | CAN | Speed condition failure text display signal | Forward recognition camera | A2, B3 |
| Brake Hold Fault Depress Brake to Deactivate Visit Your Dealer | Displayed | Input | CAN | Brake hold information control flag signal | Brake actuator assembly (Skid control ECU) | A2, B3 |
| Brake Hold Warning Depress Brake on Slope | Displayed | Input | CAN | Brake hold information control flag signal | Brake actuator assembly (Skid control ECU) | A2, B3 |
| Dynamic radar cruise control*14 or LKA/LDA*5 indicator | Displayed | Input | CAN | White line symbol left side signal | Forward recognition camera | A2, B3 |
| White line symbol right side signal | ||||||
| Steering wheel symbol signal | ||||||
| ACC display ID2 signal | ECM | |||||
| Stop & Start System Malfunction Visit Your Dealer*2 | Displayed | Input | CAN | Stop and start information (system malfunction) signal | Engine stop and start ECU | A2, B3 |
| Engine Stopped Steering Power Low | Displayed | Input | CAN | Multi-information request signal | Power steering ECU assembly | A2, B3 |
| Turn Off Vehicle | Displayed | Input | CAN | Smart system warning 2 signal | Certification ECU (Smart key ECU assembly) | A2, B3 |
| Would You Like to Take a Rest?*5 | Displayed | Input | CAN | SWS rest advisory display signal | Forward recognition camera | A2, B3 |
| Please Take a Rest*5 | Displayed | Input | CAN | SWS rest advisory display signal | Forward recognition camera | A2, B3 |
| Key Left inside Vehicle | Displayed | Input | CAN | Smart system warning 3 signal | Certification ECU (Smart key ECU assembly) | A2, B3 |
| Turn Lights Off*20 | Displayed | Input | CAN | Driver door courtesy switch signal | Main body ECU (Multiplex network body ECU) | A2, B3 |
| Lighting system state signal | ||||||
| Moon Roof Open*21 | Displayed | Input | CAN | Slide roof open warning request signal | Main body ECU (Multiplex network body ECU) | A2, B3 |
| Window Open | Displayed | Input | CAN | Power window open warning request signal | Main body ECU (Multiplex network body ECU) | A2, B3 |
| Window / Moon Roof Open*21 | Displayed | Input | CAN | Slide roof open warning request signal | Main body ECU (Multiplex network body ECU) | A2, B3 |
| Power window open warning request signal | ||||||
| Depress Brake and Then Touch Key to Engine Switch | Displayed | Input | CAN | Smart system warning 1 signal | Certification ECU (Smart key ECU assembly) | A2, B3 |
| Depress Brake and Then Start Engine | Displayed | Input | CAN | Smart system warning 3 signal | Certification ECU (Smart key ECU assembly) | A2, B3 |
| Steering Wheel Lock Press Engine Switch while Turning Wheel | Displayed | Input | CAN | Smart system warning 1 signal | Certification ECU (Smart key ECU assembly) | A2, B3 |
| Brake Hold Malfunction Visit Your Dealer | Displayed | Input | CAN | Brake hold information control flag signal | Brake actuator assembly (Skid control ECU) | A2, B3 |
| Brake Hold Less Effective during Icy Conditions | Displayed | Input | CAN | Brake hold information control flag signal | Brake actuator assembly (Skid control ECU) | A2, B3 |
| Brake Hold Active Depress Brake and Switch to Deactivate | Displayed | Input | CAN | Brake hold information control flag signal | Brake actuator assembly (Skid control ECU) | A2, B3 |
| Brake Hold Unavailable Driver Door Open | Displayed | Input | CAN | Brake hold information control flag signal | Brake actuator assembly (Skid control ECU) | A2, B3 |
| Brake Hold Unavailable Driver Seat Belt Unbuckled | Displayed | Input | CAN | Brake hold information control flag signal | Brake actuator assembly (Skid control ECU) | A2, B3 |
| Brake Hold Unavailable Hood or Trunk Open | Displayed | Input | CAN | Brake hold information control flag signal | Brake actuator assembly (Skid control ECU) | A2, B3 |
| Depress Brake to Maintain Brake Hold | Displayed | Input | CAN | Brake hold information control flag signal | Brake actuator assembly (Skid control ECU) | A2, B3 |
| Close Driver Door to Maintain Brake Hold | Displayed | Input | CAN | Brake hold information control flag signal | Brake actuator assembly (Skid control ECU) | A2, B3 |
| Fasten Driver Seat Belt to Maintain Brake Hold | Displayed | Input | CAN | Brake hold information control flag signal | Brake actuator assembly (Skid control ECU) | A2, B3 |
| Parking Brake Activated Release before Driving | Displayed | Input | Direct line | EPB warning 2 signal | Brake actuator assembly (Skid control ECU) | A2, B3 |
| AWD System Overheated 2WD Mode Engaged*4 | Displayed | Input | CAN | AWD warning ON and flashing request signal | 4WD ECU assembly | A2, B3 |
| AWD System Overheated Switching to 2WD Mode*4 | Displayed | Input | CAN | AWD warning ON and flashing request signal | 4WD ECU assembly | A2, B3 |
| Drive-Start Control Malfunction Visit Your Dealer | Displayed | Input | CAN | GOS multi-information request signal | ECM | A2, B3 |
| ICS Malfunction Visit Your Dealer*31 | Displayed | Input | CAN | ICS Multi Information signal | Clearance warning ECU assembly | A2, B3 |
| Brake Override Malfunction Visit Your Dealer | Displayed | Input | CAN | BOS multi-information request signal | ECM | A2, B3 |
| Key Battery Low | Displayed | Input | CAN | Smart system warning 1 signal | Certification ECU (Smart key ECU assembly) | A2, B3 |
| Power Back Door Sensor Performance Is Reduced Clean Rear Emblem*22 | Displayed | Input | CAN | Emblem sensor information signal | Multiplex network door ECU | A2, B3 |
| Engine Oil Level Low Add or Replace*23 | Displayed | Input | CAN | Engine RPM data signal | ECM | A2, B3 |
| Engine coolant temperature signal | ||||||
| Direct line | Engine oil level signal | Engine oil level sensor | ||||
| Headlight System Malfunction Visit Your Dealer | Displayed | Input | CAN | AZB indicator signal*27 | Headlight ECU sub-assembly LH | A2, B3 |
| Headlight leveling indicator signal | ||||||
| LED headlight indicator signal | ||||||
| Smart beam indicator signal*26 | Main body ECU (Multiplex network body ECU) | |||||
| Check RSA System*12 | Displayed | Input | CAN | TSR warning message signal | Forward recognition camera | A2, B3 |
| Accelerator and Brake Pedals Depressed Simultaneously | Displayed | Input | CAN | BOS multi-information request signal | ECM | A2, B3 |
| Tire pressure indicator (image display)*3 | Displayed | Input | CAN | TPMS display request bit 0 signal | Main body ECU (Multiplex network body ECU) | A2, B3 |
| Windshield Washer Fluid Low | Displayed | Input | Direct line | Washer fluid level signal | Level warning switch assembly | A2, B3 |
| Fuel Low | Displayed | Input | CAN | Fuel level signal | Fuel sender gauge assembly | A2, B3 |
| Roads May Be Icy Drive with Care | Displayed | Input | CAN | Engine RPM data signal | ECM | A2, B3 |
| Vehicle speed (SP1) signal | Brake actuator assembly (Skid control ECU) | |||||
| Ambient temperature display signal | Air conditioning amplifier assembly | |||||
| Ambient temperature display whole number/decimal (0/0.5°C) signal | ||||||
| Traction Control Turned Off | Displayed | Input | CAN | Traction control off light signal | Brake actuator assembly (Skid control ECU) | A2, B3 |
| Oil Maintenance Required Soon*1 | Displayed | Input | CAN | Oil change indicator 2 signal | ECM | A2, B3 |
| Injector Maintenance Required Soon*25 | Displayed | Input | CAN | Injector change indicator signal | ECM | A2, B3 |
| Oil Maintenance Required Visit Your Dealer*1 | Displayed | Input | CAN | Oil change indicator 2 signal | ECM | A2, B3 |
| Injector Maintenance Required Visit Your Dealer*25 | Displayed | Input | CAN | Injector change indicator signal | ECM | A2, B3 |
| To Activate Auto High Beam, Switch Headlights to High Beam*26 | Displayed | Input | CAN | Smart beam advice signal | Main body ECU (Multiplex network body ECU) | A2, B3 |
| To Activate AHS, Switch Headlights to High Beam*27 | Displayed | Input | CAN | All zone beam advice signal | Headlight ECU sub-assembly LH | A2, B3 |
| A New Key has been Registered Contact Your Dealer for Details | Displayed | Input | CAN | Smart system warning 2 signal | Certification ECU (Smart key ECU assembly) | A2, B3 |
| Depress Brake and Then Start Engine | Displayed | Input | CAN | Smart system warning 1 signal | Certification ECU (Smart key ECU assembly) | A2, B3 |
| VSC Turned Off Pre-Crash Brake System Unavailable*9 | Displayed | Input | CAN | PB temporary unusable condition text display signal | Driving support ECU assembly | A2, B3 |
| VSC OFF light signal | Brake actuator assembly (Skid control ECU) | |||||
| Pre-Crash Safety Unavailable*9 | Displayed | Input | CAN | PCS temporary unusable condition text display signal | Driving support ECU assembly | A2, B3 |
| ICS Unavailable*31 | Displayed | Input | CAN | ICS Multi Information signal | Clearance warning ECU assembly | A2, B3 |
| High Power Consumption Partial Limit On AC/Heater Operation | Displayed | Input | CAN | A/C load limitation warning signal | Air conditioning amplifier assembly | A2, B3 |
| Pre-Crash Safety Unavailable*9 | Displayed | Input | CAN | PCS temperature message (Radar) signal | Driving support ECU assembly | A2, B3 |
| Pre-Crash Safety Unavailable Clean Sensor*9 | Displayed | Input | CAN | PCS dust message (Radar) signal | Driving support ECU assembly | A2, B3 |
| Pre-Crash Safety Off*9 | Displayed | Input | CAN | PCS warning message signal | Driving support ECU assembly | A2, B3 |
| PCS warning distance unusable condition text display signal | ||||||
| PCS distance warning signal | ||||||
| PCS ped warning signal | ||||||
| PCS preceding vehicle start notification signal | ||||||
| Theft Sensor Turned Off*28 | Displayed | Input | CAN | Invasion sensor state display signal | Main body ECU (Multiplex network body ECU) | A2, B3 |
| Theft Sensor Turned On*28 | Displayed | Input | CAN | Invasion sensor state display signal | Main body ECU (Multiplex network body ECU) | A2, B3 |
| Automatic Mode On Shift Operation Sets or Releases Parking Brake | Displayed | Input | Direct line | EPB warning 2 signal | Brake actuator assembly (Skid control ECU) | A2, B3 |
| Automatic Mode Off | Displayed | Input | Direct line | EPB warning 2 signal | Brake actuator assembly (Skid control ECU) | A2, B3 |
| Each door open (vehicle stopped, engine switch off) | Displayed | Input | CAN | Driver door courtesy switch signal | Main body ECU (Multiplex network body ECU) | A2, B3 |
| Front passenger door courtesy switch signal | ||||||
| Rear right door courtesy switch signal | ||||||
| Rear left door courtesy switch signal | ||||||
| Back door courtesy switch signal | ||||||
| Hood courtesy switch signal | ||||||
| Steering wheel signal |
*1: w/ Oil Maintenance Required Reminder
*2: w/ Stop and Start System
*3: w/ Tire Pressure Warning System
*4: for AWD
*5: w/ LKA/LDA System
*6: for TFT Meter Type
*7: for 8AR-FTS
*8: w/ Navigation System
*9: w/ Pre-crash Safety System
*10: w/o Adaptive Variable Suspension System
*11: w/ Adaptive Variable Suspension System
*12: w/ Road Sign Assist System
*13: w/o Dynamic Radar Cruise Control System
*14: w/ Dynamic Radar Cruise Control System
*15: w/ Adjustable Speed Warning
*16: w/ LEXUS Parking Assist-sensor System
*17: w/o LKA
*18: w/ LKA
*19: w/ Blind Spot Monitor System
*20: w/ Light Reminder Warning
*21: w/ Sliding Roof System or Panoramic Moon Roof System
*22: w/ Power Back Door System
*23: for 2GR-FKS
*24: w/ Gear Shift Indicator
*25: w/ Injector Maintenance Required Reminder
*26: w/ Automatic High Beam System
*27: w/ Adaptive High Beam System
*28: w/ Intrusion Sensor
*29: w/ Manual (SOS) Switch
*30: w/ 120 km/h Speed Warning
*31: w/ Intelligent Clearance Sonar System
Buzzer
| Item | Condition | Input/Output | Communication line | Signal | Component |
|---|---|---|---|---|---|
| Seat belt warning (for Driver side) buzzer | Sounds intermittently (Maximum 5 times) | Input | CAN | Driver seat belt buckle switch signal | Main body ECU (Multiplex network body ECU) |
| Sounds once/Sounds intermittently | Input | CAN | Driver seat buckle switch signal | Main body ECU (Multiplex network body ECU) | |
| Parking brake switch signal | |||||
| Shift position P signal | ECM | ||||
| Shift position R signal | |||||
| Restart while driving notification buzzer | Sounds continuously | Input | CAN | Smart system warning 2 signal | Certification ECU (Smart key ECU assembly) |
| Engine switch operation while driving warning buzzer | Sounds intermittently | Input | CAN | Buzzer request signal | Certification ECU (Smart key ECU assembly) |
| Seat belt warning (for Front passenger side) buzzer | Sounds once/Sounds intermittently | Input | CAN | Parking brake switch signal | Main body ECU (Multiplex network body ECU) |
| Shift position P signal | ECM | ||||
| Shift position R signal | |||||
| Front passenger seat occupant detection status signal*9 | Airbag sensor assembly | ||||
| Front passenger seat belt buckle switch detection status signal | |||||
| Direct line | Front passenger seat occupant detection status signal | Separate type front seat cushion pad (Occupant detection sensor)*10 | |||
| Seat belt warning (for Rear seat) buzzer*1 | Sounds intermittently | Input | CAN | Parking brake switch signal | Main body ECU (Multiplex network body ECU) |
| Rear right door courtesy switch signal | |||||
| Rear left door courtesy switch signal | |||||
| Vehicle speed (SP1) signal | Brake actuator assembly (Skid control ECU) | ||||
| Shift position P signal | ECM | ||||
| Shift position R signal | |||||
| Direct line | Rear left seat belt buckle switch signal | Rear seat inner belt assembly LH | |||
| Rear center seat belt buckle switch signal | Rear center seat inner belt assembly | ||||
| Rear right seat belt buckle switch signal | Rear seat 3 point type belt assembly RH | ||||
| Lane departure alert cancel buzzer*2 | Sounds twice | Input | CAN | Lane departure alert cancel buzzer signal | Forward recognition camera |
| Emergency stop buzzer | Sounds continuously | Input | CAN | Buzzer request signal | Certification ECU (Smart key ECU assembly) |
| Vehicle roll-away notification buzzer | Sounds once/Sounds intermittently | Input | CAN | Engine RPM data signal | ECM |
| Shift position P signal | |||||
| Shift position N signal | |||||
| Vehicle speed (SP1) signal | Brake actuator assembly (Skid control ECU) | ||||
| Eco mode signal | Engine stop ad start ECU*3 | ||||
| Brake fluid low warning buzzer | Sounds intermittently | Input | CAN | Vehicle speed (SP1) signal | Brake actuator assembly (Skid control ECU) |
| Direct line | Brake fluid level warning switch signal | Brake master cylinder reservoir assembly (Brake fluid level warning switch) | |||
| Oil pressure warning buzzer | Sounds intermittently | Input | CAN | Engine RPM data signal | ECM |
| Demand of oil pressure light signal | ECM*11 | ||||
| Direct line | Engine oil pressure signal | Engine oil pressure switch assembly*12 | |||
| EPS warning buzzer | Sounds once/Sounds intermittently | Input | CAN | Demand buzzer to meter signal | Power steering ECU assembly |
| Lane departure alert warning buzzer*2 | Sounds intermittently | Input | CAN | LDW buzzer signal | Forward recognition camera |
| Engine coolant temperature warning buzzer | Sounds once | Input | CAN | Engine coolant temperature signal | ECM |
| Smart key warning buzzer | Sounds intermittently | Input | CAN | Meter buzzer intermittence request signal | Certification ECU (Smart key ECU assembly) |
| Sounds intermittently (Maximum 9 times) | Input | CAN | Meter buzzer intermittent request (0.7 sec. cycle) signal | ||
| Sounds once | Input | CAN | Meter buzzer single-shot request signal | ||
| Sounds continuously | Input | CAN | Meter buzzer continuation request signal | ||
| Stop and start warning buzzer*3 | Sounds continuously | Input | CAN | Sounding buzzer request signal | Engine stop and start ECU |
| P shift operation advice buzzer | Sounds once | Input | CAN | Buzzer request signal | Certification ECU (Smart key ECU assembly) |
| Multi-information display warning buzzer | Sounds once | Input | CAN | Multi-information display warning signal | Related ECUs |
| Direct line | |||||
| Electric parking brake cancel buzzer | Sounds twice | Input | CAN | Brake hold information control flag signal | Brake actuator assembly (Skid control ECU) |
| Brake hold control non-cancellation warning buzzer | Sounds twice | Input | CAN | Brake hold information control flag signal | Brake actuator assembly (Skid control ECU) |
| Radar cruise control low speed cancel buzzer*4 | Sounds twice | Input | CAN | Low speed cancel buzzer request signal | ECM |
| Low speed range of the vehicle in front buzzer*4 | Sounds four times | Input | CAN | Low speed zone leading vehicle lost buzzer signal | ECM |
| Lane departure alert hands-free caution buzzer*2 | Sounds intermittently | Input | CAN | Hands-free caution text display signal | Forward recognition camera |
| Immobiliser key identification completion buzzer | Sounds once | Input | CAN | Immobiliser key identification completion signal | Certification ECU (Smart key ECU assembly) |
| Speed warning buzzer*6 | Sounds intermittently (Maximum 6 times) | Input | CAN | Vehicle speed (SP1) signal | Brake actuator assembly (Skid control ECU) |
| Speed limit buzzer*7 | Sounds intermittently | Input | CAN | Vehicle speed (SP1) signal | Brake actuator assembly (Skid control ECU) |
| Driving with parking brake unreleased warning buzzer | Sounds intermittently | Input | Direct line | EPB warning 2 signal | Brake actuator assembly (Skid control ECU) |
| Driving with door open warning buzzer | Sounds intermittently | Input | CAN | Driver door courtesy switch signal | Main body ECU (Multiplex network body ECU) |
| Front passenger door courtesy switch signal | |||||
| Rear right door courtesy switch signal | |||||
| Rear left door courtesy switch signal | |||||
| Back door courtesy switch signal | |||||
| Hood courtesy switch signal | |||||
| Vehicle speed (SP1) signal | Brake actuator assembly (Skid control ECU) | ||||
| Unsteady driving alert buzzer*2 | Sounds twice | Input | CAN | SWS buzzer request signal | Forward recognition camera |
| Road sign assist buzzer*8 | Sounds four times | Input | CAN | Buzzer request of permanent area signal | Forward recognition camera |
| Buzzer request of camera ADAS tab signal | |||||
| Sports shift reject buzzer | Sounds twice | Input | CAN | Reject buzzer signal | ECM |
| Light reminder buzzer*9 | Sounds continuously | Input | CAN | Lighting system state signal | Main body ECU (Multiplex network body ECU) |
| Driver door courtesy switch signal | |||||
| Turn signal flasher buzzer | Sounds intermittently | Input | CAN | Flasher request signal | Main body ECU (Multiplex network body ECU) |
| PBD hazard request signal | Multiplex network door ECU*13 | ||||
| Hazard light activation request signal | Telematics transceiver*5 | ||||
| Direct line | LH turn signal switch signal | Headlight dimmer switch assembly | |||
| RH turn signal switch signal | |||||
| Hazard warning switch signal | Radio receiver assembly (Hazard warning signal switch) |
*1: w/ Rear Seat Belt Warning
*2: w/ LKA/LDA System
*3: w/ Stop and Start System
*4: w/ Dynamic Radar Cruise Control System
*5: w/ Manual (SOS) Switch
*6: w/ 120 km/h Speed Warning
*7: w/ Adjustable Speed Warning
*8: w/ Road Sign Assist System
*9: w/ Light Reminder Warning
*9: w/ Occupant Classification System
*10: w/o Occupant Classification System
*11: for 8AR-FTS
*12: for 2GR-FKS
*13: w/ Power Back Door System
Others
| Item | Condition | Input/Output | Communication line | Signal | Component |
|---|---|---|---|---|---|
| Meter illumination | Illumination level | Input | CAN | Illuminance data signal | Main body ECU (Multiplex network body ECU) |
| Auto dimmer signal | |||||
| Taillight request signal | |||||
| Parked condition signal | |||||
| Panel lighting request signal | |||||
| Direct line | Illumination level signal | Trip switch assembly | |||
| - | Output | CAN | Rheostat duty signal | Related ECUs | |
| Lounge illumination off signal | |||||
| Tail cancel signal | |||||
| Direct line | Illumination level output signal |
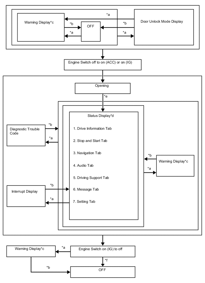
MULTI-INFORMATION DISPLAY FLOW CHART
Multi-information display flow chart
| *a | Conditions are met | *b | Conditions are not met |
| *c | If there are multiple display requests, items will be displayed in sequence | *d | Item or display is selected by operating the steering pad switch |
| *e | Odometer display is displayed for a certain period of time after the engine switch is turned off | *f | After engine switch is turned on (IG) |
DESCRIPTION OF WARNING DISPLAYS
| Priority | System name/(Vehicle Function) | Master Warning Light ○: Comes on ●: Blinks |
Buzzer (*1) | Display | Level |
|---|---|---|---|---|---|
| 1 | Dynamic torque control AWD system | - | - | AWD TEST MODE | Caution |
| (Chassis dynamometer mode) | - | - | CDY-2 | Caution | |
| - | - | CDY-4 | Caution | ||
| LKA/LDA system | - | - | ADJUSTING LDA CAMERA | Caution | |
| Dynamic radar cruise control system | - | - | ADJUSTING FRONT RADAR BEAM | Caution | |
| Pre-crash safety system | - | - | ERROR ADJUSTING FRONT RADAR BEAM | Caution | |
| - | - | ADJUSTING FRONT RADAR BEAM VERTICAL | Caution | ||
| - | - | ADJUSTING FRONT RADAR BEAM HORIZONTAL | Caution | ||
| - | - | CHECKING PRE-CRASH BRAKE | Caution | ||
| Dynamic radar cruise control system | - | - | CHECKING CRUISE CONTROL BRAKE | Caution | |
| Intelligent clearance sonar system | - | - | WRITE ZERO-POINT OF STEERING ANGLE | Caution | |
| - | - | END OF ADJUSTMENT | Caution | ||
| - | - | MEMORY ERROR | Caution | ||
| Lighting system | - | - | Headlight System Uninitialized Visit Your Dealer | Advisory | |
| Pre-crash safety system | - | - | BRAKE! | Warning | |
| Entry and start system | ● | * | Push and Hold Engine Switch for Emergency Stop | Warning | |
| ● | * | Shift to N and Press Engine Switch to Restart | Caution | ||
| (Vehicle roll-away warning) | ● | * | Engine Stopped Shift to P | Caution | |
| ● | * | Engine Stopped Stop in a Safe Place | Caution | ||
| 2 | Dynamic radar cruise control system | - | - | Dynamic radar cruise control or LKA/LDA warning reminder indicator | Warning |
| LKA/LDA system | |||||
| Vehicle stability control system | ● | ○ | Braking Power Low Stop in a Safe Place See Owner's Manual | Warning | |
| Intelligent clearance sonar system | ● | ○ | Switch to Brake | Caution | |
| ● | ○ | BRAKE! | Caution | ||
| ● | ○ | Object Detected Acceleration Reduced | Caution | ||
| Brake override system | ● | ○ | Accelerator Stuck Depress Brake to Stop | Caution | |
| Entry and start system | ● | ○ | Shift to P Before Exiting Vehicle | Caution | |
| 3 | (Each door warning (vehicle being driven)) | ● | * | Each door open (vehicle being driven) (image display) | Caution |
| (Each door warning (vehicle stopped, engine switch on (IG)) | - | - | Each door open (vehicle stopped) (image display) | Caution | |
| LEXUS parking assist-sensor system | - | - | Clearance sonar detection (image display) | Caution | |
| ○ | - | Parking Assist Malfunction | Caution | ||
| ○ | - | Clean Parking Assist Sensor | Caution | ||
| 4 | Entry and start system | - | - | Power Turned Off to Save Battery | Caution |
| 5 | Entry and start system | ● | * | Shift to P Before Exiting Vehicle | Caution |
| 6 | Power steering system | ●/○ | * | Power Steering Malfunction Steering Power Low Visit Your Dealer | Caution |
| ●/○ | * | Steering Power Low Visit Your Dealer | Caution | ||
| Power steering system | ○ | * | Power Steering Malfunction Visit Your Dealer | Caution | |
| (Parking brake) | ● | * | Release Parking Brake | Caution | |
| Electric parking brake system | ● | ○ | Vehicle May Roll Shift to P | Caution | |
| Wiper and washer system | ○ | ○ | Wiper System Malfunction Visit Your Dealer | Caution | |
| Electric parking brake system | ● | ○ | EPB Activation Stopped Incompletely | Caution | |
| Entry and start system | - | * | Key Not Detected Check Key Location | Caution | |
| Electric parking brake system | - | * | Release Parking Brake while Depressing Brake | Caution | |
| Drive start control system | ● | ○ | Release Accelerator | Caution | |
| 7 | (Speed warning) | - | * | Speed Limit Exceeded | Caution |
| 8 | LKA/LDA system | ○ | * | Lane Departure Alert Driver Attention Required | Caution |
| ○ | * | Lane Keeping Assist Driver Attention Required | Caution | ||
| - | - | LDA Hold Steering Wheel | Caution | ||
| - | - | LKA Hold Steering Wheel | Caution | ||
| ○ | ○ | LDA Steering Assist Unavailable Hold Steering Wheel | Caution | ||
| ○ | ○ | LKA Steering Assist Unavailable Hold Steering Wheel | Caution | ||
| ○ | * | LDA Hold Steering Wheel | Caution | ||
| ○ | * | LKA Hold Steering Wheel | Caution | ||
| Electric parking brake system | ○ | * | Parking Brake Overheated Parking Brake Unavailable | Caution | |
| 9 | SFI system | ○ | ○ | Check Engine Visit Your Dealer | Caution |
| ○ | ○ | Check Engine Reduced Engine Power Visit Your Dealer | Caution | ||
| ○ | ○ | Reduced Engine Power Visit Your Dealer | Caution | ||
| Airbag system | ○ | ○ | SRS Airbag System Malfunction Visit Your Dealer | Caution | |
| Vehicle stability control system | - | ○ | Antilock Brake System Malfunction Visit Your Dealer | Caution | |
| SFI system | ○ | * | Engine Coolant Temp High Stop in a Safe Place See Owner's Manual | Caution | |
| Charging system | - | - | Charging System Malfunction See Owner's Manual | Caution | |
| Dynamic radar cruise control system | ○ | ○ | Radar Cruise Control Unavailable Clean Sensor | Caution | |
| ○ | ○ | Radar Cruise Control Unavailable | Caution | ||
| - | - | Radar Cruise Control Unavailable Depress Brake to Resume Driving | Caution | ||
| Entry and start system | ○ | * | Smart Entry & Start System Malfunction See Owner's Manual | Caution | |
| Blind spot monitor system | ○ | ○ | Blind Spot Monitor Unavailable | Caution | |
| Dynamic radar cruise control system | ○ | ○ | Cruise Control Malfunction Visit Your Dealer | Caution | |
| Cruise control system | |||||
| Dynamic radar cruise control system | ○ | ○ | Cruise Control Fault Press Brake to Deactivate Visit Your Dealer | Caution | |
| LKA/LDA system | ○ | ○ | Lane Departure Alert Malfunction Visit Your Dealer | Caution | |
| ○ | ○ | Lane Keeping Assist Malfunction Visit Your Dealer | Caution | ||
| Pre-crash safety system | - | - | Forward Camera System Unavailable | Caution | |
| LKA/LDA system | ○ | ○ | Lane Departure Alert Unavailable | Caution | |
| ○ | ○ | Lane Keeping Assist Unavailable | Caution | ||
| - | - | Lane Departure Alert Turned On Steering Assist Active | Advisory | ||
| - | - | Lane Keeping Assist Turned On Steering Assist Active | Advisory | ||
| - | - | Lane Departure Alert Turned On Steering Assist Inactive | Advisory | ||
| - | - | Lane Keeping Assist Turned On Steering Assist Inactive | Advisory | ||
| Pre-crash safety system | - | - | Forward Camera System Unavailable Clean Windshield | Caution | |
| Stop and start system | - | - | Prolongs Stop & Start and Reduces AC Output | Advisory | |
| - | - | Balances Stop & Start and AC Output | Advisory | ||
| 9 | Pre-crash safety system | ○ | ○ | Pre-Crash Safety Malfunction Visit Your Dealer | Caution |
| Blind spot monitor system | ○ | ○ | Blind Spot Monitor System Malfunction Visit Your Dealer | Caution | |
| (Engine oil pressure switch assembly) | ○ | * | Oil Pressure Low Stop in a Safe Place See Owner's Manual | Caution | |
| Automatic transaxle system | ○ | ○ | Transmission Fluid Temp High See Owner's Manual | Caution | |
| Dynamic torque control AWD system | ○ | ○ | AWD System Malfunction 2WD Mode Engaged Visit Your Dealer | Caution | |
| Electric parking brake system | ○ | ○ | Parking Brake Unavailable | Caution | |
| ○ | ○ | Electronic Parking Brake Malfunction Visit Your Dealer | Caution | ||
| Dynamic radar cruise control system | - | - | Radar Cruise Active Please Pay Attention to Other Vehicles | Caution | |
| LKA/LDA system | - | - | Lane Departure Alert Unavailable Below Approx 50km/h | Advisory | |
| - | - | Lane Keeping Assist Unavailable Below Approx 50km/h | Advisory | ||
| - | - | Lane Departure Alert Unavailable Below Approx 32MPH | Advisory | ||
| - | - | Lane Keeping Assist Unavailable Below Approx 32MPH | Advisory | ||
| - | - | Lane Departure Alert Unavailable at Current Speed | Advisory | ||
| - | - | Lane Keeping Assist Unavailable at Current Speed | Advisory | ||
| Electric parking brake system | ○ | ○ | Brake Hold Fault Depress Brake to Deactivate Visit Your Dealer | Caution | |
| ● | ○ | Brake Hold Warning Depress Brake on Slope | Caution | ||
| 10 | Dynamic radar cruise control system | - | - | Dynamic radar cruise control or LKA/LDA indicator | - |
| LKA/LDA system | |||||
| Stop and start system | ○ | ○ | Stop & Start System Malfunction Visit Your Dealer | Caution | |
| Power steering system | ○ | * | Engine Stopped Steering Power Low | Caution | |
| Entry and start system | ●/- | * | Turn Off Vehicle | Caution | |
| LKA/LDA system | - | * | Would You Like to Take a Rest? | Advisory | |
| - | * | Please Take a Rest | Advisory | ||
| Entry and start system | - | - | Key Left inside Vehicle | Caution | |
| Lighting system | ● | * | Turn Lights Off | Caution | |
| Sliding roof system | ● | ○ | Moon Roof Open | Caution | |
| Power window control system | ● | ○ | Window Open | Caution | |
| Power window control system | ● | ○ | Window / Moon Roof Open | Caution | |
| Sliding roof system | |||||
| Entry and start system | - | * | Depress Brake and Then Touch Key to Engine Switch | Caution | |
| - | -/* | Depress Brake and Then Start Engine | Caution | ||
| 11 | Steering lock system | ● | * | Steering Wheel Lock Press Engine Switch while Turning Wheel | Caution |
| Electric parking brake system | ○ | ○ | Brake Hold Malfunction Visit Your Dealer | Caution | |
| ○ | ○ | Brake Hold Less Effective during Icy Conditions | Caution | ||
| - | * | Brake Hold Active Depress Brake and Switch to Deactivate | Caution | ||
| - | * | Brake Hold Unavailable Driver Door Open | Caution | ||
| - | * | Brake Hold Unavailable Driver Seat Belt Unbuckled | Caution | ||
| - | * | Brake Hold Unavailable Hood or Trunk Open | Caution | ||
| - | * | Depress Brake to Maintain Brake Hold | Caution | ||
| - | * | Close Driver Door to Maintain Brake Hold | Caution | ||
| - | * | Fasten Driver Seat Belt to Maintain Brake Hold | Caution | ||
| - | - | Parking Brake Activated Release before Driving | Caution | ||
| Dynamic torque control AWD system | ● | ○ | AWD System Overheated 2WD Mode Engaged | Caution | |
| ● | ○ | AWD System Overheated Switching to 2WD Mode | Caution | ||
| Intelligent clearance sonar system | ○ | ○ | ICS Malfunction Visit Your Dealer | Caution | |
| Drive start control system | ○ | ○ | Drive-Start Control Malfunction Visit Your Dealer | Caution | |
| Brake override system | ○ | ○ | Brake Override Malfunction Visit Your Dealer | Caution | |
| 12 | Entry and start system | - | * | Key Battery Low | Caution |
| Power back door system | ○ | ○ | Power Back Door Sensor Performance Is Reduced Clean Rear Emblem | Caution | |
| (Engine oil level sensor) | - | - | Engine Oil Level Low Add or Replace | Advisory | |
| Automatic high beam system | ○ | ○ | Headlight System Malfunction Visit Your Dealer | Caution | |
| Adaptive high beam system | |||||
| Automatic headlight beam level control system | |||||
| AFS (Adaptive front-lighting system) | |||||
| Lighting system | |||||
| Road sign assist system | ○ | ○ | Check RSA System | Caution | |
| Brake override system | ● | - | Accelerator and Brake Pedals Depressed Simultaneously | Advisory | |
| Tire pressure warning system | - | - | Tire pressure indicator (image display) | Advisory | |
| 13 | (Windshield washer fluid warning) | - | - | Windshield Washer Fluid Low | Advisory |
| (Fuel level warning) | - | - | Fuel Low | Advisory | |
| (Ice warning) | - | ○ | Roads May Be Icy Drive with Care | Advisory | |
| Vehicle stability control system | - | - | Traction Control Turned Off | Caution | |
| (Oil maintenance) | - | - | Oil Maintenance Required Soon | Advisory | |
| (Injector maintenance) | ○ | - | Injector Maintenance Required Soon | Advisory | |
| (Oil maintenance) | - | - | Oil Maintenance Required Visit Your Dealer | Advisory | |
| (Injector maintenance) | ○ | - | Injector Maintenance Required Visit Your Dealer | Advisory | |
| Automatic high beam system | - | - | To Activate Auto High Beam, Switch Headlights to High Beam | Advisory | |
| Adaptive high beam system | - | - | To Activate AHS, Switch Headlights to High Beam | Advisory | |
| Entry and start system | - | - | A New Key has been Registered Contact Your Dealer for Details | Caution | |
| - | - | Depress Brake and Then Start Engine | Caution | ||
| Pre-crash safety system | - | - | VSC Turned Off Pre-Crash Brake System Unavailable | Advisory | |
| - | - | Pre-Crash Safety Unavailable | Advisory | ||
| Intelligent clearance sonar system | ● | - | ICS Unavailable | Advisory | |
| Air conditioning system | ● | - | High Power Consumption Partial Limit On AC/Heater Operation | Advisory | |
| Pre-crash safety system | - | - | Pre-Crash Safety Unavailable | Advisory | |
| - | - | Pre-Crash Safety Unavailable Clean Sensor | Advisory | ||
| - | - | Pre-Crash Safety Off | Advisory | ||
| Theft deterrent system | - | - | Theft Sensor Turned Off | Caution | |
| - | - | Theft Sensor Turned On | Caution | ||
| Electric parking brake system | - | ○ | Automatic Mode On Shift Operation Sets or Releases Parking Brake | Advisory | |
| - | ○ | Automatic Mode Off | Advisory | ||
| (Each door open (vehicle stopped, engine switch off)) | - | - | Each door open (vehicle stopped, engine switch off) | Caution |
*: An exclusive buzzer sounds depending on condition
*1: Buzzers that are linked with the master warning light