CHARGING SYSTEM ON-VEHICLE INSPECTION

PROCEDURE


  1. CHECK BATTERY CONDITION

    Note

    If the battery is weak or if the engine is difficult to start, recharge the battery and perform inspections again before returning the vehicle to the customer.


    1. Check the battery for damage or deformation. If severe damage, deformation or leakage is found, replace the battery.

    2. Check the electrolyte level in each cell.


      1. For maintenance-free batteries:


        • If the electrolyte level is below the lower line, replace the battery.

        • If the electrolyte level is above the lower line, check the battery voltage when cranking the engine. If the voltage is less than 9.6 V, recharge or replace the battery.

          Tech Tips

          Before checking the battery voltage, turn off all the electrical systems (headlights, blower motor, rear window defogger, etc.).

      2. For non-maintenance-free batteries:


        • If the electrolyte level is below the lower line, add distilled water to each cell. Then, recharge the battery and check the electrolyte specific gravity.

          Standard Specific Gravity
          1.25 to 1.29 at 20°C (68°F)

        • If the electrolyte level is above the lower line, check the battery voltage when cranking the engine. If the battery voltage is less than 9.6 V, recharge or replace the battery.

          Tech Tips

          Before checking the battery voltage, turn off all the electrical systems (headlights, blower motor, rear window defogger, etc.).

    3. Check the voltage.


      1. Turn the engine switch off and turn on the headlights for 20 to 30 seconds. This will remove the surface charge from the battery.

      2. Measure the battery voltage according to the value(s) in the table below.

        Standard Voltage
        Tester Connection Condition Specified Condition
        Positive (+) terminal - Negative (-) terminal 20°C (68°F) 12.3 V or higher

        If the result is not as specified, recharge or replace the battery.

  2. CHECK BATTERY TERMINAL


    1. Check that the battery terminals are not loose or corroded.

      If a terminal is loose or corroded, tighten or clean the terminal.

      Torque:
      Positive (+) Battery Terminal
      5.4 N*m  { 55 kgf*cm, 48 in.*lbf }
      Negative (-) Battery Terminal
      5.4 N*m  { 55 kgf*cm, 48 in.*lbf }
  3. CHECK FUSES


    1. Measure the resistance of each fuse for the charging system.

      Tech Tips

      The fuses shown in System Diagram are related to the charging system.

      Standard Resistance
      Below 1 Ω

      • If the result is not as specified, replace the fuse.

  4. INSPECT V-RIBBED BELT

    Click here

  5. INSPECT GENERATOR WIRING


    1. Visually check the generator wiring.


      1. Check that the wiring is in good condition.

  6. CHECK FOR ABNORMAL NOISE


    1. Check for abnormal noises from the generator assembly.


      1. Check that no abnormal noises are heard from the generator assembly while the engine is running.

        If noise occurs, refer to Problem Symptoms Table.

        Click here

  7. INSPECT CHARGE WARNING LIGHT (for TFT Meter Type)


    1. Turn the engine switch on (IG).

    2. Check that the charge warning light comes on.

    3. Start the engine and check that the charge warning light turns off.

      If the light does not operate as specified, perform troubleshooting of the charge warning light.

      Click here

  8. INSPECT CHARGING CIRCUIT WITHOUT LOAD


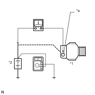
    1. B005OKFC21
      *1 Generator Assembly
      *2 Battery
      *a Terminal B

      Connect a voltmeter and an ammeter to the charging circuit as follows.

      Tech Tips

      If a battery/generator assembly tester is available, connect the tester to the charging circuit in accordance with the manufacturer's instructions.


      1. Disconnect the wire from terminal B of the generator assembly and connect it to the negative (-) lead of the ammeter.

      2. Connect the ammeter positive (+) lead to terminal B of the generator assembly.

      3. Connect the voltmeter positive (+) lead to the positive (+) terminal of the battery.

      4. Ground the voltmeter negative (-) lead.

    2. Check the charging circuit.


      1. Maintain the engine speed at 2000 rpm and check the readings on the ammeter and voltmeter.

        Standard Current
        10 A or higher
        Standard Voltage
        13.2 to 14.8 V

        If the result is not as specified, repair or replace the generator assembly.

  9. INSPECT CHARGING CIRCUIT WITH LOAD


    1. With the engine running at 2000 rpm, turn the high beam headlights on and turn the heater blower switch to the "HI" position.

    2. Check the reading on the ammeter.

      Standard Current
      30 A or higher

      If the result is not as specified, repair or replace the generator assembly.

      Tech Tips

      If the battery is fully charged, the reading will sometimes be less than the standard current. In this case, add more electrical load (operate the wipers, rear window defogger, etc.) and check the reading on the ammeter again.