ENGINE UNIT REASSEMBLY

PROCEDURE


  1. INSTALL RING PIN

    Note

    It is not necessary to remove the ring pins unless they are being replaced.


    1. Camshaft Housing Sub-assembly Side:


      1. B005PRIC02
        *a Protrusion Height

        Using a plastic hammer, tap in 10 new ring pins to the camshaft housing sub-assembly.

        Standard Protrusion Height
        2.7 to 3.3 mm (0.106 to 0.130 in.)
    2. Stiffening Crankcase Assembly Side:


      1. B005LMSC02
        *a Protrusion Height

        Using a plastic hammer, tap in 2 new ring pins to the stiffening crankcase assembly.

        Standard Protrusion Height
        4.3 to 5.3 mm (0.169 to 0.209 in.)
  2. INSTALL STUD BOLT

    Note

    If a stud bolt is deformed or its threads are damaged, replace it.


    1. Camshaft Housing Sub-assembly Side:


      1. B005Q6OC02
        *a 20 mm (0.787 in.)
        *b 13 mm (0.512 in.)
        *c 35 mm (1.38 in.)

        Apply adhesive to the threads of the stud bolt.

        Adhesive
        Toyota Genuine Adhesive 1324, Three Bond 1324 or equivalent
      2. Using an E8 "TORX" socket wrench, install the stud bolt as shown in the illustration.

        Torque:
        9.0 N*m  { 92 kgf*cm, 80 in.*lbf }
    2. Engine Mounting Bracket RH Side:


      1. B005Q6FC03
        *a 67 mm (2.64 in.)
        *b 27 mm (1.06 in.)
        *c 103 mm (4.06 in.)

        Type A:

        Using an 8 mm socket wrench, install the stud bolt as shown in the illustration.

        Torque:
        10 N*m  { 102 kgf*cm, 7 ft.*lbf }
      2. B005OSMC01
        *a 67 mm (2.64 in.)
        *b 27 mm (1.06 in.)
        *c 103 mm (4.06 in.)

        Type B:

        Using an 8 mm socket wrench, install the 2 stud bolts as shown in the illustration.

        Torque:
        10 N*m  { 102 kgf*cm, 7 ft.*lbf }
    3. Stiffening Crankcase Assembly Side:


      1. Using E5 and E8 "TORX" socket wrenches, install the stud bolts as shown in the illustration.

        B005MYSC02
        *a Front Side *b Bottom Side
        *c 20 mm (0.787 in.) *d 13 mm (0.512 in.)
        *e 35 mm (1.38 in.) *f 8.5 mm (0.335 in.)
        *g 8.0 mm (0.315 in.) *h 18 mm (0.709 in.)
        Torque:
        Stud Bolt (A)
        9.5 N*m  { 97 kgf*cm, 84 in.*lbf }
        Stud Bolt (B)
        4.0 N*m  { 41 kgf*cm, 35 in.*lbf }
  3. INSTALL ENGINE BALANCER ASSEMBLY


    1. B005N7RC16
      *1 Balance Shaft Damper Cover
      *2 No. 1 Balance Shaft Driven Gear
      *a Alignment Mark

      Check that the alignment marks of the balance shaft damper cover and No. 1 balance shaft driven gear are aligned.

      If the alignment marks are not aligned, realign them.

    2. B005LVFC15
      *1 Balance Shaft Damper Cover
      *2 No. 1 Balance Shaft Driven Gear
      *a Alignment Mark

      Using a wrench, securely hold the No. 2 balance shaft.

    3. Rotate the No. 1 balance shaft driven gear counterclockwise to align the No. 1 balance shaft driven gear with the balance shaft damper cover.

    4. B005PK9C02
      *a Bolt Type
      *b Tightening Order

      Temporarily install the engine balancer assembly to the stiffening crankcase assembly with the 4 bolts and tighten the bolts in the order shown in the illustration.

      Torque:
      Bolt (A)
      43 N*m  { 438 kgf*cm, 32 ft.*lbf }
      Bolt (B)
      24 N*m  { 245 kgf*cm, 18 ft.*lbf }
      Bolt Length
      Item Specified Condition
      Bolt (A) 55 mm (2.17 in.)
      Bolt (B) 45 mm (1.77 in.)
  4. INSTALL STIFFENING CRANKCASE ASSEMBLY


    1. B005QDYC02
      *1 Crankshaft Pulley Set Key

      Rotate the crankshaft clockwise so that the crankshaft pulley set key is at the position 90° from the bottom as shown in the illustration.

    2. Clean the stiffening crankcase assembly and cylinder block sub-assembly.

    3. B005LZEC02
      *a Seal Packing
      *b 7.0 to 9.0 mm (0.276 to 0.354 in.)
      *c 2.5 to 3.5 mm (0.0984 to 0.138 in.)
      *d 28 mm (1.10 in.)

      Apply seal packing to the areas shown in the illustration.

      Seal Packing
      Toyota Genuine Seal Packing Black, Three Bond 1207B or equivalent
      Standard Seal Dimension
      Area Specified Condition
      Continuous Line 2.5 to 3.5 mm (0.0984 to 0.138 in.)
      Dashed Line 7.0 to 9.0 mm (0.276 to 0.354 in.) wide and 2.5 to 3.5 mm (0.0984 to 0.138 in.) thick

      Note


      • Remove any oil from the contact surface.

      • Install the stiffening crankcase assembly within 3 minutes and tighten the bolts and nuts within 10 minutes of applying seal packing.

      • Do not add engine oil for at least 2 hours after installation.

    4. B005OIKC11
      *a Cutout

      Check that the cutouts are as shown in the illustration.

    5. B0010SH

      Clean the bolts and bolt holes.

      Note

      Check that there is no oil in the bolt holes shown in the illustration. Clean if necessary.

    6. B005ME6C02
      *a Bolt Type
      *b Tightening Order

      Apply adhesive to the threads of the bolts (A).

      Adhesive
      Toyota Genuine Adhesive 1344, Three Bond 1344 or equivalent

      Note

      Install the bolts within 3 minutes of applying adhesive.

    7. Temporarily install the stiffening crankcase assembly with the 11 bolts.

      Bolt Length
      Item Specified Condition
      Bolt (A) 65 mm (2.56 in.)
      Bolt (B) 35 mm (1.38 in.)
      Bolt (C) 125 mm (4.92 in.)
      Bolt (D) 165 mm (6.50 in.)

      Tech Tips

      Apply adhesive to the bolts (A) before installation.

    8. Tighten the 11 bolts in the order shown in the illustration.

      Torque:
      Bolt (A)
      24 N*m  { 245 kgf*cm, 18 ft.*lbf }
      except Bolt (A)
      43 N*m  { 438 kgf*cm, 32 ft.*lbf }
  5. INSTALL ENGINE OIL TEMPERATURE SENSOR

    Click here

  6. INSTALL NO. 1 OIL PAN BAFFLE PLATE


    1. B005ML2N02

      Install the No. 1 oil pan baffle plate and uniformly tighten the 5 bolts in several steps in the order shown in the illustration.

      Torque:
      10 N*m  { 102 kgf*cm, 7 ft.*lbf }
  7. INSTALL OIL STRAINER SUB-ASSEMBLY


    1. Apply a light coat of engine oil to a new gasket.

    2. B005LY5C02
      *a Protrusion

      Align the protrusion of the gasket with the cutout of the oil strainer sub-assembly, and install the gasket to the oil strainer sub-assembly.

    3. Install the oil strainer sub-assembly with the 3 bolts in several steps, in the order shown in the illustration.

      Torque:
      10 N*m  { 102 kgf*cm, 7 ft.*lbf }
  8. INSTALL ENGINE OIL LEVEL SENSOR

    Click here

  9. INSTALL OIL PAN SUB-ASSEMBLY


    1. B005QD9C02
      *a Seal Packing

      Apply seal packing in a continuous line as shown in the illustration.

      Seal Packing
      Toyota Genuine Seal Packing Black, Three Bond 1207B or equivalent
      Standard Seal Packing Diameter
      2.5 to 3.5 mm (0.0984 to 0.138 in.)

      Note


      • Remove any oil from the contact surface.

      • Install the oil pan sub-assembly within 3 minutes and tighten the bolts and nuts within 10 minutes of applying seal packing.

      • Do not start the engine for at least 2 hours after installation.

      • Do not add engine oil for at least 2 hours after installation.

    2. B005QBHN02

      Install the oil pan sub-assembly with the 11 bolts and 2 nuts in several steps in the order shown in the illustration.

      Torque:
      10 N*m  { 102 kgf*cm, 7 ft.*lbf }
  10. INSTALL OIL PAN DRAIN PLUG


    1. Install a new gasket and the oil pan drain plug to the oil pan sub-assembly.

      Torque:
      40 N*m  { 408 kgf*cm, 30 ft.*lbf }
  11. INSTALL OIL COOLER ASSEMBLY

    Click here

  12. INSTALL OIL FILTER BRACKET CLIP


    1. Install the oil filter bracket clip to the stiffening crankcase assembly.

  13. INSTALL OIL FILTER CAP ASSEMBLY

    Click here

  14. INSTALL REAR ENGINE OIL SEAL

    Click here

  15. INSTALL CYLINDER BLOCK WATER JACKET SPACER


    1. B005M2GC01
      *a Protrusion
      B005NIZ Front of Engine

      Install the cylinder block water jacket spacer to the cylinder block sub-assembly as shown in the illustration.

      Note

      Make sure that the protrusion of the cylinder block water jacket spacer is facing upward when installing it.

  16. INSTALL CYLINDER HEAD GASKET

    Click here

  17. INSTALL CYLINDER HEAD SUB-ASSEMBLY

    Click here

  18. INSTALL VALVE STEM CAP


    1. Apply a light coat of engine oil to the valve stem cap ends.

    2. Install the 16 valve stem caps.

      Note


      • Be careful not to drop the valve stem caps into the cylinder head sub-assembly.

      • Install the valve stem caps to the same place they were removed from.

  19. INSTALL VALVE LASH ADJUSTER ASSEMBLY


    1. Bleed the valve lash adjuster assembly.

      Click here

    2. Apply engine oil to the outer surface of the valve lash adjuster body and the tip of the plunger, and then install the valve lash adjuster assembly while turning it.

      Note

      Install the valve lash adjuster assembly to the same place it was removed from.

  20. INSTALL NO. 1 VALVE ROCKER ARM SUB-ASSEMBLY


    1. B005OJ8C43
      *1 No. 1 Valve Rocker Arm Sub-assembly
      *2 Valve Lash Adjuster Assembly
      *3 Valve Stem Cap

      Apply engine oil to the valve lash adjuster assembly tips and valve stem caps.

    2. Install the 16 No. 1 valve rocker arm sub-assemblies as shown in the illustration.

      Note

      Install the No. 1 valve rocker arm sub-assemblies to the same place they were removed from.

  21. INSTALL NO. 1 CAMSHAFT BEARING


    1. Clean the No. 1 camshaft bearing.

      Note


      • Do not apply engine oil to the No. 1 camshaft bearing or contact surfaces.

      • Do not allow coolant to come into contact with the No. 1 camshaft bearing inner surface.

      • If any coolant comes into contact with the No. 1 camshaft bearing inner surface, replace the No. 1 camshaft bearing with a new one.

    2. B005OQ0C02
      *a Vernier Caliper

      Install the No. 1 camshaft bearing to the No. 1 camshaft bearing cap.

    3. Using a vernier caliper, measure the distance between the No. 1 camshaft bearing cap edge and the No. 1 camshaft bearing edge.

      Difference between (A) and (B)
      0 to 0.7 mm (0 to 0.0276 in.)
  22. INSTALL NO. 2 CAMSHAFT BEARING


    1. Clean the No. 2 camshaft bearing.

      Note


      • Do not apply engine oil to the No. 2 camshaft bearing or contact surfaces.

      • Do not allow coolant to come into contact with the No. 2 camshaft bearing inner surface.

      • If any coolant comes into contact with the No. 2 camshaft bearing inner surface, replace the No. 2 camshaft bearing with a new one.

    2. B005L6MC03
      *a Vernier Caliper

      Install the No. 2 camshaft bearing to the camshaft housing sub-assembly.

    3. Using a vernier caliper, measure the distance between the camshaft housing sub-assembly edge and the No. 2 camshaft bearing edge.

      Standard Distance (A)
      1.15 to 1.85 mm (0.0453 to 0.0728 in.)
  23. INSTALL OIL CONTROL VALVE FILTER


    1. Check that there is no foreign matter on the mesh.

    2. Install the oil control valve filter to the No. 1 camshaft bearing cap.

      Note

      Do not touch the mesh of the oil control valve filter.

  24. INSTALL NO. 2 CAMSHAFT

    Tech Tips

    Perform "Inspection After Repair" after replacing the No. 2 camshaft.

    Click here


    1. Clean the No. 2 camshaft journals and camshaft housing sub-assembly.

    2. Apply a light coat of engine oil to the No. 2 camshaft journals and camshaft housing sub-assembly.

    3. Place the No. 2 camshaft on the camshaft housing sub-assembly.

  25. INSTALL CAMSHAFT

    Tech Tips

    Perform "Inspection After Repair" after replacing the camshaft.

    Click here


    1. Clean the camshaft journals and camshaft housing sub-assembly.

    2. Apply a light coat of engine oil to the camshaft journals and camshaft housing sub-assembly.

    3. Place the camshaft on the camshaft housing sub-assembly.

  26. INSTALL CAMSHAFT BEARING CAP


    1. Clean the camshaft bearing caps.

    2. Apply a light coat of engine oil to the camshaft journals and camshaft bearing caps.

    3. Place the No. 1 camshaft bearing cap, No. 2 camshaft bearing cap, No. 3 camshaft bearing cap and No. 4 camshaft bearing cap.

    4. B005OI8N05

      Uniformly tighten the 11 bolts in several steps in the order shown in the illustration.

      Torque:
      16 N*m  { 163 kgf*cm, 12 ft.*lbf }

      Note

      After installing the No. 1 camshaft bearing cap, No. 2 camshaft bearing cap, No. 3 camshaft bearing cap and No. 4 camshaft bearing cap, make sure that the camshaft and No. 2 camshaft rotate smoothly.

  27. INSTALL NO. 3 WATER BY-PASS PIPE


    1. B005P8FN03

      Install a new gasket and the No. 3 water by-pass pipe and tighten the 3 bolts in the order shown in the illustration.

      Torque:
      10 N*m  { 102 kgf*cm, 7 ft.*lbf }

      Tech Tips

      Make sure the claws of the gasket are facing the No. 3 water by-pass pipe.

    2. Connect the No. 6 water by-pass hose to the cylinder head sub-assembly and slide the clip to secure it.

  28. INSTALL CAMSHAFT HOUSING SUB-ASSEMBLY


    1. B005P5RC26
      *1 No. 1 Valve Rocker Arm Sub-assembly
      *2 Valve Stem Cap
      *3 Valve Lash Adjuster Assembly
      *a Correct
      *b Incorrect

      Make sure that the No. 1 valve rocker arm sub-assemblies are installed as shown in the illustration.

    2. B005NB4C02
      *a Seal Packing

      Apply seal packing to the areas shown in the illustration.

      Seal Packing
      Toyota Genuine Seal Packing Black, Three Bond 1207B or equivalent
      Seal Diameter
      3.0 to 4.0 mm (0.118 to 0.157 in.)

      Note


      • Remove any oil from the contact surfaces.

      • Check and clean the bolts and bolt holes.

      • Install the camshaft housing sub-assembly within 3 minutes and tighten the bolts within 10 minutes of applying seal packing.

      • Do not add engine oil for at least 2 hours after installation.

      • Do not start the engine for at least 2 hours after installation.

    3. B005M0YC02
      *a Approximately 17°
      *b Approximately 2°
      *c Knock Pin

      Position the knock pin of the camshaft and No. 2 camshaft as shown in the illustration.

    4. B005M3PN02

      Install the camshaft housing sub-assembly, and then tighten the 22 bolts in the order shown in the illustration.

      Torque:
      27 N*m  { 275 kgf*cm, 20 ft.*lbf }

      Note

      If the bolts have been loosened during the installation, apply seal packing to the camshaft housing sub-assembly again.

  29. INSTALL OIL PIPE SUB-ASSEMBLY


    1. Install the oil pipe sub-assembly with the bolt.

      Torque:
      10 N*m  { 102 kgf*cm, 7 ft.*lbf }
  30. INSTALL CAMSHAFT TIMING GEAR ASSEMBLY

    Note

    There are several different types of camshaft timing gear bolt. Make sure to check the identification mark to determine the tightening torque.

    Identification Mark
    Item Identification Mark
    Type A A
    Type B C
    B005NESC01
    *a Identification Mark

    Tech Tips

    Perform "Inspection After Repair" after replacing the camshaft timing gear assembly.

    Click here


    1. B005Q5JC02
      *a Knock Pin Hole
      *b Knock Pin

      Align the knock pin of the camshaft with the knock pin hole of the camshaft timing gear assembly and fit the camshaft timing gear assembly to the camshaft.

    2. B005NQQC02
      *1 Camshaft Timing Gear Assembly
      *a Incorrect
      *b Correct
      *c Portion (A) of Camshaft
      *d No Gap

      Check that there is no gap between the camshaft timing gear assembly and portion (A) of the camshaft shown in the illustration.

    3. B005QEH

      Apply engine oil to the areas of the camshaft timing gear bolt shown in the illustration.

    4. Temporarily install the camshaft timing gear bolt.

      Tech Tips

      When temporarily installing the camshaft timing gear bolt, make sure that it is screwed in approximately 2 threads.

    5. B005QGQC02
      *a Hold
      B005NIZ Turn

      Using a wrench to hold the hexagonal portion of the camshaft, tighten the camshaft timing gear bolt.

      Torque:
      Type A
      120 N*m  { 1224 kgf*cm, 89 ft.*lbf }
      Type B
      95 N*m  { 969 kgf*cm, 70 ft.*lbf }

      Note

      Be careful not to damage the camshaft housing sub-assembly or spark plug tube with the wrench.

  31. INSTALL CAMSHAFT TIMING EXHAUST GEAR ASSEMBLY

    Tech Tips

    Perform "Inspection After Repair" after replacing the camshaft timing exhaust gear assembly.

    Click here


    1. B005P28C02
      *a Knock Pin Hole
      *b Knock Pin

      Align the knock pin of the No. 2 camshaft with the knock pin hole of the camshaft timing exhaust gear assembly and fit the camshaft timing exhaust gear assembly to the No. 2 camshaft.

    2. B005OPIC02
      *1 Camshaft Timing Exhaust Gear Assembly
      *a Incorrect
      *b Correct
      *c No. 2 Camshaft Flange
      *d No Gap

      Check that there is no gap between the camshaft timing exhaust gear assembly and No. 2 camshaft flange.

    3. B005MYOC02
      *a Hold
      B005NIZ Turn

      Use a wrench to hold the hexagonal portion of the No. 2 camshaft, install the bolt.

      Torque:
      85 N*m  { 867 kgf*cm, 63 ft.*lbf }

      Note

      Be careful not to damage the camshaft housing sub-assembly or spark plug tube with the wrench.

  32. INSTALL CRANKSHAFT TIMING SPROCKET


    1. Install the crankshaft timing sprocket to the crankshaft.

  33. ADD ENGINE OIL


    1. B0010FE

      Add 50 cc (3.1 cu. in.) of engine oil to the oil hole shown in the illustration.

      Note


      • Make sure to add oil if the valve lash adjuster assemblies were removed.

      • Make sure that the low pressure chamber and oil paths of the valve lash adjuster assemblies are filled with engine oil.

  34. INSTALL NO. 1 CHAIN VIBRATION DAMPER


    1. B005MLEN02

      Temporarily install the No. 1 chain vibration damper with the 2 bolts.

    2. Tighten the 2 bolts in the order shown in the illustration.

      Torque:
      21 N*m  { 214 kgf*cm, 15 ft.*lbf }
  35. INSTALL CHAIN SUB-ASSEMBLY


    1. Temporarily install the crankshaft pulley set bolt.

    2. B005L8JC02
      *1 Crankshaft Pulley Set Key

      Rotate the crankshaft 40° counterclockwise to position the crankshaft pulley set key as shown in the illustration.

    3. B005NXCC02
      *a Timing Mark
      *b Approximately 7°
      *c Approximately 32°

      Check that the timing marks of the camshaft timing gear assembly and camshaft timing exhaust gear assembly are positioned as shown in the illustration.

    4. Place the chain sub-assembly onto the camshaft timing gear assembly, camshaft timing exhaust gear assembly and crankshaft timing sprocket.

      Tech Tips


      • Make sure the mark plate of the chain sub-assembly is facing away from the front of the engine.

      • It is not necessary to engage the chain sub-assembly with the teeth of the camshaft timing gear assembly, camshaft timing exhaust gear assembly and crankshaft timing sprocket.

    5. B005LKYC02
      *a Mark Plate (Orange)
      *b Timing Mark

      Align the mark plate (orange) of the chain sub-assembly with the timing mark of the camshaft timing exhaust gear assembly and install the chain sub-assembly to the camshaft timing exhaust gear assembly.

    6. B005L8VC02
      *a Mark Plate (Yellow)
      *b Timing Mark

      Align the mark plate (yellow) of the chain sub-assembly with the timing mark of the crankshaft timing sprocket and install the chain sub-assembly to the crankshaft timing sprocket.

    7. B0010QX

      Tie a string above the crankshaft timing sprocket so that the chain sub-assembly is secure.

    8. B005ML9C02
      *a Mark Plate (Orange)
      *b Timing Mark

      Using a wrench, hold the hexagonal portion of the camshaft and rotate the camshaft counterclockwise to align the timing mark of the camshaft timing gear assembly with the mark plate (orange) of the chain sub-assembly and install the chain sub-assembly to the camshaft timing gear assembly.

      Tech Tips

      Hold the camshaft in place with a wrench until the No. 1 chain tensioner assembly is installed.

    9. B0010L6

      Remove the string above the crankshaft timing sprocket, rotate the crankshaft clockwise, and loosen the chain sub-assembly so that the chain tensioner slipper can be installed.

      Note

      Make sure the chain sub-assembly is secure.

  36. INSTALL CHAIN TENSIONER SLIPPER


    1. Install the chain tensioner slipper with the bolt.

      Torque:
      21 N*m  { 214 kgf*cm, 15 ft.*lbf }
  37. INSTALL NO. 1 CHAIN TENSIONER ASSEMBLY


    1. Install a new gasket and the No. 1 chain tensioner assembly with the bolt and nut.

      Torque:
      10 N*m  { 102 kgf*cm, 7 ft.*lbf }
    2. Remove the pin from the stopper plate.

  38. INSTALL TIMING CHAIN GUIDE


    1. Install the timing chain guide with the bolt.

      Torque:
      21 N*m  { 214 kgf*cm, 15 ft.*lbf }
  39. SET NO. 1 CYLINDER TO TDC/COMPRESSION

    Click here

  40. INSTALL TIMING CHAIN COVER PLATE


    1. Install a new gasket and the timing chain cover plate with the 4 bolts.

      Torque:
      10 N*m  { 102 kgf*cm, 7 ft.*lbf }
  41. INSTALL TIMING CHAIN COVER ASSEMBLY

    Click here

  42. INSTALL CAMSHAFT TIMING OIL CONTROL SOLENOID ASSEMBLY

    Click here

  43. INSTALL ENGINE MOUNTING BRACKET RH


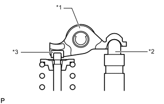
    1. B005O7BN01

      Install the engine mounting bracket RH with the 4 bolts in the order shown in the illustration.

      Torque:
      55 N*m  { 561 kgf*cm, 41 ft.*lbf }

      Note

      After applying seal packing to the timing chain cover assembly, install the engine mounting bracket RH within 10 minutes.

  44. INSTALL TIMING GEAR CASE OR TIMING CHAIN CASE OIL SEAL

    Click here

  45. INSTALL SPARK PLUG TUBE GASKET


    1. B005LE0C01
      *1 Spark Plug Tube Gasket
      *2 Cylinder Head Cover Sub-assembly
      *a No Gap

      Install 4 new spark plug tube gaskets to the cylinder head cover sub-assembly.

      Note


      • Do not install the spark plug tube gasket at an angle.

      • Keep the lip of the spark plug tube gasket free from foreign matter.

  46. INSTALL NO. 4 PCV HOSE


    1. Install the No. 4 PCV hose to the cylinder head cover sub-assembly and slide the clamp to secure it.

  47. INSTALL PCV HOSE


    1. Install the PCV hose to the cylinder head cover sub-assembly and slide the clamp to secure it.

  48. INSTALL CYLINDER HEAD COVER SUB-ASSEMBLY


    1. Apply a light coat of engine oil to 2 new gaskets and 2 camshaft position sensor.

    2. Install the 2 gaskets to the No. 1 camshaft bearing cap and No. 2 camshaft bearing cap.

    3. Install a new cylinder head cover gasket and No. 2 cylinder head cover gasket to the cylinder head cover sub-assembly.

    4. B005OR5C03
      *1 Timing Chain Cover Assembly
      *2 Camshaft Housing Sub-assembly
      *a Application Width: 8.0 mm (0.315 in.)
      *b Application Width: 5.0 mm (0.197 in.)
      *c Seal Diameter: 2.0 to 3.0 mm (0.0787 to 0.118 in.)
      B005NIZ Seal Packing

      Apply seal packing as shown in the illustration.

      Seal Packing
      Toyota Genuine Seal Packing Black, Three Bond 1207B or equivalent
      Standard Seal Diameter
      2.0 to 3.0 mm (0.0787 to 0.118 in.)

      Note


      • Remove any oil from the contact surface.

      • Install the cylinder head cover sub-assembly within 3 minutes and tighten the bolts within 15 minutes of applying seal packing.

      • Do not add engine oil for at least 2 hours after installation.

      • Do not start the engine for at least 2 hours after installation.

    5. Temporarily install the 21 bolts and 2 camshaft position sensors to the cylinder head cover sub-assembly.

    6. B005M94N01

      Tighten the 21 bolts and 2 camshaft position sensors in the order shown in the illustration.

      Torque:
      10 N*m  { 102 kgf*cm, 7 ft.*lbf }

      Note


      • When reusing the camshaft position sensor, check the O-rings.

      • Make sure that the O-ring is not cracked or jammed when installing it to the cylinder head cover sub-assembly.

      • If any of the parts are dropped or subjected to a strong impact, replace them with new ones.

  49. INSTALL CRANKSHAFT PULLEY ASSEMBLY


    1. Align the crankshaft pulley set key with the crankshaft pulley set key groove of the crankshaft pulley assembly.

    2. B005P6GC02
      *a Hold
      B005NIZ Turn

      Using SST, hold the crankshaft pulley assembly in place, tighten the crankshaft pulley set bolt.

      SST
      09213-54015
      09330-00021
      Torque:
      260 N*m  { 2651 kgf*cm, 192 ft.*lbf }

      Tech Tips

      Part number of installation bolt for SST (crankshaft pulley holding tool): 91551-80650 (quantity: 2)

  50. INSTALL NO. 1 PCV CASE


    1. B005MKEC02
      *a Seal Packing

      Apply seal packing to a new No. 1 PCV case as shown in the illustration.

      Seal Packing
      Toyota Genuine Seal Packing Black, Three Bond 1207B or equivalent
      Seal Diameter
      2.5 to 3.5 mm (0.0984 to 0.138 in.)

      Note


      • Do not reuse the No. 1 PCV case.

      • Remove any oil from the contact surface.

      • Install the No. 1 PCV case within 3 minutes and tighten the bolts and nuts within 15 minutes of applying seal packing.

      • Do not add engine oil within 2 hours of installation.

      • Do not start the engine for at least 2 hours after installation.

      Tech Tips

      Make sure to apply seal packing so that there are no gaps in the areas (A) in the illustration.

    2. B005NSEN02

      Install the No. 1 PCV case, and then install the 6 bolts and 2 nuts in the order shown in the illustration.

      Torque:
      21 N*m  { 214 kgf*cm, 15 ft.*lbf }
  51. INSTALL PCV VALVE SUB-ASSEMBLY

    Click here

  52. INSTALL CAMSHAFT TIMING OIL CONTROL VALVE ASSEMBLY

    Click here

  53. INSTALL OIL PRESSURE SENDER GAGE ASSEMBLY

    Click here

  54. INSTALL ENGINE COOLANT TEMPERATURE SENSOR

    Click here

  55. INSTALL KNOCK SENSOR

    Click here

  56. INSTALL SPARK PLUG

    Click here

  57. INSTALL THERMOSTAT (for Cylinder Block)

    Click here

  58. INSTALL WATER INLET HOUSING

    Click here

  59. INSTALL OIL PRESSURE SWITCHING VALVE ASSEMBLY

    Click here

  60. INSTALL NO. 4 WATER BY-PASS PIPE


    1. B005LNSC02
      *a Bolt
      *b Nut

      Install a new gasket and No. 4 water by-pass pipe with the 2 nuts and bolt.

      Torque:
      Nut
      10 N*m  { 102 kgf*cm, 7 ft.*lbf }
      Bolt
      21 N*m  { 214 kgf*cm, 15 ft.*lbf }
    2. Connect the No. 4 water by-pass hose to the oil cooler assembly and slide the clip to secure it.

  61. INSTALL NO. 1 WATER BY-PASS PIPE

    Click here

  62. INSTALL NO. 4 EXHAUST MANIFOLD HEAT INSULATOR

    Click here

  63. INSTALL NO. 3 EXHAUST MANIFOLD HEAT INSULATOR

    Click here

  64. INSTALL ENGINE OIL LEVEL DIPSTICK GUIDE

    Click here

  65. INSTALL VACUUM PUMP ASSEMBLY

    Click here

  66. INSTALL FUEL INJECTOR SEAL (for Direct Injection)

    Click here

  67. INSTALL DIRECT FUEL INJECTOR ASSEMBLY (for Direct Injection)

    Click here

  68. INSTALL FUEL DELIVERY PIPE SUB-ASSEMBLY (for Direct Injection)

    Click here

  69. INSTALL PORT FUEL INJECTOR ASSEMBLY (for Port Injection)

    Click here

  70. INSTALL FUEL DELIVERY PIPE (for Port Injection)

    Click here

  71. TEMPORARILY INSTALL FUEL PUMP ASSEMBLY (for High Pressure)

    Click here

  72. TEMPORARILY INSTALL NO. 1 FUEL PIPE SUB-ASSEMBLY (for High Pressure)

    Click here

  73. INSTALL FUEL PUMP ASSEMBLY (for High Pressure)

    Click here

  74. INSTALL NO. 1 FUEL PIPE SUB-ASSEMBLY (for High Pressure)

    Click here