FRONT SHOCK ABSORBER ON-VEHICLE INSPECTION

CAUTION / NOTICE / HINT

Note


  • Set the wiper to the maintenance position so that the windshield wiper motor and link assembly does not block access to the front shock absorber nut.

  • Complete the operation to set the wipers to the service position within 2 seconds of turning the engine switch off.

  • If wiper not moved, please retry it from turn the engine switch on (IG)

For setting to the maintenance position
Turn the engine switch on (IG) → Turn the engine switch off → Operate the wiper mist 6 times
For returning to the normal park position
Turn the engine switch on (IG) → Operate the wiper switch to any position

Tech Tips


  • Use the same procedure for the RH side and LH side.

  • The following procedure is for the LH side.

PROCEDURE


  1. REMOVE COWL TOP SILENCER PAD


    1. A01RAKBC01
      *a Protective Tape

      Using a screwdriver with its tip wrapped with protective tape, disengage each claw to remove the 3 cowl top silencer pads from the cowl top ventilator louver sub-assembly.

  2. INSPECT FRONT SHOCK ABSORBER ASSEMBLY


    1. A01RDTR

      Using a 14 mm deep socket wrench, inspect the front shock absorber nut.

      Torque:
      85 N*m  { 867 kgf*cm, 63 ft.*lbf }
  3. INSTALL COWL TOP SILENCER PAD


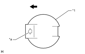
    1. A01REIIC02
      *1 Cowl Top Silencer Pad
      *a Arrow
      B005NIZ Inside of the Vehicle

      Engage each claw to install the 3 cowl top silencer pads to the cowl top ventilator louver sub-assembly.

      Note

      Make sure to install the cowl top silencer pad with the arrow facing the inside of the vehicle.