REAR WHEEL ALIGNMENT ADJUSTMENT

CAUTION / NOTICE / HINT

The necessary procedures (adjustment, calibration, initialization, or registration) that must be performed after completing the rear wheel alignment procedure are shown below.

Necessary Procedures After Procedure Performed
Replaced Part or Performed Procedure Necessary Procedure Effect/Inoperative Function when Necessary Procedure not Performed Link
Rear wheel alignment adjustment
  1. Clear zero point calibration data and system information.

  2. Perform yaw rate and acceleration sensor zero point calibration and store system information.


  • VSC disabled or malfunctions

  • DTCs are stored

  • Slip indicator light illuminates

  • ABS warning light illuminates

  • Theft deterrent system (tilt sensor)*1

Click here

*1: w/ TFT Meter Type

PROCEDURE


  1. INSPECT TIRES

    Click here

  2. MEASURE VEHICLE HEIGHT

    Click here

  3. INSPECT CAMBER

    Note

    Inspect while the vehicle is unloaded.


    1. B005NJ6C10
      *a Camber-caster-kingpin Gauge

      Install a camber-caster-kingpin gauge.

    2. Inspect the camber.

      Camber (Unloaded Vehicle)
      - Camber Inclination Right-left Difference
      w/o Rear No. 2 Seat -0°35' +/- 0°45' (-0.58° +/- 0.75°) 0°45' (0.75°) or less
      w/ Rear No. 2 Seat -0°33' +/- 0°45' (-0.55° +/- 0.75°)

      Tech Tips

      Camber is not adjustable. If the measurement is not within the specified range, inspect the suspension parts for damage and/or wear, and replace them if necessary.

  4. INSPECT TOE-IN

    Note

    Inspect while the vehicle is unloaded.


    1. Bounce the vehicle up and down at the corners to stabilize the suspension.

    2. Release the parking brake and move the shift lever to N.

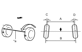
    3. Push the vehicle straight ahead approximately 5 m (16.4 ft.). (Step A)

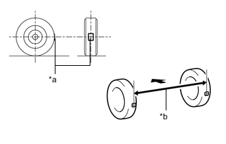
    4. B005NZJC02
      *a Tread Center Mark
      *b Dimension B
      B005NIZ Front of the Vehicle

      Put tread center marks on the rearmost points of the rear wheels and measure the distance between the marks (dimension B).

    5. Slowly push the vehicle straight ahead to cause the rear wheels to rotate 180°. Use the rear tire valve as a reference point.

      Tech Tips

      Do not allow the wheels to rotate more than 180°. If the wheels rotate more than 180°, perform the procedure from step A again.

    6. B005OJMC02
      *a Dimension A
      B005NIZ Front of the Vehicle

      Measure the distance between the tread center marks on the front of the rear wheels (dimension A).

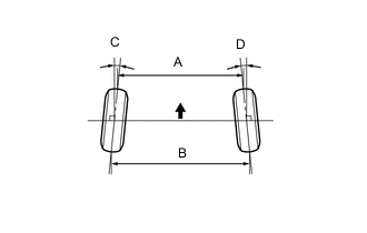
      Toe-in (Unloaded Vehicle)
      Specified Condition
      C + D: 0°00' +/- 0°10' (0.00° +/- 0.17°)
      B - A: 0 +/- 2.0 mm (0 +/- 0.0787 in.)

      Tech Tips

      Measure "B - A" only when "C + D" cannot be measured.

      If the toe-in is not within the specified range, adjust it at the rear suspension toe adjust cam sub-assembly.

  5. ADJUST TOE-IN


    1. B005N5MC01
      *A for LH Side
      *B for RH Side

      Loosen the nut of the rear No. 2 suspension arm assembly (on the rear suspension member sub-assembly side).

      Note

      Hold the rear suspension toe adjust cam sub-assembly while rotating the nut.

    2. B005OYOC07
      B005NIZ Front of the Vehicle

      Rotate the rear suspension toe adjust cam sub-assembly to adjust the toe-in.

      Toe-in (Unloaded Vehicle)
      Specified Condition
      C + D: 0°00' +/- 0°10' (0.00° +/- 0.17°)
      B - A: 0 +/- 2.0 mm (0 +/- 0.0787 in.)

      Tech Tips


      • Rotating the rear suspension toe adjust cam sub-assembly by one notch changes the toe by approximately 2.1 mm (0.0827 in.).

      • Perform adjustments so that the value is as close as possible to the median of the specified range.

    3. Tighten the nut of the rear No. 2 suspension arm assembly (on the rear suspension member sub-assembly side).

      Torque:
      100 N*m  { 1020 kgf*cm, 74 ft.*lbf }

      Note

      Hold the rear suspension toe adjust cam sub-assembly while rotating the nut.

  6. ALIGN FRONT WHEELS FACING STRAIGHT AHEAD

  7. PERFORM YAW RATE AND ACCELERATION SENSOR ZERO POINT CALIBRATION AND STORE SYSTEM INFORMATION

    Click here