ELECTRIC PARKING BRAKE SYSTEM TEST MODE PROCEDURE


  1. REAR BRAKE PAD REPLACEMENT MODE

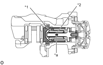
    A005NOOC01
    *1 Rear Disc Brake Piston
    *2 Nut
    *a The nut moves inward in pad replacement mode

    Tech Tips

    When replacing the rear disc brake pad and rear disc, since the nut inside the rear disc brake cylinder assembly is in an advanced position, it is necessary to move the nut back inside the cylinder. The nut can be moved back using pad replacement mode.


    1. Pad replacement mode


        When Using the GTS:

      1. Turn the power switch off.

      2. Connect the GTS to the DLC3.

      3. Turn the power switch on (IG).

      4. Turn the GTS on.

      5. Enter the following menus: Chassis / Electric Parking Brake / Utility / Check Mode.

      6. Follow the GTS display and select "Next".

      7. Push and hold the electric parking brake switch (electric parking brake switch assembly) to the release side for 5 seconds or more.

        Note


        • Make sure to perform this procedure with the power switch on (IG).

        • Make sure that the brake pedal is not depressed when performing this procedure.

        • When the system changes to pad replacement mode, DTC C13A7/43 may be stored. If the DTC is stored, clear the DTCs after the procedure (rear brake pad replacement, etc.) is complete.

        Tech Tips

        The parking brake indicator light flashes (red) (0.25 second intervals). After a short time, the parking brake actuator assembly operates (if the parking brake is engaged, the motor will operate to disengage the parking brake, and then will operate again). Once the parking brake actuator assembly is in the pad replacement position, the parking brake indicator light flashes (red) (1 second intervals).


      Chassis > Electric Parking Brake > Utility
      Tester Display
      Check Mode

        When not Using the GTS:

      1. Turn the power switch off.

      2. Turn the power switch on (IG).

      3. Within 8 seconds, operate the electric parking brake switch (electric parking brake switch assembly) to perform 3 lock side ON operations (from off (release) to on (pull)) and then 3 release side ON operations (from off (release) to on (push)).

        Note


        • If the operation is performed too quickly, the system may not respond. If the system does not respond, perform the operation again at a slower speed.

        • The parking brake must be released.

        Tech Tips

        The parking brake indicator light (red) flashes (0.25 second intervals).

      4. Push and hold the electric parking brake switch (electric parking brake switch assembly) to the release side for 5 seconds or more.

        Note


        • Make sure to perform this procedure with the power switch on (IG).

        • Make sure that the brake pedal is not depressed when performing this procedure.

        • When the system changes to pad replacement mode, DTC C13A7/43 may be stored. If the DTC is stored, clear the DTCs after the procedure (rear brake pad replacement, etc.) is complete.

        Tech Tips

        After a short time passes, the parking brake actuator assembly operates (if operated from the parking brake locked condition, the motor of the parking brake actuator assembly is temporarily stopped after being operated, and then operation starts again), and once the assembly finishes operating, the parking brake indicator light (red) flashes slowly (1 second intervals). (Nut moves back inside the cylinder and system enters pad replacement mode).

    2. Turn the power switch off.

      Note

      Do not operate the electric parking brake switch (electric parking brake switch assembly) until the procedure is complete. If operated, the system will return to its normal condition.


        When Using the GTS:

      1. Disconnect the GTS from the DLC3.

    3. Normal condition recovery


      1. After the procedure (rear brake pad replacement, etc.) is complete, turn the power switch on (IG) and pull the electric parking brake switch (electric parking brake switch assembly) to the lock side for 5 seconds or more.

        Note


        • When performing work (replacing the rear brake pad, etc.), do not operate the electric parking brake switch (electric parking brake switch assembly) or turn the power switch on (IG) and operate the shift lever. If the electric parking brake switch (electric parking brake switch assembly) or shift lever is operated, the parking brake may operate and the rear disc brake piston may fall off. Also, make sure to disconnect the connector of the parking brake actuator assembly or disconnect the cable from the negative (-) auxiliary battery terminal.

        • When DTC C13A7/43 is stored, clear the DTCs.