СИСТЕМА УПРАВЛЕНИЯ ЭЛЕКТРИЧЕСКИМИ СТЕКЛОПОДЪЕМНИКАМИ ПРОВЕРКА РАБОТЫ СИСТЕМЫ


  1. ПРОВЕРЬТЕ ВЫКЛЮЧАТЕЛЬ БЛОКИРОВКИ СТЕКЛОПОДЪЕМНИКОВ

    A01W1CU

    Tech Tips

    Перед выполнением проверки работы выключателя блокировки стеклоподъемников убедитесь, что он выключен (не нажат).


    1. Нажав выключатель блокировки стеклоподъемников главного переключателя сети мультиплексной связи, убедитесь, что стеклоподъемники двери переднего пассажира и задних дверей заблокированы.

    2. Нажмите выключатель блокировки стеклоподъемников еще раз и убедитесь. что стеклоподъемники двери переднего пассажира и задних дверей работают нормально.

    3. ПРОВЕРЬТЕ ФУНКЦИЮ РУЧНОГО ПОДЪЕМА/ОПУСКАНИЯ


      1. Убедитесь, что стеклоподъемник окна двери водителя работает следующим образом:

    4. OK
      Условие Главный выключатель Управление переключателем Power Window
      Выключатель зажигания в состоянии ON (ВКЛ) (IG) Выключатель освещения Наполовину поднят вверх Подъем (окно закрывается)
      Наполовину нажат вниз Опускание (окно открывается)
  2. Убедитесь, что электрические стеклоподъемники двери переднего пассажира и задних дверей работают следующим образом:

    OK
    Условие Переключатель стеклоподъемника Управление переключателем Power Window

    • Выключатель зажигания в состоянии ON (ВКЛ) (IG)

    • Выключатель блокировки электрических стеклоподъемников выключен

    Дверь переднего пассажира Наполовину поднят вверх Подъем (окно закрывается)
    Наполовину нажат вниз Опускание (окно открывается)
    Левая задняя дверь Наполовину поднят вверх Подъем (окно закрывается)
    Наполовину нажат вниз Опускание (окно открывается)
    Правая задняя дверь Наполовину поднят вверх Подъем (окно закрывается)
    Наполовину нажат вниз Опускание (окно открывается)
  • ПРОВЕРЬТЕ ФУНКЦИЮ АВТОМАТИЧЕСКОГО ПОДЪЕМА/ОПУСКАНИЯ


    1. Убедитесь, что стеклоподъемник окна двери водителя работает следующим образом:

      OK
      Условие Главный выключатель Управление переключателем Электрические стеклоподъемники
      Выключатель зажигания в состоянии ON (ВКЛ) (IG) Выключатель освещения Поднят (функция одного касания) Автоматический подъем (окно закрывается)
      Нажат (функция одного касания) Автоматическое опускание (окно открывается)
    2. Убедитесь, что электрические стеклоподъемники двери переднего пассажира и задних дверей работают следующим образом:

      OK
      Условие Переключатель стеклоподъемника Управление переключателем Электрические стеклоподъемники

      • Выключатель зажигания в состоянии ON (ВКЛ) (IG)

      • Выключатель блокировки электрических стеклоподъемников выключен

      Дверь переднего пассажира Поднят (функция одного касания) Автоматический подъем (окно закрывается)
      Нажат (функция одного касания) Автоматическое опускание (окно открывается)
      Левая задняя дверь Поднят (функция одного касания) Автоматический подъем (окно закрывается)
      Нажат (функция одного касания) Автоматическое опускание (окно открывается)
      Правая задняя дверь Поднят (функция одного касания) Автоматический подъем (окно закрывается)
      Нажат (функция одного касания) Автоматическое опускание (окно открывается)
  • ПРОВЕРЬТЕ ФУНКЦИЮ ДИСТАНЦИОННОГО РУЧНОГО ПОДЪЕМА/ОПУСКАНИЯ


    1. Убедитесь, что электрические стеклоподъемники двери переднего пассажира и задних дверей работают следующим образом:

      OK
      Условие Главный выключатель Управление выключателем Электрические стеклоподъемники

      • Выключатель зажигания в состоянии ON (ВКЛ) (IG)

      • Выключатель блокировки электрических стеклоподъемников выключен

      Дверь переднего пассажира Наполовину поднят вверх Подъем (окно закрывается)
      Наполовину нажат вниз Опускание (окно открывается)
      Левая задняя дверь Наполовину поднят вверх Подъем (окно закрывается)
      Наполовину нажат вниз Опускание (окно открывается)
      Правая задняя дверь Наполовину поднят вверх Подъем (окно закрывается)
      Наполовину нажат вниз Опускание (окно открывается)
  • ПРОВЕРЬТЕ ФУНКЦИЮ ДИСТАНЦИОННОГО АВТОМАТИЧЕСКОГО ПОДЪЕМА/ОПУСКАНИЯ


    1. Убедитесь, что электрические стеклоподъемники двери переднего пассажира и задних дверей работают следующим образом:

      OK
      Условие Главный выключатель Управление выключателем Электрические стеклоподъемники

      • Выключатель зажигания в состоянии ON (ВКЛ) (IG)

      • Выключатель блокировки электрических стеклоподъемников выключен

      Дверь переднего пассажира Поднят (функция одного касания) Автоматический подъем (окно закрывается)
      Нажат (функция одного касания) Автоматическое опускание (окно открывается)
      Левая задняя дверь Поднят (функция одного касания) Автоматический подъем (окно закрывается)
      Нажат (функция одного касания) Автоматическое опускание (окно открывается)
      Правая задняя дверь Поднят (функция одного касания) Автоматический подъем (окно закрывается)
      Нажат (функция одного касания) Автоматическое опускание (окно открывается)
  • ПРОВЕРЬТЕ ФУНКЦИЮ УПРАВЛЕНИЯ СТЕКЛОПОДЪЕМНИКАМИ ПОСЛЕ ВЫКЛЮЧЕНИЯ ЗАЖИГАНИЯ


    1. Убедитесь в том, что после выключения зажигания остается возможность управлять всеми электрическими стеклоподъемниками с помощью главного переключателя сети мультиплексной связи и переключателей электрических стеклоподъемников (для двери переднего пассажира, а также левой и правой задних дверей).

      Tech Tips

      Когда выключатель блокировки стеклоподъемников включен, управление электрическими стеклоподъемниками, кроме стеклоподъемника двери водителя, невозможно. Поэтому выключите выключатель блокировки стеклоподъемников перед проверкой работы стеклоподъемников.

    2. Убедитесь, что функция управления при выключении питания не работает после открывания двери со стороны водителя или переднего пассажира.

      Tech Tips

      Если при действующей функции управления при выключении питания во время автоматического управления стеклоподъемником открывается дверь водителя или переднего пассажира, стеклоподъемник продолжает работать.

    3. Убедитесь, что по истечении примерно 43 секунд с момента выключения зажигания управление всеми электрическими стеклоподъемниками блокируется.

  • ПРОВЕРЬТЕ ФУНКЦИЮ РУЧНОГО ПОДЪЕМА/ОПУСКАНИЯ С ПОМОЩЬЮ ЦИЛИНДРА ЗАМКА ДВЕРИ СО СТОРОНЫ ВОДИТЕЛЯ*


    • *: эта функция является настраиваемой функцией и по умолчанию выключена.


    1. Убедитесь, что все электрические стеклоподъемники работают следующим образом:

      OK
      Условие Управление цилиндром дверного замка Электрический стеклоподъемник
      В салоне автомобиля ключ отсутствует, и все двери закрыты Ключ установлен в положение блокировки и удерживается в нем в течение более 1,5 с Подъем (окно закрывается)
      В салоне автомобиля ключ отсутствует, и все двери закрыты Возвращен в нейтральное положение STOP
      В салоне автомобиля ключ отсутствует, и все двери закрыты Ключ установлен в положение разблокировки и удерживается в нем в течение более 1,5 с Опускание (окно открывается)
      В салоне автомобиля ключ отсутствует, и все двери закрыты Возвращен в нейтральное положение STOP
  • ПРОВЕРЬТЕ ФУНКЦИЮ ДИСТАНЦИОННОГО УПРАВЛЕНИЯ С ПОМОЩЬЮ ПЕРЕДАТЧИКА*


    • *: эта функция является настраиваемой функцией и по умолчанию выключена.


    1. Убедитесь, что все электрические стеклоподъемники работают следующим образом при управлении с передатчика электронного ключа:

      OK
      Условие Управление с передатчика Электрические стеклоподъемники
      В салоне автомобиля ключ отсутствует, и все двери закрыты и заблокированы. Выключатель LOCK (ЗАБЛОКИР) нажат более 2,4 с Подъем (окно закрывается)
      В салоне автомобиля ключ отсутствует, и все двери закрыты и заблокированы. Выключатель LOCK (ЗАБЛОКИР) отпущен STOP
      В салоне автомобиля ключ отсутствует, и все двери закрыты и заблокированы. Выключатель UNLOCK (ЗАБЛОКИР) нажат более 2,4 с Опускание (окно открывается)
      В салоне автомобиля ключ отсутствует, и все двери закрыты и заблокированы. Отпущен выключатель разблокировки STOP
  • ПРОВЕРЬТЕ ФУНКЦИЮ ТРАВМОБЕЗОПАСНОСТИ


    1. Проверьте основные функции.

      CAUTION:

      Не помещайте пальцы между рамой двери и дверным стеклом для проверки функции травмобезопасности. Кроме того, остерегайтесь защемления конечностей и других частей тела во время проверки.

      Tech Tips

      Функция травмобезопасности действует при автоматическом и ручном подъеме стекла во время работы двигателя или при включенном зажигании (IG), а также в течение примерно 43 с после выключения зажигания.


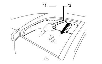
      1. Полностью откройте окно.

      2. A01W44GE01
        Обозначения на рисунке
        *1 Проверочная линейка
        *2 Ткань

        Расположите обмотанный куском ткани деревянный брусок рядом с верхним краем окна.

      3. Приведите в действие функцию автоматического или ручного подъема и убедитесь, что когда брусок зажимается между стеклом и дверной рамой, стекло начинает опускаться, останавливаясь, когда размер проема оказывается равным примерно 200 мм (7,87 дюйма), либо приблизительно через 5 с.

        Tech Tips

        Если брусок зажимается при высоте проема не менее 75 мм (2,95 дюйма), стекло опускается примерно на 125 мм (4,93 дюйма), либо пока не пройдет приблизительно 2,5 с.

      4. В процессе опускания электрического стеклоподъемника убедитесь, что стекло не поднимается даже с помощью переключателя электрических стеклоподъемников.

  • ПРОВЕРЬТЕ ФУНКЦИЮ ТРАВМОБЕЗОПАСНОСТИ С ОСТАНОВКОЙ СТЕКЛА


    1. A01W4JU

      Проверьте основные функции.

      Tech Tips

      Функция травмобезопасности с остановкой стекла действует при автоматическом и ручном опускании стекла во время работы двигателя или при включенном зажигании (IG), а также в течение примерно 43 с после выключения зажигания.


      1. Полностью закройте окно

      2. При открывании окна с помощью функции автоматического или ручного опускания задержите верхний край стекла двери одной или двумя руками и убедитесь, что электрический стеклоподъемник останавливается.

        Tech Tips

        После срабатывания функции травмобезопасности с остановкой стекла при выполнении операции автоматического или ручного опускания эта функция не срабатывает снова, если ручной подъем производится не позднее чем через 4 с.

  • ПРОВЕРЬТЕ ПРЕДУПРЕЖДЕНИЕ ОБ ОТКРЫТОМ ОКНЕ


    1. Откройте окно с помощью переключатель электрического стеклоподъемника.

    2. Если при переводе выключателя зажигания из включенного (IG) состояния в выключенное дверь водителя открыта, а ключ находится в автомобиле, предупредительный зуммер в щитке приборов подает один звуковой сигнал. Затем проверьте, что мультиинформационный дисплей на щитке отображает "Window opened".

  • ПРОВЕРЬТЕ СВЕТОДИОДНУЮ ПОДСВЕТКУ ПЕРЕКЛЮЧАТЕЛЯ ЭЛЕКТРИЧЕСКИХ СТЕКЛОПОДЪЕМНИКОВ


    1. Проверьте, работу светодиодов (главного переключателя сети мультиплексной связи в сборе).


      1. Убедитесь, что светодиоды на главном переключателе сети мультиплексной связи в сборе загораются при включении зажигания (IG).

    2. Проверьте, горит ли светодиод (на переключателе электрического стеклоподъемника двери переднего пассажира).


      1. Убедитесь, что светодиод на переключателе электрического стеклоподъемника двери переднего пассажира загорается при включении зажигания (IG).

    3. Проверьте, горит ли светодиод (на переключателе электрического стеклоподъемника левой и правой задней двери).


      1. Убедитесь, что светодиоды на каждом переключателе электрического стеклоподъемника (левой и правой задних дверей) загораются при включении зажигания (IG).