СИСТЕМА ПЕРЕДАЧИ ДАННЫХ CAN (для моделей без ЭБУ центрального сетевого шлюза) ОПИСАНИЕ СИСТЕМЫ


  1. КРАТКОЕ ОПИСАНИЕ


    1. Мультиплексная шина CAN (Controller Area Network – локальная сеть контроллеров) – это последовательная система обмена данными, работающая в реальном времени. Система мультиплексной связи автомобиля имеет высокую скорость передачи данных и выполняет функцию обнаружения неисправностей.

      A01W3BEE01
    2. Передача данных по шине CAN производится с помощью пары линий CANH и CANL, причем полезным сигналом является разность напряжений. (На пару линий подается базовое напряжение, а при передаче данных создается разность потенциалов.)

    3. Большинство установленных на автомобиле блоков ЭБУ и датчиков работают, поддерживая совместный доступ к данным и обмен данными между собой.

    4. Система CAN имеет два резистора сопротивлением 120 Ом, которые необходимы для обмена данными.

  2. ОПРЕДЕЛЕНИЕ ТЕРМИНОВ


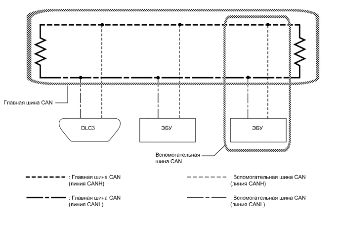
    1. Главная шина


      1. Главной шиной называется жгут проводов между двумя нагрузочными сопротивлениями на шине. Это – главная шина в системе передачи данных CAN.

    2. Боковой


      1. Вспомогательной шиной называется жгут проводов, отходящий от главной шины к ЭБУ или датчику.

    3. Нагрузочные сопротивления


      1. На концах главной шины CAN установлены два параллельных резистора сопротивлением 120 Ом. Они называются нагрузочными сопротивлениями. Эти сопротивления позволяют точно оценивать изменения дифференциального напряжения между линиями шины CAN. Чтобы шина CAN работала должным образом, должны быть установлены оба нагрузочных сопротивления. Поскольку два резистора установлены параллельно, результат измерения составляет приблизительно 60 Ом.

  3. ЭБУ И ДАТЧИКИ, КОТОРЫЕ ОСУЩЕСТВЛЯЮТ ОБМЕН ДАННЫМИ ЧЕРЕЗ СИСТЕМУ CAN (для моделей с левосторонним рулевым управлением)


    1. Шина V


      1. Щиток приборов в сборе

      2. ЭБУ рулевого управления с усилителем с электродвигателем в сборе

      3. Главный ЭБУ кузова (бортовой ЭБУ сети мультиплексной связи)

      4. Датчик положения рулевого колеса

      5. Блок управления системы SRS

      6. ECM

      7. Блок управления рабочими цилиндрами тормозов в сборе (ЭБУ системы противоскольжения)

      8. Блок управления системой кондиционирования в сборе

      9. ЭБУ сертификации (ЭБУ электронного ключа зажигания в сборе)

      10. Радиоприемник в сборе*1*2

      11. ЭБУ предупреждения о недопустимой дистанции

      12. Приемопередатчик системы обработки и передачи информации*3

      13. ЭБУ запуска и останова двигателя*4

      14. ЭБУ системы управления уровнем фар (ЭБУ устройства поворота фар)

    2. Вспомогательная шина 1


      1. Главный ЭБУ кузова (бортовой ЭБУ сети мультиплексной связи)

      2. ЭБУ электропривода наружного зеркала в сборе (со стороны водителя)*9

      3. ЭБУ электропривода наружного зеркала в сборе (со стороны переднего пассажира)*9

      4. Переключатель электропривода левого переднего сиденья*5

      5. Переключатель электропривода правого переднего сиденья*5

      6. Мультиплексный ЭБУ регулировки наклона и телескопического изменения высоты*6

      7. Электродвигатель доводчика двери багажного отделения*7

      8. Задняя телекамера в сборе*8

        Tech Tips

        *1: для моделей с приемником системы навигации

        *2: для моделей с радиоприемником с дисплеем

        *3: для моделей с приемопередатчиком системы обработки и передачи информации

        *4: для моделей с 6AR-FSE

        *5: для моделей с системой запоминания положения сиденья

        *6: для моделей с наклонной телескопической рулевой колонкой с электроприводом

        *7: для моделей с системой двери багажного отделения с электроприводом

        *8: для моделей с радиоприемником с дисплеем (с мониторной системой помощи при парковке без системы помощи при парковке в ряд)

        *9: для моделей с функцией изменения положения зеркал при включении передачи заднего хода

  4. ЭБУ И ДАТЧИКИ, КОТОРЫЕ ОСУЩЕСТВЛЯЮТ ОБМЕН ДАННЫМИ ЧЕРЕЗ СИСТЕМУ CAN (для моделей с правосторонним рулевым управлением)


    1. Шина V


      1. Щиток приборов в сборе

      2. ЭБУ рулевого управления с усилителем с электродвигателем в сборе

      3. Главный ЭБУ кузова (бортовой ЭБУ сети мультиплексной связи)

      4. Датчик положения рулевого колеса

      5. Блок управления системы SRS

      6. ECM

      7. Блок управления рабочими цилиндрами тормозов в сборе (ЭБУ системы противоскольжения)

      8. Блок управления системой кондиционирования в сборе

      9. ЭБУ сертификации (ЭБУ электронного ключа зажигания в сборе)

      10. Радиоприемник в сборе*1*2

      11. ЭБУ предупреждения о недопустимой дистанции

      12. ЭБУ системы управления уровнем фар (ЭБУ устройства поворота фар)

    2. Вспомогательная шина 1


      1. Главный ЭБУ кузова (бортовой ЭБУ сети мультиплексной связи)

      2. ЭБУ электропривода наружного зеркала в сборе (со стороны водителя)

      3. ЭБУ электропривода наружного зеркала в сборе (со стороны переднего пассажира)

      4. Переключатель электропривода левого переднего сиденья*3

      5. Переключатель электропривода правого переднего сиденья

      6. Мультиплексный ЭБУ регулировки наклона и телескопического изменения высоты*4

      7. Электродвигатель доводчика двери багажного отделения*5

      8. Задняя телекамера в сборе*6

        Tech Tips

        *1: для моделей с приемником системы навигации

        *2: для моделей с радиоприемником с дисплеем

        *3: для моделей с системой запоминания положений сидений (со стороны переднего пассажира)

        *4: для моделей с наклонной телескопической рулевой колонкой с электроприводом

        *5: Для моделей с системой двери багажного отделения с электроприводом

        *6: для моделей с радиоприемником с дисплеем (с мониторной системой помощи при парковке без системы помощи при парковке в ряд)

  5. ОПИСАНИЕ ЦЕПИ


    1. Шина V и вспомогательная шина 1 имеют конечные цепи с двумя резисторами по 120 Ом.

  6. ЗАМЕЧАНИЯ ПО ПОИСКУ НЕИСПРАВНОСТЕЙ


    1. Коды DTC системы передачи данных CAN можно проверить с помощью GTS. Несмотря на то, что разъем DLC3 подсоединен к системе передачи данных CAN, кодов DTC для неисправностей в разъеме DLC3 или вспомогательных шинах DLC3 не существует. При наличии неисправности в разъеме DLC3 или вспомогательных шинах DLC3 блоки ЭБУ, подключенные к шине CAN, не могут выводить коды DTC на GTS.

    2. Неисправности в шине V (линиях передачи данных) CAN можно проверить, измерив сопротивление между контактами разъема DLC3. Тем не менее, обрыв в цепи вспомогательной шины, отличной от вспомогательных шин DLC3, нельзя выявить с помощью DLC3 (кроме вспомогательной шины DLC3).

      Note

      Не вставляйте щупы измерительного прибора непосредственно в разъем DLC3. Пользуйтесь технологическими проводами.

  7. ДИАГНОСТИЧЕСКИЕ КОДЫ НЕИСПРАВНОСТЕЙ ДЛЯ СИСТЕМЫ ПЕРЕДАЧИ ДАННЫХ CAN

    Tech Tips

    См. раздел "Система диагностики" (стр. Click here).

  8. КАК РАЗЛИЧАТЬ РАЗЪЕМЫ РАСПРЕДЕЛИТЕЛЬНОГО БЛОКА ШИНЫ CAN


    1. В системе передачи данных CAN все разъемы, подключенные к распределительному блоку шины CAN, имеющему контакт заземления, имеют одинаковую форму. Разъемы, подключенные к распределительному блоку шины CAN, можно различать по цвету шин и соединительной части распределительного блока.

      Tech Tips

      См. раздел "КОНТАКТЫ ЭБУ" (см. стр. Click here) для определения цвета шин или формы разъемов.