СИСТЕМА ЗАРЯДКИ АККУМУЛЯТОРНОЙ БАТАРЕИ ПРОВЕРКА БЕЗ СНЯТИЯ С АВТОМОБИЛЯ

ПОРЯДОК ВЫПОЛНЕНИЯ


  1. ПРОВЕРЬТЕ СОСТОЯНИЕ АККУМУЛЯТОРНОЙ БАТАРЕИ

    Note

    При низком заряде аккумуляторной батареи, или если двигатель запускается с трудом, зарядите аккумуляторную батарею и снова выполните проверку перед тем, как вернуть автомобиль клиенту.


    1. Убедитесь, что аккумуляторная батарея не повреждена и не деформирована. В случае наличия серьезных повреждений, деформации или утечки воды замените аккумуляторную батарею.

    2. Проверьте уровень электролита в каждом элементе батареи.


      1. Для необслуживаемых аккумуляторных батарей:


        • Если уровень электролита ниже минимально допустимого, замените аккумуляторную батарею.

        • Если уровень электролита выше минимально допустимого, измерьте напряжение аккумуляторной батареи во время прокручивания коленчатого вала двигателя. Если напряжение ниже 9,6 В, зарядите или замените аккумуляторную батарею.

          Tech Tips

          Перед проверкой напряжения аккумуляторной батареи выключите все электрооборудование (фары, электродвигатель вентилятора, обогреватель заднего стекла и т. д.)

      2. Для обслуживаемых аккумуляторных батарей:


        • Если уровень электролита ниже минимально допустимого, добавьте в каждый элемент дистиллированную воду. Затем зарядите аккумуляторную батарею и проверьте плотность электролита.

          Номинальная плотность электролита
          1,25–1,29 при 20°C (68°F)
        • Если уровень электролита выше минимально допустимого, измерьте напряжение аккумуляторной батареи во время прокручивания коленчатого вала двигателя. Если напряжение аккумуляторной батареи ниже 9,6 В, зарядите или замените аккумуляторную батарею.

          Tech Tips

          Перед проверкой напряжения аккумуляторной батареи выключите все электрооборудование (фары, электродвигатель вентилятора, обогреватель заднего стекла и т. д.)

    3. Проверьте напряжение.


      1. Выключите зажигание и включите фары на 20–30 с. Это процедура позволит удалить поверхностный заряд с аккумуляторной батареи.

      2. Измерьте напряжение аккумуляторной батареи в соответствии со значениями, приведенными в таблице.

        Номинальное напряжение
        Контакты для подключения диагностического прибора Условие Заданные условия
        Положительный (+) вывод - отрицательный (-) вывод 20°C (68°F) 12,6 - 12,8 В

        Если результат не соответствует требованиям, зарядите или замените аккумуляторную батарею.

  2. ПРОВЕРЬТЕ ВЫВОДЫ АККУМУЛЯТОРНОЙ БАТАРЕИ


    1. Убедитесь, что выводы аккумуляторной батареи надежно закреплены и не покрыты окисной пленкой.

      Если контакт ослаблен или поврежден коррозией, затяните или очистите его.

      Torque:
      Положительный (+) вывод аккумуляторной батареи
      6,9 Н*м  { 70 кгс*см, 60 фунт-сила-дюймов }
      Отрицательный (-) вывод аккумуляторной батареи
      5,4 Н*м  { 55 кгс*см, 48 фунт-сила-дюймов }
  3. ПРОВЕРЬТЕ ПЛАВКИЕ ПРЕДОХРАНИТЕЛИ


    1. Измерьте сопротивление всех предохранителей системы зарядки.

      Tech Tips

      Предохранители, связанные с системой зарядки, показаны на схеме системы.

      Номинальное сопротивление
      Менее 1 Ом

      • Если результат не соответствует требованиям, замените предохранитель.

  4. ПРОВЕРЬТЕ ПОЛИКЛИНОВОЙ РЕМЕНЬ

    Click here

  5. ПРОВЕРЬТЕ ПРОВОДА, ПОДСОЕДИНЕННЫЕ К ГЕНЕРАТОРУ


    1. Осмотрите провода, подсоединенные к генератору.


      1. Убедитесь, что проводка исправна.

  6. УБЕДИТЕСЬ В ОТСУТСТВИИ НЕТИПИЧНЫХ ШУМОВ


    1. Прислушайтесь, не издает ли генератор нетипичные шумы.


      1. Убедитесь, что при работающем двигателе генератор не издает нетипичных шумов.

        При наличии шума перейдите к таблице признаков неисправностей (см. стр. Click here).

  7. ПРОВЕРЬТЕ КОНТРОЛЬНУЮ ЛАМПУ ЗАРЯДА


    1. Включите зажигание (IG). Убедитесь, что загорелась контрольная лампа аварийного состояния заряда аккумуляторной батареи.

    2. Запустите двигатель и убедитесь, что контрольная лампа заряда гаснет.

      Если контрольная лампа заряда не работает должным образом, выполните диагностику контрольной лампы заряда (см. стр. Click here).

  8. ПРОВЕРЬТЕ ЦЕПЬ ЗАРЯДКИ БЕЗ НАГРУЗКИ


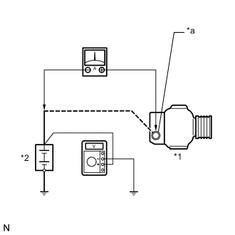
    1. A01W5ETE23
      Обозначения на рисунке
      *1 Генератор в сборе
      *2 Аккумуляторная батарея
      *a Контакт B

      Подсоедините вольтметр и амперметр к цепи зарядки, как указано ниже.

      Tech Tips

      При наличии прибора для проверки аккумуляторной батареи/генератора подключите его к цепи зарядки в соответствии с указаниями изготовителя.


      1. Отсоедините провод от вывода B генератора и подключите его к отрицательному (-) щупу амперметра.

      2. Подсоедините положительный подводящий провод (+) амперметра к контакту B генератора.

      3. Подсоедините положительный (+) вывод вольтметра к положительному (+) выводу аккумуляторной батареи.

      4. Отрицательный подводящий провод (-) вольтметра подключите к массе.

    2. Проверьте цепь зарядки.


      1. Поддерживая частоту вращения коленчатого вала двигателя на уровне 2000 об/мин, проверьте показания амперметра и вольтметра.

        Номинальный ток
        10 A или более
        Номинальное напряжение
        12,1-15,4 В

        Если результат проверки не отвечает требованиям, отремонтируйте или замените генератор.

  9. ПРОВЕРЬТЕ ЦЕПЬ ЗАРЯДКИ С НАГРУЗКОЙ


    1. При двигателе, работающем с частотой вращения коленчатого вала 2000 об/мин, включите фары дальнего света и установите переключатель вентилятора отопителя в положение "HI".

    2. Проверьте показание амперметра.

      Номинальный ток
      30 А или более

      Если результат проверки не отвечает требованиям, отремонтируйте или замените генератор.

      Tech Tips

      Если аккумуляторная батарея заряжена полностью, показание тока иногда может быть меньше номинального. В этом случае увеличьте электрическую нагрузку (включите стеклоочистители, обогреватель заднего стекла и т.д.) и снова проверьте показания амперметра.