ГИДРАВЛИЧЕСКИЙ КЛАПАН ИЗМЕНЕНИЯ ФАЗ УСТАНОВКА

ПОРЯДОК ВЫПОЛНЕНИЯ


  1. УСТАНОВИТЕ ГИДРАВЛИЧЕСКИЙ КЛАПАН ИЗМЕНЕНИЯ ФАЗ В СБОРЕ


    1. A01VZ4HE26
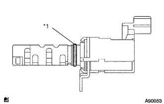
      Обозначения на рисунке
      *1 Новое кольцевое уплотнение

      Нанесите тонкий слой моторного масла на 4 новых кольцевых уплотнения и установите их на 4 гидравлических клапана изменения фаз в сборе.

    2. Установите 4 гидравлических клапана изменения фаз и закрепите их 4 болтами.

      Torque:
      10 Н*м  { 102 кгс*см, 7 фунт-сила-футов }

      Note


      • Соблюдайте осторожность, чтобы на уплотнительную поверхность гидравлического клапана изменения фаз не попали посторонние частицы (поверхность соприкосновения с крышкой головки блока цилиндров).

      • При установке гидравлического клапана изменения фаз убедитесь, что на кольцевом уплотнении отсутствуют трещины, и следите за тем, чтобы оно не сместилось.

    3. Подсоедините 4 разъема гидравлического клапана изменения фаз.

  2. ПОДСОЕДИНИТЕ ЖГУТ ЭЛЕКТРОПРОВОДКИ ДВИГАТЕЛЯ


    1. Установите 2 кронштейна жгутов проводов и закрепите их 2 болтами.

      Torque:
      8,0 Н*м  { 82 кгс*см, 71 фунт-сила-дюйм }
    2. Подсоедините 3 зажима жгутов проводов.

  3. УСТАНОВИТЕ РАСШИРИТЕЛЬНЫЙ БАЧОК НА ВПУСКЕ ВОЗДУХА В СБОРЕ

    стр. Click here.