СИСТЕМА НАВИГАЦИИ / МУЛЬТИИНФОРМАЦИОННАЯ СИСТЕМА


  1. ФУНКЦИИ


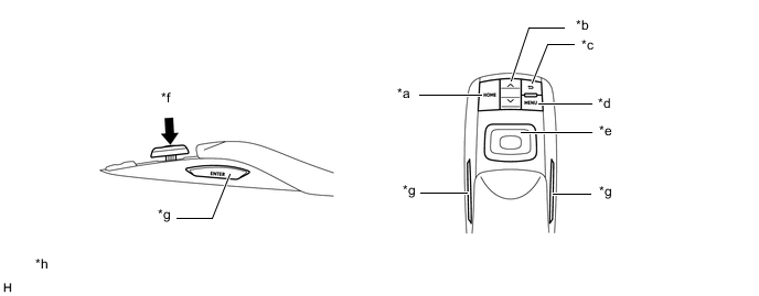
    1. Сенсорный пульт дистанционного управления содержит кнопочный переключатель и переключатели.

      A01VYOOC01
      *a Кнопка HOME *b Качающийся переключатель
      *c Переключатель Back (назад) *d Переключатель MENU
      *e Кнопочный переключатель *f Переключатель Enter (Ввод)
      *g Переключатель ENTER - -
      *i Рисунки приведены только для примера. Изображения могут отличаться от реальных экранов автомобиля. - -
    2. Кнопочный переключатель пульта включает ручку управления и 2 электродвигателя, которые обеспечивают регулирование по 2 осям в продольном и поперечном направлениях.


      • 2 электродвигателя создают усилие обратной связи в соответствии с расположением кнопок и пиктограмм на экране, обеспечивая ощущение "щелчка" при управлении.

        A01VY9PE01
      • 2 электродвигателя создают усилие обратной связи 3 типов (сопротивление, пиктограммы, рамка). Перекрывающиеся усилия обратной связи складываются.

        Усилие обратной связи Описание
        Сопротивление Усилие обратной связи, которое накладывается на управление кнопочным переключателем, создается пропорционально скорости нажатия кнопочного переключателя. Сопротивление на экране карты больше, чем на других экранах (MENU и т.д.)*.
        Пиктограмма Создается усилие, подтягивающее указатель к центру установленной зоны (рядом с пиктограммой).
        Рамка Создаваемое усилие перемещает указатель внутрь экрана, когда указатель находится рядом с краем экрана.

        *: при использовании функции многофункционального дисплея (отображении нескольких экранов) сопротивление создается вдоль границ экранов многофункционального дисплея.

        A01VYB0E01
  2. ПРИНЦИП РАБОТЫ


    1. При нажатии кнопочного переключателя сенсорного пульта дистанционного управления на экране многофункционального дисплея (экране карты и т. д.) появляется указатель. Когда указатель перемещается над пиктограммой, она выделяется.

    2. На других экранах, отличных от экрана карты, при нажатии кнопочного переключателя сенсорного пульта дистанционного управления генерируется усилие обратной связи, перетягивающее кнопочный переключатель по направлению к ближайшей пиктограмме, и ближайшая пиктограмма подсвечивается.

      A01VZ06E01
      *1 Переключатель Enter (Ввод)
      *2 Переключатель "ВВОД" (ENTER)
      *3 Когда указатель перемещается к пиктограмме, указатель притягивается к этой пиктограмме. Нажатие кнопочного переключателя сенсорного пульта дистанционного управления или кнопки "ВВОД" приводит к выбору выделенной пиктограммы.
    3. С помощью сенсорного пульта дистанционного управления можно настроить усилие обратной связи при выборе пиктограммы.

    4. Для информирования пользователя о выборе другой пиктограммы и подтверждения операции подаются звуковые сигналы 3 типов (звук выбора, звук указателя и звук ошибки) в соответствии с рабочими условиями. Можно по отдельности включать/выключать звуковой сигнал каждого типа.