БЛОК ДВИГАТЕЛЯ


  1. КОНСТРУКЦИЯ


    1. Крышка головки блока цилиндров


      1. Используется облегченная высокопрочная крышка головки блока цилиндров, изготавливаемая из алюминия.

      2. Внутрь крышки головки блока цилиндров устанавливается маслоподводящая трубка. Это обеспечивает смазывание скользящих деталей рычагов привода клапанов № 1 и, тем самым, повышает надежность.

      3. В канал для картерных газов внутри крышки головки блока цилиндров встроен маслоотделитель (кожух вентиляции в сборе). Он отделяет моторное масло от картерных газов, препятствуя ухудшению характеристик и снижая расход моторного масла.

      4. Для изготовления прокладки крышки головки блока цилиндров применяется акриловый каучук, характеризующийся превосходной теплостойкостью и надежностью.

      5. Гидравлический клапан изменения фаз в сборе установлен в крышке головки блока цилиндров в сборе. Это упрощает конструкцию масляного канала.

        A01VYGXE02
        Обозначения на рисунке
        *1 Крышка головки блока цилиндров *2 Прокладка крышки головки блока цилиндров
        *a Вид снизу *b Маслоподводящая трубка
    2. Головка блока цилиндров в сборе


      1. Конструкция головки блока цилиндров упрощена за счет разделения шейки распредвала (кожуха распредвала) и головки блока цилиндров.

      2. Головка блока цилиндров в сборе изготавливается из алюминия и имеет шатровые камеры сгорания. Свеча зажигания располагается в центре камеры сгорания, в результате чего обеспечивается улучшение детонационной характеристики двигателя.

      3. Для улучшения детонационной характеристики и повышения эффективности впуска используется камера сгорания с конической зоной завихрения. Кроме того, за счет этого улучшаются рабочие характеристики двигателя, и повышается экономия топлива.

      4. Чтобы оптимизировать расход воздуха на впуске, применяются топливные форсунки с удлиненными соплами для впрыска во впускные каналы, которые имеют выступающую конструкцию. Кроме того, угол впрыска топлива и форма канала оптимизированы для уменьшения прилипания топлива, что обеспечивает низкий расход топлива и низкую токсичность отработавших газов.

      5. Оптимизирована форма впускного канала, что увеличивает смешанный поток и поток воздуха в камеру сгорания, способствуя повышению мощности двигателя и снижению расхода топлива.

      6. Оптимизирована форма выпускного канала, что упрощает выпуск отработанных газов из двигателя и увеличивает его мощность.

      7. Механизмы регулировки зазора в приводе клапанов установлены в верхней части головки блока цилиндров, что позволило получить конструкцию, в которой канал подачи масла к механизмам регулировки зазора в приводе клапанов объединен с внутренней частью головки блока цилиндров.

      8. Увеличен диаметр впускных и выпускных клапанов, что дало возможность получить большую мощность двигателя.

      9. Форма водяной рубашки оптимизирована для снижения температуры деталей камеры сгорания и сведения к минимуму разницы между температурами цилиндров. Эти два улучшения позволили добиться высокой степени сжатия, что обеспечивает высокий крутящий момент, высокую мощность двигателя и низкий расход топлива.

      10. Для улучшения следующих характеристик вокруг выпускных отверстий установлена вспомогательная водяная рубашка:


        • Производительность подогревателя в связи с улучшением характеристик прогрева

        • Снижение расхода топлива в связи с уменьшением трения

          A01VYNQE02
          Обозначения на рисунке
          *1 Крышка подшипника распредвала *2 Кожух распредвала в сборе
          *3 Головка блока цилиндров в сборе *4 Выпускной клапан
          *5 Впускной клапан - -
          *a Вид снизу *b Сечение A - A
          *c Отверстие для свечи зажигания *d Со стороны выпуска
          *e Со стороны впуска *f Коническая зона завихрения
    3. Прокладка головки блока цилиндров


      1. Используется трехслойная металлическая прокладка головки блока цилиндров.

      2. Поверхность прокладки головки блока цилиндров покрывается фторкаучуком, что обеспечивает высокий уровень надежности.

        A01VYNZE02
        Обозначения на рисунке
        *1 Прокладка головки блока цилиндров - -
        *a Сечение A - A *b Резина
        B001IZ8 Передняя часть двигателя - -
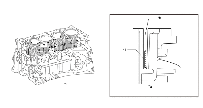
    4. Блок цилиндров в сборе


      1. Применен компактный облегченный алюминиевый блок цилиндров с расстоянием 11 мм (0,433 дюйма) между отверстиями цилиндров.

      2. Между отверстиями цилиндров предусмотрены каналы охлаждающей жидкости. Благодаря такой конструкции, позволяющей охлаждающей жидкости перетекать между отверстиями цилиндров, поддерживается одинаковая температура стенок цилиндров.

      3. Чтобы улучшить сцепление гильз с головкой блока цилиндров, применяются шероховатые гильзы, изготовленные таким образом, что их литые наружные стороны образуют большую неровную поверхность. Улучшенное сцепление обеспечивает повышение теплопередачи, в результате чего снижается общая температура, и ослабляется тепловая деформация отверстий цилиндров.

      4. В стенках шеек № 1 и № 4 сделано большее отверстие сапуна. В результате уменьшено трение, и улучшены рабочие характеристики.

      5. Оптимизирована основная конструкция двигателя, включая толщину стенок цилиндров, глубину водяных рубашек и ребра блока цилиндров. В результате удалось уменьшить отклонение диаметра цилиндра от круглой формы, сократить трение и снизить расход топлива.

      6. Поперечная гравировка и полировка поверхности гильзы цилиндра производятся по углом 15°, что улучшает маслоудержание внутри отверстия цилиндра. Это снижает трение между цилиндром и поршнем и, как следствие, способствует уменьшению расхода топлива.

      7. В целях уменьшения детонации оптимизированы форма ребер и положение/форма датчика детонации.

        A01VZ3QE02
        Обозначения на рисунке
        *1 Блок цилиндров в сборе *2 Картер с ребрами жесткости в сборе
        *a Отверстие цилиндра *b Шероховатая гильза (шероховатая наружная поверхность литой гильзы)
        *c Поперечная гравировка отверстия *d Сечение A - A
        *e Канал охлаждающей жидкости *f Большее отверстие сапуна
      8. В связи с использованием смещенного коленчатого вала центры отверстий цилиндров смещены на 10 мм (0,39 дюйма) в сторону выпуска по отношению к оси коленчатого вала. За счет этого уменьшается боковое усилие, действующее на стенки цилиндров при максимальном давлении. Как следствие, снижается расход топлива.

        A01VYX5E02
        Обозначения на рисунке
        *a Осевая линия отверстия *b Центр коленчатого вала
        *c Со стороны впуска *d Со стороны выпуска
        *e Максимальное давление *f Смещенный коленчатый вал
        *g Несмещенный коленчатый вал - -
      9. Используется неглубокая водяная рубашка. Связанное с этим сокращение объема охлаждающей жидкости двигателя улучшает характеристику прогрева, что способствует снижению расхода топлива.

      10. Используется распорная деталь водяной рубашки блока цилиндров, имеющая высокую теплостойкость и точную форму.

      11. В водяной рубашке блока цилиндров используется распорная деталь водяной рубашки блока цилиндров.

      12. Распорная деталь водяной рубашки блока цилиндров блокирует поток охлаждающей жидкости в нижней части водяной рубашки, направляя жидкость в верхнюю часть водяной рубашки, и обеспечивает равномерное распределение температуры. Это позволяет снизить вязкость моторного масла, которое выполняет функцию смазки между стенками отверстий и поршнями, и, тем самым, уменьшить трение. Кроме того, впуск охлаждающей жидкости с левой стороны отверстия цилиндра № 1 закрыт, что предотвращает чрезмерное охлаждение отверстия цилиндра № 1.

        A01VYKWE02
        Обозначения на рисунке
        *1 Распорная деталь водяной рубашки блока цилиндров - -
        *a Сечение A - A *b Водяная рубашка
    5. Картер с ребрами жесткости в сборе


      1. Используется литой алюминиевый картер с ребрами жесткости, отличающийся малой массой и высокой прочностью. Этот узел объединен с блоком цилиндром, что повышает жесткость соединения с трансмиссией и снижает уровень вибрации и шума, которые передаются в салон автомобиля.

      2. В картере с ребрами жесткости предусмотрены каналы для слива масла. Это предотвращает взбивание моторного масла коленчатым валом, благодаря чему снижается сопротивление вращению.

      3. В картере с ребрами жесткости предусматривается канал подачи картерных газов в маслоотделитель. Кроме того, канал имеет лабиринтную структуру для отделения масляного тумана из картерных газов, сокращая тем самым расход масла.

      4. Канал для масла высокого давления, задний стопор сальника, кронштейн масляного фильтра и задняя торцевая крышка объединены с картером с ребрами жесткости в сборе, что позволило уменьшить массу и размеры двигателя.

        A01VYMPE02
        Обозначения на рисунке
        *1 Картер с ребрами жесткости в сборе - -
        *a Канал для масла *b Канал картерных газов
        *c Канал слива масла *d Держатель заднего сальника
        *e Задняя торцевая крышка *f Кронштейн масляного фильтра
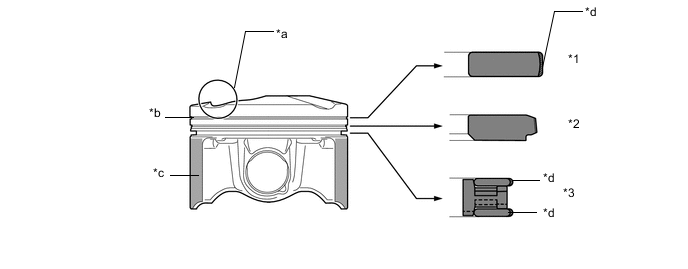
    6. Поршень


      1. Поршни изготавливаются из алюминиевого сплава, придающего им легкость и компактность.

      2. Головка блока цилиндров имеет коническую завихряющую форму, обеспечивающую эффективное сгорание топлива.

      3. Для снижения потерь на трение на юбки поршней нанесено пластмассовое покрытие.

      4. Чтобы обеспечить сопротивление абразивному изнашиванию, канавка компрессионного кольца № 1 покрывается алюмитом.

      5. Для снижения трения и уменьшения расхода топлива применяются поршневые кольца низкого напряжения.

      6. Для снижения трения и массы конструкции применяются узкие поршневые кольца.

      7. Поверхность компрессионного кольца № 1 имеет алмазоподобное углеродное (DLC) покрытие, что улучшает износостойкость.

      8. Компрессионное кольцо № 1 со скосом на внутренней поверхности обеспечивает повышение рабочих характеристик двигателя.

      9. Стальное компрессионное кольцо № 2 повышает износостойкость.

      10. На внутренней поверхности направляющей маслосъемного кольца выполнена канавка, что облегчает выпуск моторного масла и уменьшает его расход.

        A01VYSBE02
        Обозначения на рисунке
        *1 Компрессионное кольцо № 1 *2 Компрессионное кольцо № 2
        *3 Маслосъемное кольцо - -
        *a Коническая завихряющая форма *b Алюмитовое покрытие
        *c Полимерное покрытие *d Покрытие DLC
    7. Шатун и подшипник шатуна


      1. Для снижения массы используются кованые высокопрочные шатуны.

      2. Для минимизации смещения крышек шатунов во время сборки на сопрягаемых поверхностях крышек шатунов установлены штифты.

      3. Для повышения надежности используется втулка малого конца, изготовленная из материала, способного выдерживать высокое давление.

      4. Крепление шатунов в сборе осуществляется с помощью удлиняющихся при затяжке стягивающих болтов.

      5. Подшипники шатунов изготавливаются из алюминия.

      6. Подшипники шатунов изготавливаются из алюминия и имеют полимерное покрытие. Для уменьшения трения снижена ширина подшипников шатунов.

      7. Для защиты окружающей среды шатуны, втулки малых концов, подшипники шатунов и болты шатунов изготовлены из материалов, не содержащих свинца.

        A01VYU6E02
        Обозначения на рисунке
        *1 Шатун в сборе *2 Удлиняющийся при затяжке стягивающий болт
        *3 Подшипник шатуна - -
        *a Штифт - -
        A01VYVL Полимерное покрытие - -
    8. Коленчатый вал


      1. Коленчатый вал изготавливается из кованой стали, характеризующейся превосходной прочностью и износостойкостью.

      2. Он имеет 5 коренных шейки и 8 противовесов.

      3. На коленчатом валу установлена приводная шестерня уравновешивающего вала.

        A01VYSZE02
        Обозначения на рисунке
        *a Шейка коренного подшипника № 1 *b Шейка коренного подшипника № 2
        *c Шейка коренного подшипника № 3 *d Шейка коренного подшипника № 4
        *e Шейка коренного подшипника № 5 *f Приводная шестерня уравновешивающего вала
        *g Противовес - -
    9. Подшипник коленвала


      1. Для ослабления утечки масла из подшипника смазочная канавка на подшипнике коленчатого вала сделана эксцентричной. Это позволило уменьшить производительность масляного насоса для снижения паразитных потерь.

      2. Подшипники коленчатого вала изготавливаются из алюминия и имеют полимерное покрытие. Для уменьшения трения снижена ширина подшипников коленчатого вала.

      3. Для защиты окружающей среды для изготовления коленчатого вала и подшипника коленчатого вала используются материалы, которые не содержат свинца.

        A01VY84E01
        Обозначения на рисунке
        *1 Верхний коренной подшипник (подшипник коленчатого вала) *2 Нижний коренной подшипник (подшипник коленчатого вала)
        *a Смазочная канавка *b По центру
        *c Край *d Глубина смазочной канавки
        A01VYVL Полимерное покрытие - -
    10. Уравновешивающий вал


      1. Для ослабления вибрации используется балансировочный узел двигателя. Для ослабления вибрации используется балансировочный узел двигателя. Оптимизирована внутренняя масса груза в балансировочном узле двигателя, что обеспечивает глушение шума в салоне автомобиля.

      2. Коленчатый вал напрямую приводит в движение уравновешивающий вал № 1.

      3. Кроме того, с ведомой стороны устанавливается полимерное зубчатое колесо, что обеспечивает подавление шума и облегчение конструкции.

      4. Балансировочный узел двигателя отделен от картера с ребрами жесткости в сборе, что упрощает его обслуживание. Кроме того, балансировочный узел двигателя закреплен на высокопрочном блоке цилиндров через картер с ребрами жесткости с помощью болтов, что уменьшает массу картера с ребрами жесткости в сборе, шум и вибрацию.

        A01VYDYE01
        Обозначения на рисунке
        *1 Коленчатый вал *2 Кожух уравновешивающего вала № 2
        *3 Уравновешивающий вал № 2 *4 Уравновешивающий вал № 1
        *5 Кожух уравновешивающего вала № 1 - -
        *a Приводная шестерня уравновешивающего вала *b Полимерное зубчатое колесо
        *c Ведомая шестерня уравновешивающего вала (полимерное зубчатое колесо) - -
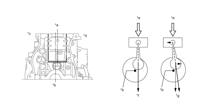
      5. В рядном 4-цилиндровом двигателе угол поворота коленчатого вала для цилиндров № 1 и № 4 строго противоположен (180°) положению цилиндров № 2 и № 3. Таким образом, силы инерции поршней и шатунов первых 2 цилиндров и последних 2 цилиндров почти компенсируют друг друга. Однако так как положение, в котором поршень достигает максимальной скорости, смещено относительно середины хода к верхней мертвой точке, направленная вверх сила инерции превышает силу инерции, направленную вниз. Эта неуравновешенная сила инерции второго порядка создается дважды при каждом обороте коленчатого вала.

        A01VZ2HE02
        Обозначения на рисунке (сила инерции, создаваемая 4-мя цилиндрами рядного расположения)
        *a Верхняя мертвая точка *b Положение макс. скорости
        *c Нижняя мертвая точка *d Силы инерции цилиндров № 2 и № 3
        *e Суммарная сила инерции всех цилиндров (неуравновешенная сила инерции второго порядка) *f Силы инерции цилиндров № 1 и № 4
        *g Усилие *h Угол поворота коленчатого вала
        *i Сила инерции, которую нельзя устранить *j -180°
        *k -90° *l
        *m 90° *n 180°
        *o 270° - -
      6. Чтобы нейтрализовать неуравновешенную силу инерции второго порядка, предусмотрены 2 уравновешивающих вала, которые совершают 2 оборота на каждый оборот коленчатого вала. За счет этого они создают силу инерции в противоположном направлении. Кроме того, чтобы компенсировать силу инерции, создаваемую самими уравновешивающими валами, фактически имеются 2 вала, вращающихся в противоположных направлениях.

        A01VYNIE10
        Обозначения на рисунке (сила инерции, создаваемая балансировочными валами:)
        *a *b 90°
        *c 180° *d 270°
        *e Сила инерции, создаваемая уравновешивающими валами *f Угол поворота коленчатого вала
        *g Сила инерции второго порядка *h Ориентация инерционной массы уравновешивающего вала
    11. Клапанный механизм


      1. Для повышения теплового КПД используется цикл с высокой степенью теплового расширения (цикл Аткинсона).

      2. Со стороны впуска используется электронная система изменения фаз газораспределения с расширенным диапазоном (VVT-iW) и промежуточным механизмом блокировки, которая оптимально управляет распредвалом впускных клапанов (распредвалом), регулируя фазы газораспределения в соответствии с условиями движения.

      3. Со стороны выпуска используется электронная система изменения фаз газораспределения (VVT-i), которая оптимально управляет распредвалом выпускных клапанов (распредвалом № 2), регулируя фазы газораспределения в соответствии с условиями движения.

        A01VYFTE07
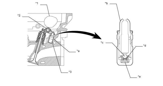
      4. Рычаг привода клапанов № 1 в сборе используется в качестве клапанного механизма, и за счет уменьшения размеров одновременно с существенным снижением трения между скользящими деталями и кулачками обеспечивается снижение расхода топлива. Кроме того, используется гидравлический механизм регулировки зазора в приводах клапанов, управляемый давлением масла, чтобы исключить необходимость регулировки зазоров в клапанном механизме и снизить требования к обслуживанию.

      5. Клапанная пружина (внутренняя пружина сжатия), верхняя часть которой имеет форму улья, используется для уменьшения инерционной массы. В результате снижаются нагрузка на клапанную пружину (внутреннюю пружину сжатия) и трение.

        A01VYJXE02
        Обозначения на рисунке
        *1 Зубчатое колесо распредвала в сборе *2 Направляющая цепного привода газораспределительного механизма
        *3 Распредвал впускных клапанов (распредвал) *4 Зубчатое колесо распредвала выпускных клапанов в сборе
        *5 Распредвал выпускных клапанов (распредвал № 2) *6 Башмак натяжителя цепи
        *7 Натяжитель цепи № 1 в сборе *8 Цепь в сборе
        *9 Рычаг привода клапана № 1 *10 Механизм регулировки зазора в приводе клапана в сборе
        *11 Клапанная пружина (внутренняя пружина сжатия) *12 Клапан
    12. Фазы газораспределения

      Распредвал впускных клапанов Открыто от -30 до 50° до верхней мертвой точки
      Закрыто 110-30° после НМТ
      Распредвал выпускных клапанов Открыто 60-5° до НМТ
      Закрыто 0-55° после ВМТ
      A01VYRZE02
    13. Распредвал


      1. Распредвалы изготавливаются из чугунного сплава.

      2. Чтобы обеспечить подачу моторного масла в системы VVT-iW и VVT-i, в распредвале (впускных клапанов) и распредвале № 2 (выпускных клапанов) предусмотрены каналы для масла.

      3. Для изменения фаз газораспределения впускных и выпускных клапанов в передней части распредвала впускных клапанов и распредвала выпускных клапанов (распредвала № 2) установлен контроллер VVT-i (зубчатое колесо распредвала или зубчатое колесо распредвала выпускных клапанов).

      4. Наряду с использованием рычагов привода клапанов № 1 в сборе изменен профиль кулачков. Это привело к увеличению высоты подъема клапана в момент открывания и по окончании закрывания и, как следствие, к улучшению рабочих характеристик.

      5. В задней части распредвала впускных клапанов (распредвала) и распредвала выпускных клапанов (распредвала № 2) имеется датчик положения распредвала. Кроме того, кулачок привода топливного насоса установлен на распредвале впускных клапанов и, как следствие, уменьшены размеры двигателя.

      6. Кулачок, управляющий топливным насосом (высокого давления), находится прямо над цилиндром № 4 распредвала впускных клапанов (распредвала) для уменьшения размеров. Кроме того, используется кулачок насоса с 4 выступами, который приводит в действие топливный насос (высокого давления), и за счет синхронизации давления подаваемого топлива и моментов впрыска топлива уменьшается разность давлений между цилиндрами.

      7. Вакуумный насос приводится в движение концом распредвала выпускных клапанов (распредвала № 2).

        A01VYPRE02
        Обозначения на рисунке
        *1 Зубчатое колесо распредвала в сборе *2 Распредвал впускных клапанов (распредвал)
        *3 Зубчатое колесо распредвала выпускных клапанов в сборе *4 Распредвал выпускных клапанов (распредвал № 2)
        *a Кулачок (для привода топливного насоса) *b Задающий ротор
        *c Измененная часть профиля кулачка - -
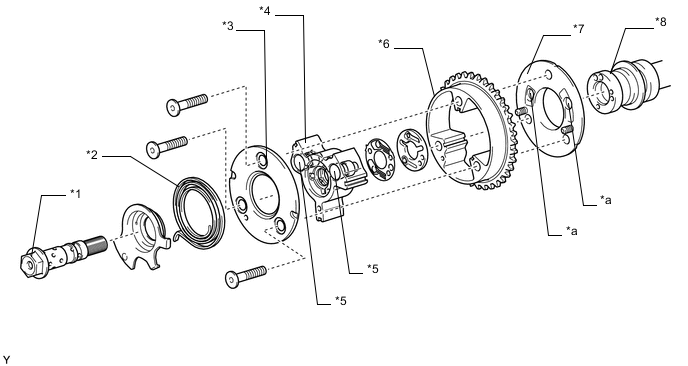
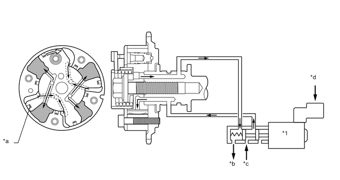
    14. Зубчатое колесо распредвала в сборе


      1. На впуске устанавливается контроллер VVT-iW с 4-лопастным направляющим элементом (зубчатое колесо распредвала).

      2. Фиксацию направляющего элемента в течение промежуточной фазы рабочего диапазона VVT-iW обеспечивают 2 стопорных штифта.

      3. Чтобы вернуть направляющий элемент в промежуточную фазу в ответ на колебания крутящего момента распредвала (распредвала впускных клапанов) с целью надежного введения в зацепление 2 стопорных штифтов, применяется вспомогательная пружина, которая усиливает крутящий момент в направлении опережения. В результате обеспечивается надлежащая пусковая характеристика двигателя при запуске (во время прокручивания коленчатого вала) последнего после остановки в положении запаздывания.

      4. В гидравлический клапан изменения фаз встроен болт зубчатого колеса распредвала, который крепит направляющий элемент к распредвалу (распредвалу впускных клапанов). Как следствие, длина регулируемого масляного канала уменьшается, что улучшает реакцию и работу при низких температурах. Гидравлический клапан изменения фаз переключает масляный канал под действием электромагнитного гидравлического клапана изменения фаз. Управление переключением масляного канала осуществляется путем непрерывного изменения фазы газораспределения распредвала (распредвала впускных клапанов).

      5. Гидравлический клапан изменения фаз имеет конструкцию, которая позволяет независимо (независимо от регулирования опережения и регулирования запаздывания) управлять моментами введения в зацепления и освобождения 2 стопорных штифтов. Благодаря этому операция фиксации может выполняться в течение промежуточной фазы рабочего диапазона VVT-iW.

        A01VYQ6E03
        Обозначения на рисунке (контроллер VVT-iW (зубчатое колесо распредвала в сборе)):
        *1 Болт зубчатого колеса распредвала *2 Вспомогательная пружина
        *3 Передняя крышка зубчатого колеса распредвала *4 Направляющий элемент (зафиксирован на распредвале (распредвале впускных клапанов))
        *5 Стопорный штифт *6 Корпус (звездочка)
        *7 Задняя крышка зубчатого колеса распредвала *8 Распредвал впускных клапанов (распредвал)
        *a Канавка храповика - -
        A01VYT6E04
        Обозначения на рисунке (стопорный штифт):
        *a Стопорный штифт введен в зацепление *b Стопорный штифт отпущен
        *c Наружный штифт *d Внутренний штифт
        *e Канавка храповика - -
        B001IZ8 Моторное масло - -
        A01VYVYE03
        Обозначения на рисунке (болт зубчатого колеса распредвала (встроен в гидравлический клапан изменения фаз)):
        *a Слив *b К полости направляющего элемента со стороны опережения
        *c К полости направляющего элемента со стороны запаздывания *d Моторное масло
        *e К стопорному штифту *f Клапан подачи масла в масляный радиатор
    15. Зубчатое колесо распредвала выпускных клапанов в сборе


      1. На выпуске устанавливается контроллер VVT-i с 4-лопастным направляющим элементом (зубчатое колесо распредвала выпускных клапанов).

      2. Когда двигатель останавливается, стопорный штифт фиксирует распредвал выпускных клапанов в положении наибольшего запаздывания, гарантируя надлежащий запуск двигателя.

      3. В контроллере VVT-i (зубчатом колесе распредвала выпускных клапанов) предусмотрена вспомогательная пружина центробежного регулятора опережения, которая помогает создать необходимый крутящий момент в направлении опережения, надежно вводя в зацепление стопорный штифт, когда двигатель остановлен.

      4. ECM регулирует величину давления масла, подаваемого в полости со стороны опережения и со стороны запаздывания внутри контроллера VVT-i (зубчатого колеса распредвала выпускных клапанов), исходя из сигналов от каждого датчика посредством гидравлического клапана изменения фаз, смонтированного на крышке головки блока цилиндров, и непрерывно изменяет фазы газораспределения распредвала выпускных клапанов (распредвала № 2).

        A01VYBIE03
        Обозначения на рисунке
        *1 Вспомогательная пружина центробежного регулятора опережения *2 Корпус
        *3 Направляющий элемент (закреплен на распредвале выпускных клапанов (распредвале № 2)) *4 Стопорный штифт
        *5 Звездочка *6 Распредвал выпускных клапанов (распредвал № 2)
        *a Когда двигатель остановлен *b Во время работы
        B001IZ8 Давление масла - -
    16. Механизм регулировки зазора в приводе клапана


      1. Механизмы регулировки зазора в приводе клапана в сборе располагаются в центре вращения рычагов привода клапанов № 1 в сборе и состоят, прежде всего, из плунжера, пружины плунжера, запорного шарика и пружины запорного шарика.

      2. Для приведения в действие механизма регулировки зазора используются давление масла, подаваемого из головки блока цилиндров, и встроенная пружина. Давление масла и сила пружины, действующая на плунжер, прижимают роликовый рычаг привода клапана № 1 в сборе к кулачку, регулируя зазор в приводе, создаваемый во время открывания и закрывания клапана. Как следствие, ослабляется шум двигателя.

        A01VZ2UE02
        Обозначения на рисунке
        *1 Кулачок *2 Рычаг привода клапана № 1
        *3 Механизм регулировки зазора в приводе клапана в сборе - -
        *a Канал для масла *b Плунжер
        *c Запорный шарик *d Пружина запорного шарика
        *e Пружина плунжера - -

        Tech Tips

        В связи с применением механизма регулировки зазора регулировать зазор в приводе клапанов не требуется.

    17. Цепь в сборе и натяжитель цепи № 1 в сборе


      1. Применяется роликовая цепь с шагом 9,525 мм (0,375 дюйма).

      2. Для непрерывного поддержания требуемого натяжения цепи натяжитель цепи № 1 использует пружину и давление масла. Натяжитель цепи № 1 подавляет шум, создаваемый цепью в сборе.

      3. Натяжитель цепи № 1 представляет собой невозвратный храповой механизм.

      4. Для повышения удобства технического обслуживания конструкция натяжителя цепи № 1 в сборе позволяет снимать и устанавливать его через технологическое отверстие в крышке цепного привода газораспределительного механизма.

      5. Успокоитель цепи № 1 установлен между звездочками распредвалов со стороны впуска и выпуска, что уменьшает вибрацию цепи между звездочками распредвалов со стороны впуска и выпуска во время работы двигателя, обеспечивая его тихую и надежную работу.

      6. Натяжитель цепи № 1 в сборе установлен с нижней стороны, что делает конструкцию двигателя более компактной.

      7. Колодки башмака натяжителя цепи, успокоителя цепи № 1 и успокоителя цепи № 1 покрыты полимерным материалом с высоким сопротивлением абразивному изнашиванию.

      8. Натяжитель цепи № 1 в сборе снабжен прокладкой (прокладкой натяжителя цепи), что улучшает маслоудержание в маслосборнике, подавляя действие цепи при запуске двигателя. Это делает работу двигателя тише.

        A01VYGFE02
        Обозначения на рисунке
        *1 Цепь в сборе *2 Направляющая цепного привода газораспределительного механизма
        *3 Башмак натяжителя цепи *4 Натяжитель цепи № 1 в сборе
        *5 Успокоитель цепи № 1 - -
    18. Крышка цепного привода газораспределительного механизма в сборе


      1. Применяется литая алюминиевая крышка цепного привода газораспределительного механизма.

      2. Крышка цепного привода газораспределительного механизма имеет совмещенную конструкцию, в которой объединены масляный насос и масляная форсунка цепного привода газораспределительного механизма. Это позволило сократить количество деталей и, как следствие, уменьшить вес.

      3. Крышка цепного привода газораспределительного механизма имеет конструкцию, которая позволяет устанавливать электромагнитный гидравлический клапан изменения фаз для управления VVT-iW.

      4. Для повышения удобства технического обслуживания на крышке цепного привода газораспределительного механизма в сборе предусмотрены технологические отверстия для натяжителя цепи № 1 в сборе и зубчатого колеса распредвала в сборе.

      5. Расположение ребер жесткости на задней стороне крышки цепного привода газораспределительного механизма оптимизировано, что упрощает возврат моторного масла в узел. Также обеспечивается снижение вибрации и шума двигателя.

        A01VYGLE02
        Обозначения на рисунке
        *1 Крышка цепного привода газораспределительного механизма в сборе *2 Электромагнитный гидравлический клапан системы регулирования фаз газораспределения
        *3 Пластина крышки цепного привода газораспределительного механизма *4 Прокладка крышки цепного привода газораспределительного механизма
        *5 Масляный насос - -
        *a Технологическое отверстие *b Вид сзади
        *c Масляная форсунка цепного привода газораспределительного механизма - -
    19. Поликлиновой ремень


      1. Узлы вспомогательного оборудования приводятся в движение ленточным ремнем, который представляет собой отдельный поликлиновой ремень (поликлиновой ремень вентилятора и генератора). В результате снижаются общая длина, масса и количество деталей двигателя.

      2. Автоматический натяжитель поликлинового ремня исключает необходимость в регулировке натяжения.

      3. Требуемое натяжение поликлинового ремня (поликлинового ремня вентилятора и генератора) поддерживается стяжной пружиной, входящей в натяжитель поликлинового ремня в сборе.

        A01VZ1VE02
        Обозначения на рисунке
        *1 Шкив генератора *2 Натяжитель поликлинового ремня в сборе
        *3 Шкив коленчатого вала *4 Шкив компрессора системы кондиционирования
        *5 Шкив насоса системы охлаждения двигателя - -
  2. ПРИНЦИП РАБОТЫ


    1. Зубчатое колесо распредвала в сборе


      1. Опережение


        1. Электромагнитный гидравлический клапан изменения фаз действует в соответствии с сигналом опережения из ECM. Когда гидравлический клапан изменения фаз достигает положения, показанного на следующем рисунке, на полость направляющего элемента контроллера VVT-iW (зубчатого колеса распредвала) со стороны опережения начинает действовать давление масла, и направляющий элемент внутри контроллера VVT-iW (зубчатого колеса распредвала) поворачивается в направлении опережения. Распредвал (распредвал впускных клапанов), прикрепленный к направляющему элементу, тоже поворачивается в сторону опережения.

          A01VYQJE03
          Обозначения на рисунке
          *1 Электромагнитный гидравлический клапан системы регулирования фаз газораспределения - -
          *a Направляющий элемент *b Полость направляющего элемента со стороны запаздывания
          *c Полость направляющего элемента со стороны опережения *d К полости направляющего элемента со стороны опережения
          *e От полости направляющего элемента со стороны запаздывания *f Слив
          *g Давление масла *h От ECM
          A01VYTO Направление вращения - -
      2. Запаздывание


        1. Электромагнитный гидравлический клапан изменения фаз действует в соответствии с сигналом запаздывания из ECM. Когда гидравлический клапан изменения фаз достигает положения, показанного на следующем рисунке, на полость направляющего элемента контроллера VVT-iW (зубчатого колеса распредвала) со стороны запаздывания начинает действовать давление масла, и направляющий элемент внутри контроллера VVT-iW (зубчатого колеса распредвала) поворачивается в направлении запаздывания. Распредвал (распредвал впускных клапанов), прикрепленный к направляющему элементу, тоже поворачивается в сторону запаздывания.

          A01VYEHE03
          Обозначения на рисунке
          *1 Электромагнитный гидравлический клапан системы регулирования фаз газораспределения - -
          *a Направляющий элемент *b Полость направляющего элемента со стороны запаздывания
          *c Полость направляющего элемента со стороны опережения *d К полости направляющего элемента со стороны опережения
          *e От полости направляющего элемента со стороны запаздывания *f Слив
          *g Давление масла *h От ECM
          A01VYTO Направление вращения - -
      3. Удержание


        1. ECM вычисляет требуемый угол опережения исходя из условий движения и осуществляет управление. После установки требуемых фаз газораспределения последние сохраняются нейтральным гидравлическим клапаном изменения фаз до тех пор, пока не изменятся условия движения. В результате исключается излишний слив моторного масла, когда фазы газораспределения соответствуют требуемому положению.

    2. Зубчатое колесо распредвала выпускных клапанов в сборе


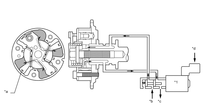
      1. Опережение


        1. Когда гидравлический клапан изменения фаз посредством сигналов опережения, поступающих от ECM, устанавливается, как показано на рисунке ниже, результирующее давление масла подается в полость направляющего элемента со стороны опережения, вызывая вращение распредвала выпускных клапанов (распредвала № 2) в направлении опережения.

          A01VYZZE02
          Обозначения на рисунке
          *1 Гидравлический клапан изменения фаз в сборе - -
          *a Направляющий элемент *b Слив
          *c Давление масла *d От ECM
          A01VYTO Направление вращения - -
      2. Запаздывание


        1. Когда гидравлический клапан изменения фаз посредством сигналов запаздывания, поступающих от ECM, устанавливается, как показано на рисунке ниже, результирующее давление масла подается в полость направляющего элемента со стороны запаздывания, вызывая вращение распредвала выпускных клапанов (распредвала № 2) в направлении запаздывания.

          A01VYW5E02
          Обозначения на рисунке
          *1 Гидравлический клапан изменения фаз в сборе - -
          *a Направляющий элемент *b Давление масла
          *c Слив *d От ECM
          A01VYTO Направление вращения - -
      3. Удержание


        1. ECM вычисляет требуемый угол опережения исходя из условий движения и осуществляет управление. После установки требуемых фаз газораспределения последние сохраняются нейтральным гидравлическим клапаном изменения фаз до тех пор, пока не изменятся условия движения. В результате исключается излишний слив моторного масла, когда фазы газораспределения соответствуют требуемому положению.